DMC:V2500-A1-72-32-22-01A-941A-DIssue No:001.00Issue Date:2014-05-01
Export Control
EAR Export Classification: Not subject to the EAR per 15 C.F.R. Chapter 1, Part 734.3(b)(3), except for the following Service Bulletins which are currently published as EAR Export Classification 9E991: SBE70-0992, SBE72-0483, SBE72-0580, SBE72-0588, SBE72-0640, SBE73-0209, SBE80-0024 and SBE80-0025.Copyright
© IAE International Aero Engines AG (2001, 2014 - 2021) The information contained in this document is the property of © IAE International Aero Engines AG and may not be copied or used for any purpose other than that for which it is supplied without the express written authority of © IAE International Aero Engines AG. (This does not preclude use by engine and aircraft operators for normal instructional, maintenance or overhaul purposes.).Applicability
All
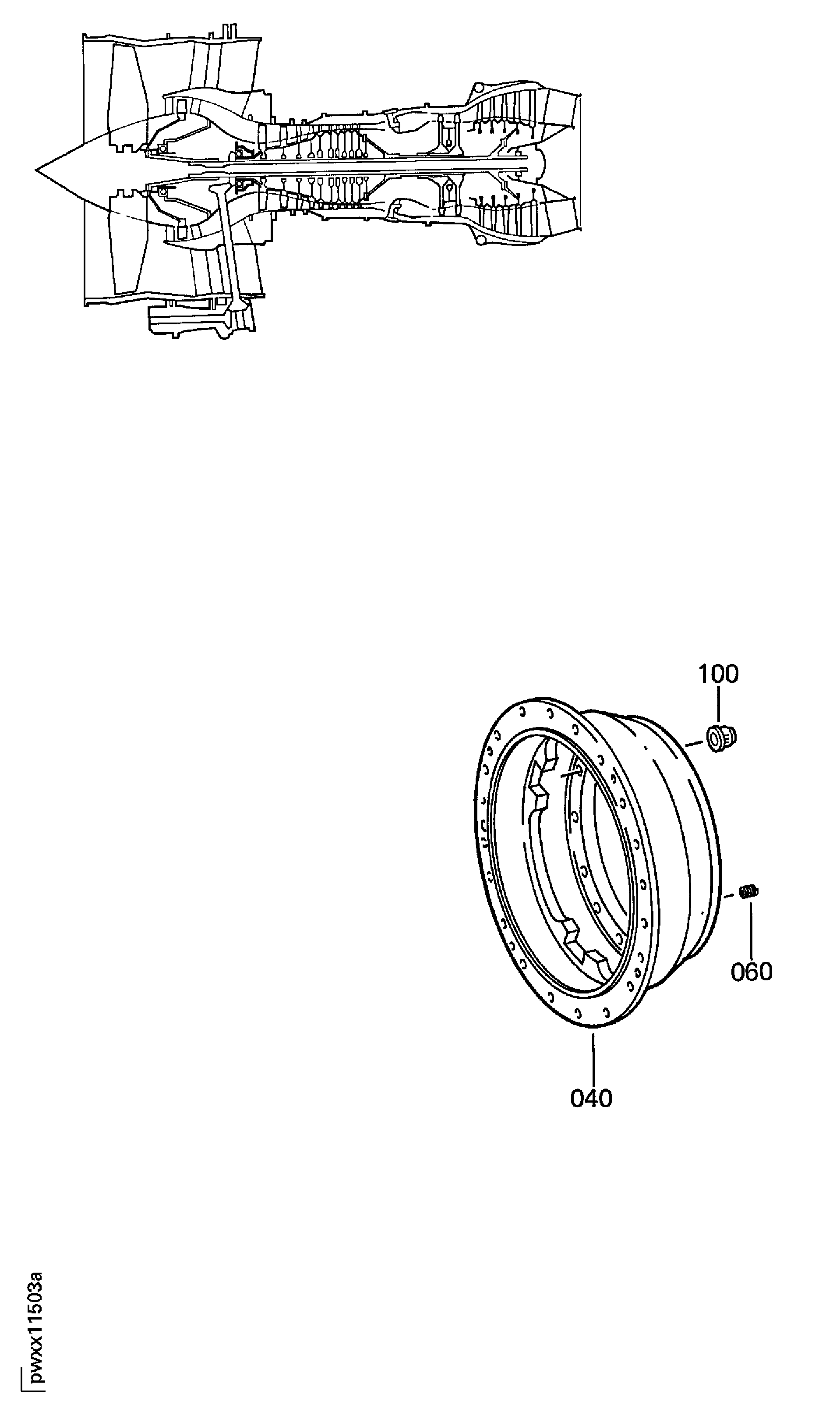
| Fig. Item | Part No. | Description | Effect/Model Applic. | UPA |
|---|---|---|---|---|
| 01 | ||||
| B72322201 | ENGINE-NO.3 BEARING SEAL SUPPORT, PRE SBE70-0481 | aa | ||
| SBE0481-01 | ENGINE-NO.3 BEARING SEAL SUPPORT | ab | ||
| 040 | 2A0421 | • SUPPORT - ASSY,NO3BRG SEAL | aa-ab | 1 |
| 060 | MS21209F4-10 | • • INSERT - SCREW THREAD 96906 | aa-ab | 9 |
| 100 | 4023117 | • NUT - OPTION 77445 PRE SBE70-0481 | aa-ab | 18 |
| 100A | 4023117 | • NUT - OPTION 77445 ALT ST2113-11 POST SBE70-0481 | aa-ab | 18 |
| -100B | ST2113-11 | • NUT - SELF LOCKING 77445 ALT ST2118-11 POST SBE70-0481 | ab | REF |
| -100C | ST2118-11 | • NUT - SELF LOCKING 77445 ALT ST2119-11 POST SBE70-0481 | ab | REF |
| -100D | ST2119-11 | • NUT - SELF LOCKING 77445 ALT 4023117 POST SBE70-0481 | aa | REF |
| - ITEM NOT ILLUSTRATED, ***** EFFECTIVITY NOT AVAILABLE | ||||
Figure: ENGINE-NO.3 BEARING SEAL SUPPORT
NUMBER THREE BEARING SEAL SUPPORT ASSEMBLY

