DMC:V2500-A1-72-32-87-01A-941A-DIssue No:001.00Issue Date:2014-05-01
Export Control
EAR Export Classification: Not subject to the EAR per 15 C.F.R. Chapter 1, Part 734.3(b)(3), except for the following Service Bulletins which are currently published as EAR Export Classification 9E991: SBE70-0992, SBE72-0483, SBE72-0580, SBE72-0588, SBE72-0640, SBE73-0209, SBE80-0024 and SBE80-0025.Copyright
© IAE International Aero Engines AG (2001, 2014 - 2021) The information contained in this document is the property of © IAE International Aero Engines AG and may not be copied or used for any purpose other than that for which it is supplied without the express written authority of © IAE International Aero Engines AG. (This does not preclude use by engine and aircraft operators for normal instructional, maintenance or overhaul purposes.).Applicability
All
| Fig. Item | Part No. | Description | Effect/Model Applic. | UPA |
|---|---|---|---|---|
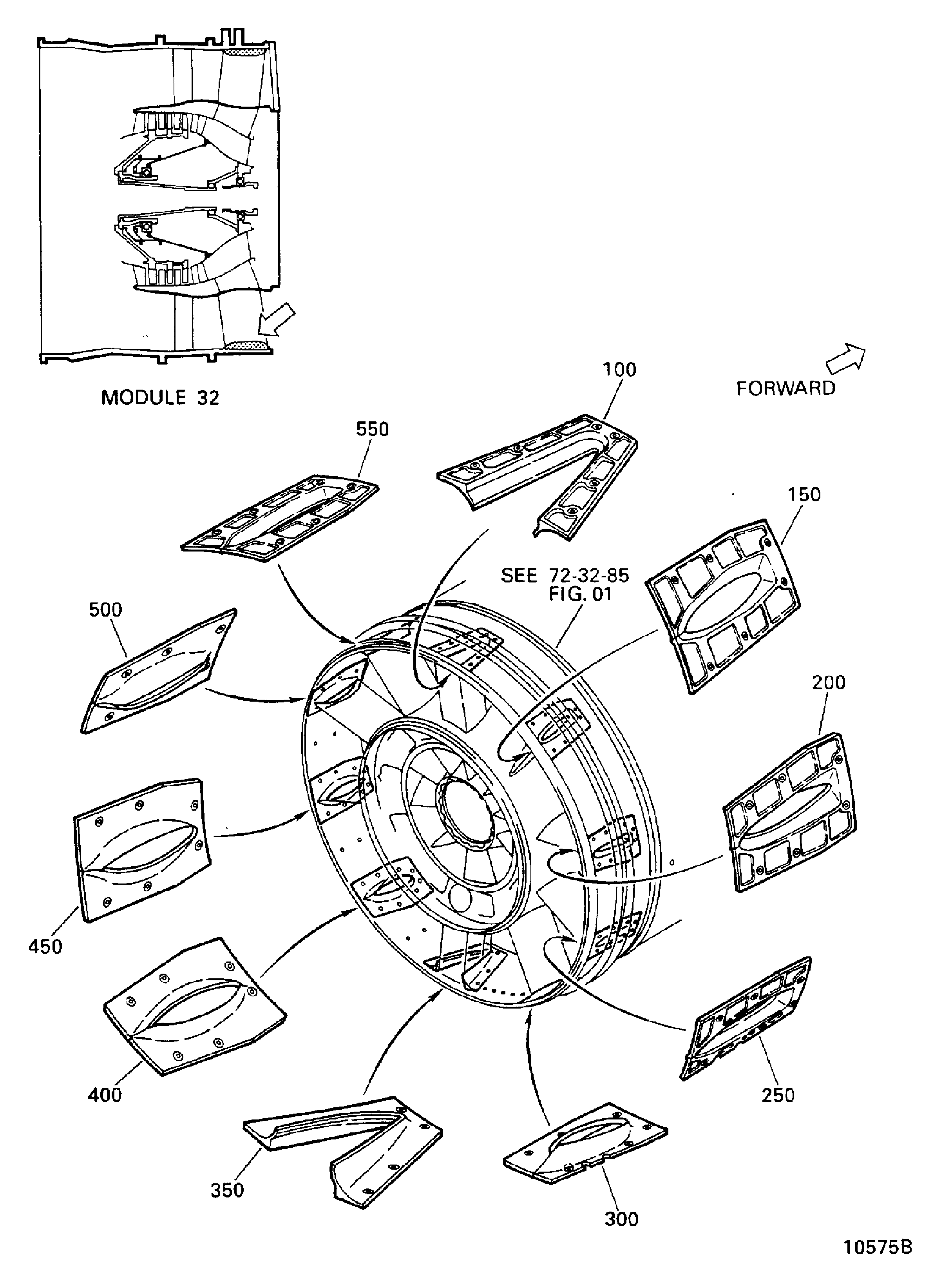
| 01 | ||||
| B72328701 | ENGINE-FAN CASE REAR PANELS, PRE SBE72-0103 | aa | ||
| SBE0103-01 | ENGINE-FAN CASE REAR PANELS, PRE SBE72-0156 | ab | ||
| SBE0156-01 | ENGINE-FAN CASE REAR PANELS | ac | ||
| 100 | 5A2139 | • SEAL - A/O RUBBER PANEL NO.1 PRE SBE72-0103 | aa | 1 |
| 100A | 5A0819 | • SEAL - A/O RUBBER PANEL NO.1 POST SBE72-0103 PRE SBE72-0156 | ab | 1 |
| 100B | 5A1601 | • SEAL - A/O RUBBER PANEL NO.1 POST SBE72-0156 | ac | 1 |
| 150 | 5A2179 | • SEAL - A/O RUBBER PANEL NO.2 PRE SBE72-0103 | aa | 1 |
| 150A | 5A0823 | • SEAL - A/O RUBBER PANEL NO.2 POST SBE72-0103 | ab-ac | 1 |
| 200 | 5A2141 | • SEAL - A/O RUBBER PANEL NO.3 PRE SBE72-0103 | aa | 1 |
| 200A | 5A0824 | • SEAL - A/O RUBBER PANEL NO.3 POST SBE72-0103 | ab-ac | 1 |
| 250 | 5A2142 | • SEAL - A/O RUBBER PANEL NO.4 PRE SBE72-0103 | aa | 1 |
| 250A | 5A0825 | • SEAL - A/O RUBBER PANEL NO.4 POST SBE72-0103 | ab-ac | 1 |
| 300 | 5A2180 | • SEAL - A/O RUBBER PANEL NO.5 PRE SBE72-0103 | aa | 1 |
| 300A | 5A0827 | • SEAL - A/O RUBBER PANEL NO.5 POST SBE72-0103 | ab-ac | 1 |
| 350 | 5A2144 | • SEAL - A/O RUBBER PANEL NO.6 PRE SBE72-0103 | aa | 1 |
| 350A | 5A0828 | • SEAL - A/O RUBBER PANEL NO.6 POST SBE72-0103 | ab-ac | 1 |
| 400 | 5A2181 | • SEAL - A/O RUBBER PANEL NO.7 PRE SBE72-0103 | aa | 1 |
| 400A | 5A0829 | • SEAL - A/O RUBBER PANEL NO.7 POST SBE72-0103 | ab-ac | 1 |
| 450 | 5A2146 | • SEAL - A/O RUBBER PANEL NO.8 PRE SBE72-0103 | aa | 1 |
| 450A | 5A0830 | • SEAL - A/O RUBBER PANEL NO.8 POST SBE72-0103 | ab-ac | 1 |
| 500 | 5A2147 | • SEAL - A/O RUBBER PANEL NO.9 PRE SBE72-0103 | aa | 1 |
| 500A | 5A0831 | • SEAL - A/O RUBBER PANEL NO.9 POST SBE72-0103 | ab-ac | 1 |
| 550 | 5A2182 | • SEAL - A/O RUBBER PANEL NO.10 PRE SBE72-0103 | aa | 1 |
| 550A | 5A0832 | • SEAL - A/O RUBBER PANEL NO.10 POST SBE72-0103 | ab-ac | 1 |
| - ITEM NOT ILLUSTRATED, ***** EFFECTIVITY NOT AVAILABLE | ||||
Figure: ENGINE-FAN CASE REAR PANELS
FAN CASE REAR PANELS

