DMC:V2500-A1-72-32-93-01A-941A-DIssue No:001.00Issue Date:2014-05-01
Export Control
EAR Export Classification: Not subject to the EAR per 15 C.F.R. Chapter 1, Part 734.3(b)(3), except for the following Service Bulletins which are currently published as EAR Export Classification 9E991: SBE70-0992, SBE72-0483, SBE72-0580, SBE72-0588, SBE72-0640, SBE73-0209, SBE80-0024 and SBE80-0025.Copyright
© IAE International Aero Engines AG (2001, 2014 - 2021) The information contained in this document is the property of © IAE International Aero Engines AG and may not be copied or used for any purpose other than that for which it is supplied without the express written authority of © IAE International Aero Engines AG. (This does not preclude use by engine and aircraft operators for normal instructional, maintenance or overhaul purposes.).Applicability
All
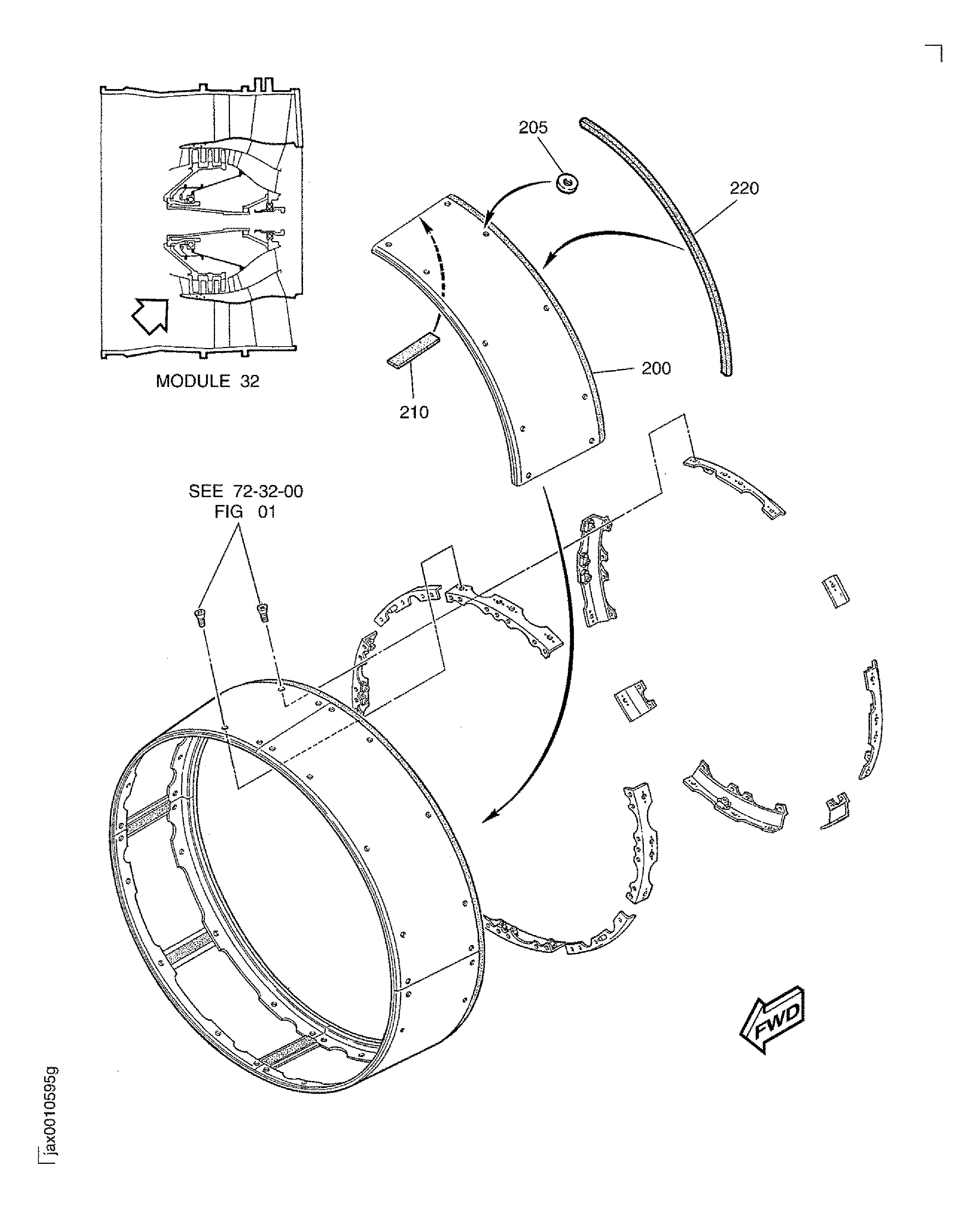
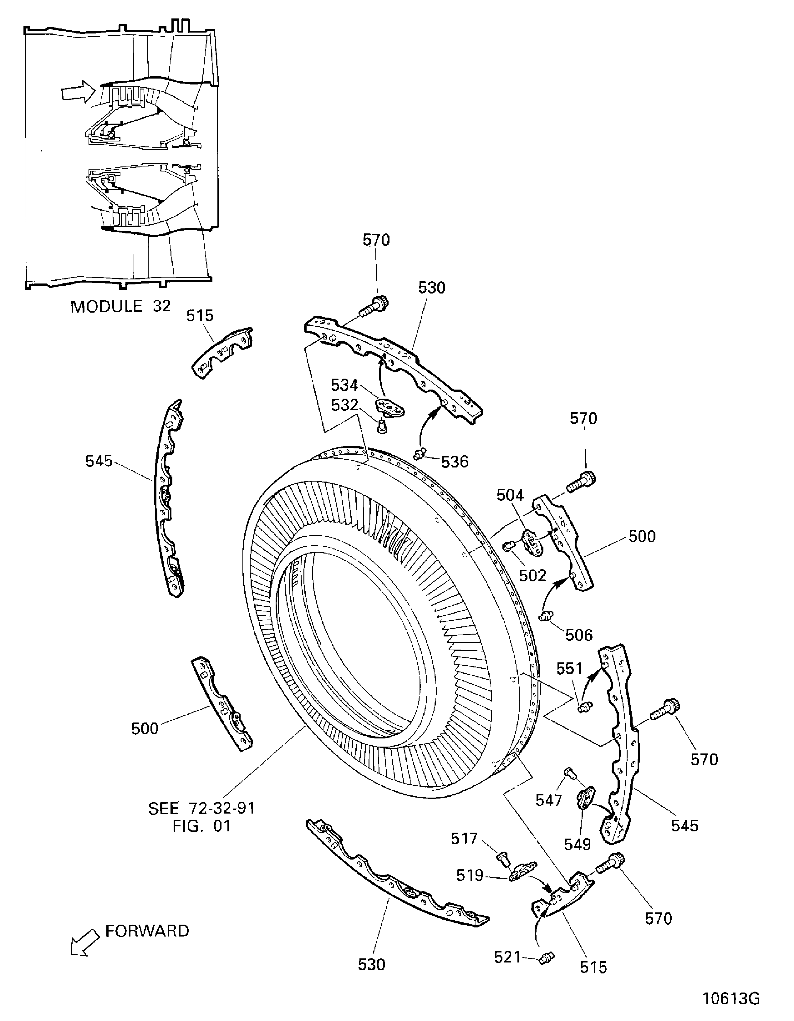
| Fig. Item | Part No. | Description | Effect/Model Applic. | UPA |
|---|---|---|---|---|
| 01 | ||||
| B72329301 | ENGINE-INTERMEDIATE STRUCTURE FRONT FAIRING, PRE SBE72-0136 | aa | ||
| SBE0136-01 | ENGINE-INTERMEDIATE STRUCTURE FRONT FAIRING, PRE SBE70-0202 | ab | ||
| SBE0202-01 | ENGINE-INTERMEDIATE STRUCTURE FRONT FAIRING, PRE SBE70-0788 | ac | ||
| SBE0788-01 | ENGINE-INTERMEDIATE STRUCTURE FRONT FAIRING, PRE SBE70-0786 | ad | ||
| SBE0786-01 | ENGINE-INTERMEDIATE STRUCTURE FRONT FAIRING | ae | ||
| 200 | 5A3447 | • FAIRING - A/O FRONT PRE SBE72-0136 | aa | 4 |
| 200A | 5A0836 | • FAIRING - A/O FRONT POST SBE72-0136 PRE SBE70-0788 | ab-ae | 4 |
| 200B | 5A1444 | • FAIRING - A/O FRONT POST SBE72-0136 PRE SBE72-0136 | ***** | 4 |
| 200C | 5A1830 | • FAIRING - A/O FRONT POST SBE70-0788 | ab-ae | 4 |
| 205 | NAS1169C416L | • • WASHER - DIMPLED 80205 POST SBE72-0136 | ab-ae | 10 |
| 210 | 5A3455 | • • SEAL - RUBBER | aa-ae | 1 |
| 220 | 5A3448 | • • CUSHION - RUBBER PRE SBE70-0786 | aa-ae | 3 |
| 220A | 5A1837 | • • SEAL - STRIP POST SBE70-0786 | aa-ae | 1 |
| 500 | 5A3466 | • BRACKET - A/O A POST SBE70-0202 | ac-ae | 2 |
| 502 | AS16446 | • • RIVET - SOLID CSK HEAD, 2.4 MM(.094) DIA U1653 POST SBE70-0202 | ac-ae | 1 |
| 504 | MS21060L4 | • • NUT - ANCHOR 96906 POST SBE70-0202 | ac-ae | 1 |
| 506 | AS44800 | • • PIN - SHOULDER,HEADLESS U1653 POST SBE70-0202 | ac-ae | 1 |
| 515 | 5A3467 | • BRACKET - A/O B POST SBE70-0202 | ac-ae | 2 |
| 517 | AS16446 | • • RIVET - SOLID CSK HEAD, 2.4 MM(.094) DIA U1653 POST SBE70-0202 | ac-ae | 1 |
| 519 | MS21060L4 | • • NUT - ANCHOR 96906 POST SBE70-0202 | ac-ae | 1 |
| 521 | AS44800 | • • PIN - SHOULDER,HEADLESS U1653 POST SBE70-0202 | ac-ae | 1 |
| 530 | 5A3468 | • BRACKET - A/O C POST SBE70-0202 | ac-ae | 2 |
| 532 | AS16446 | • • RIVET - SOLID CSK HEAD, 2.4 MM(.094) DIA U1653 POST SBE70-0202 | ac-ae | 4 |
| 534 | MS21060L4 | • • NUT - ANCHOR 96906 POST SBE70-0202 | ac-ae | 2 |
| 536 | AS44800 | • • PIN - SHOULDER,HEADLESS U1653 POST SBE70-0202 | ac-ae | 1 |
| 545 | 5A3469 | • BRACKET - A/O D POST SBE70-0202 | ac-ae | 2 |
| 547 | AS16446 | • • RIVET - SOLID CSK HEAD, 2.4 MM(.094) DIA U1653 POST SBE70-0202 | ac-ae | 4 |
| 549 | MS21060L4 | • • NUT - ANCHOR 96906 POST SBE70-0202 | ac-ae | 2 |
| 551 | AS44800 | • • PIN - SHOULDER,HEADLESS U1653 POST SBE70-0202 | ac-ae | 1 |
| 570 | 4W0108 | • BOLT - .190 DIA X .812 Optional Part 4W0108 POST SBE70-0202 | ac-ae | 34 |
| 600 | 5A0025 | • BRACKET - A/O A POST SBE70-0202 | ac-ae | 1 |
| 602 | 5A5437 | • • PIN POST SBE70-0202 | ac-ae | 2 |
| 604 | AN124971 | • • RIVET - 100 DEGREE C/S 81352 POST SBE70-0202 | ac-ae | 8 |
| 606 | MS21060L4 | • • NUT - ANCHOR 96906 POST SBE70-0202 | ac-ae | 4 |
| 615 | 5A0030 | • BRACKET - A/O F POST SBE70-0202 | ac-ae | 1 |
| 617 | 5A5437 | • • PIN POST SBE70-0202 | ac-ae | 2 |
| 619 | AN124971 | • • RIVET - 100 DEGREE C/S 81352 POST SBE70-0202 | ac-ae | 2 |
| 621 | MS21060L4 | • • NUT - ANCHOR 96906 POST SBE70-0202 | ac-ae | 1 |
| 630 | 5A0028 | • BRACKET - A/O D POST SBE70-0202 | ac-ae | 1 |
| 632 | 5A5437 | • • PIN POST SBE70-0202 | ac-ae | 2 |
| 634 | AN124971 | • • RIVET - 100 DEGREE C/S 81352 POST SBE70-0202 | ac-ae | 8 |
| 636 | MS21060L4 | • • NUT - ANCHOR 96906 POST SBE70-0202 | ac-ae | 4 |
| 645 | 5A0027 | • BRACKET - A/O C POST SBE70-0202 | ac-ae | 1 |
| 647 | 5A5437 | • • PIN POST SBE70-0202 | ac-ae | 2 |
| 649 | AN124971 | • • RIVET - 100 DEGREE C/S 81352 POST SBE70-0202 | ac-ae | 8 |
| 651 | MS21060L4 | • • NUT - ANCHOR 96906 POST SBE70-0202 | ac-ae | 4 |
| 660 | 5A0032 | • BRACKET - A/O H POST SBE70-0202 | ac-ae | 1 |
| 662 | 5A5437 | • • PIN POST SBE70-0202 | ac-ae | 2 |
| 664 | AN124971 | • • RIVET - 100 DEGREE C/S 81352 POST SBE70-0202 | ac-ae | 2 |
| 666 | MS21060L4 | • • NUT - ANCHOR 96906 POST SBE70-0202 | ac-ae | 1 |
| 675 | 5A0026 | • BRACKET - A/O B POST SBE70-0202 | ac-ae | 1 |
| 677 | 5A5437 | • • PIN POST SBE70-0202 | ac-ae | 2 |
| 679 | AN124971 | • • RIVET - 100 DEGREE C/S 81352 POST SBE70-0202 | ac-ae | 8 |
| 681 | MS21060L4 | • • NUT - ANCHOR 96906 POST SBE70-0202 | ac-ae | 4 |
| 690 | 5A0031 | • BRACKET - A/O G POST SBE70-0202 | ac-ae | 1 |
| 692 | 5A5437 | • • PIN POST SBE70-0202 | ac-ae | 2 |
| 694 | AN124971 | • • RIVET - 100 DEGREE C/S 81352 POST SBE70-0202 | ac-ae | 2 |
| 696 | MS21060L4 | • • NUT - ANCHOR 96906 POST SBE70-0202 | ac-ae | 1 |
| 705 | 5A0029 | • BRACKET - A/O E POST SBE70-0202 | ac-ae | 1 |
| 707 | 5A5437 | • • PIN POST SBE70-0202 | ac-ae | 2 |
| 709 | AN124971 | • • RIVET - 100 DEGREE C/S 81352 POST SBE70-0202 | ac-ae | 2 |
| 711 | MS21060L4 | • • NUT - ANCHOR 96906 POST SBE70-0202 | ac-ae | 1 |
| 720 | 4W0108 | • BOLT - .190 DIA X .812 Optional Part 4W0108 POST SBE70-0202 | ac-ae | 23 |
| - ITEM NOT ILLUSTRATED, ***** EFFECTIVITY NOT AVAILABLE | ||||
Figure: ENGINE-INTERMEDIATE STRUCTURE FRONT FAIRING
INTERMEDIATE STRUCTURE FRONT FAIRING

INTERMEDIATE STRUCTURE FRONT FAIRING

INTERMEDIATE STRUCTURE FRONT FAIRING

