DMC:V2500-A1-72-41-34-05A-941A-DIssue No:001.00Issue Date:2014-05-01
Export Control
EAR Export Classification: Not subject to the EAR per 15 C.F.R. Chapter 1, Part 734.3(b)(3), except for the following Service Bulletins which are currently published as EAR Export Classification 9E991: SBE70-0992, SBE72-0483, SBE72-0580, SBE72-0588, SBE72-0640, SBE73-0209, SBE80-0024 and SBE80-0025.Copyright
© IAE International Aero Engines AG (2001, 2014 - 2021) The information contained in this document is the property of © IAE International Aero Engines AG and may not be copied or used for any purpose other than that for which it is supplied without the express written authority of © IAE International Aero Engines AG. (This does not preclude use by engine and aircraft operators for normal instructional, maintenance or overhaul purposes.).Applicability
All
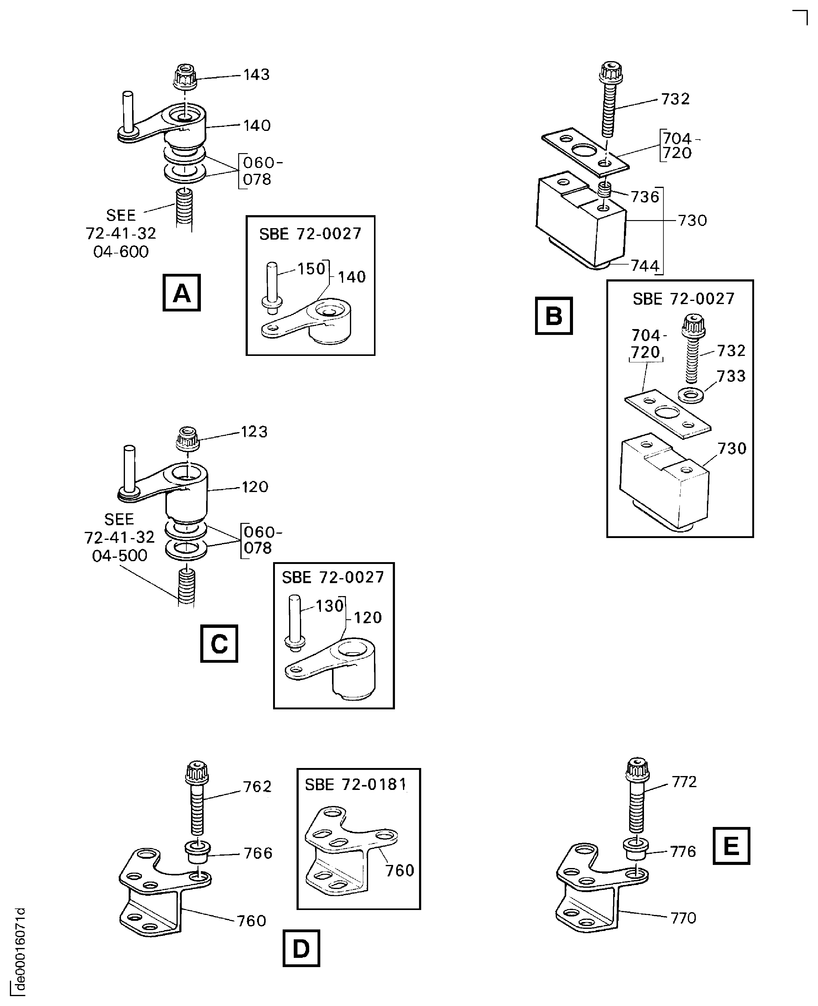
| Fig. Item | Part No. | Description | Effect/Model Applic. | UPA |
|---|---|---|---|---|
| 05 | ||||
| B72413405 | ACTUATING MECHANISM HP COMPRESSOR VARIABLE VANES, PRE SBE72-0084 | aa | ||
| SBE0084-01 | ACTUATING MECHANISM HP COMPRESSOR VARIABLE VANES, PRE SBE72-0027 | ab | ||
| SBE0027-01 | ACTUATING MECHANISM HP COMPRESSOR VARIABLE VANES, PRE SBE72-0181 | ac | ||
| SBE0181-01 | ACTUATING MECHANISM HP COMPRESSOR VARIABLE VANES, PRE SBE70-0708 | ad | ||
| SBE0708-01 | ACTUATING MECHANISM HP COMPRESSOR VARIABLE VANES, PRE SBE72-0335 | ae | ||
| SBE0335-01 | ACTUATING MECHANISM HP COMPRESSOR VARIABLE VANES, PRE SBE72-0348 | af | ||
| SBE0348-01 | ACTUATING MECHANISM HP COMPRESSOR VARIABLE VANES, PRE SBE72-0385 | ag | ||
| SBE0385-01 | ACTUATING MECHANISM HP COMPRESSOR VARIABLE VANES, PRE SBE72-0416 | ah | ||
| SBE0416-01 | ACTUATING MECHANISM HP COMPRESSOR VARIABLE VANES, PRE SBE72-0418 | ai | ||
| SBE0418-01 | ACTUATING MECHANISM HP COMPRESSOR VARIABLE VANES, PRE SBE72-0591 | aj | ||
| SBE0591-01 | ACTUATING MECHANISM HP COMPRESSOR VARIABLE VANES | ak | ||
| 060 | 6A2035C01 | • SPACER | aa-ak | 128 |
| 062 | 6A2035C02 | • SPACER | aa-ak | 128 |
| 064 | 6A2035C03 | • SPACER | aa-ak | 128 |
| 066 | 6A2035C04 | • SPACER | aa-ak | 128 |
| 068 | 6A2035C05 | • SPACER | aa-ak | 128 |
| 070 | 6A2035C06 | • SPACER | aa-ak | 128 |
| 072 | 6A2035C07 | • SPACER | aa-ak | 128 |
| 074 | 6A2035C08 | • SPACER | aa-ak | 128 |
| 076 | 6A2035C09 | • SPACER | aa-ak | 128 |
| 078 | 6A2035C10 | • SPACER | aa-ak | 128 |
| 100 | 6A3324 | • LEVER - A/O,ST.5-V/VANE PRE SBE72-0335 | aa-ak | 52 |
| 100A | 6A7464 | • LEVER - ASSY,VSV POST SBE72-0335 | aa-ak | 52 |
| 103 | 4W0002 | • NUT - .250 DIA | aa-ak | 52 |
| 110 | 6A2442 | • • PIN - SHOULDER,(VRS6194) POST SBE70-0222 | ***** | 1 |
| 120 | 6A3325 | • LEVER - A/O,ST.5-V/VANE-CONN PRE SBE72-0027 | aa-ab | 8 |
| 120A | 6A4346 | • LEVER - HP COMP POST SBE72-0027 PRE SBE72-0335 | ac-ae | 8 |
| 120B | 6A7465 | • LEVER - ASSY,VSV BRIDGE POST SBE72-0335 | ac-ak | 8 |
| 120C | 6A4346 | • LEVER POST SBE72-0591 | ak | 8 |
| 123 | 4W0002 | • NUT - .250 DIA | aa-ak | 8 |
| 130 | 6A2444 | • • PIN - SHOULDER,(VRS6196) POST SBE70-0269 PRE SBE72-0027 | ***** | 1 |
| 130A | 6A4338 | • • PIN POST SBE72-0027 | ac-ak | 1 |
| 130B | 6A4338 | • • PIN POST SBE72-0591 | ak | 1 |
| 140 | 6A3326 | • LEVER - A/O,ST.5-V/VANE-CONN PRE SBE72-0027 | aa-ab | 4 |
| 140A | 6A4347 | • LEVER - HP COMP POST SBE72-0027 PRE SBE72-0335 | ac-ae | 4 |
| 140B | 6A7466 | • LEVER - ASSY,VSV BRIDGE SHORT POST SBE72-0335 | ac-ak | 4 |
| 140C | 6A4347 | • LEVER POST SBE72-0591 | ak | 4 |
| 143 | 4W0002 | • NUT - .250 DIA | aa-ak | 4 |
| 150 | 6A2444 | • • PIN - SHOULDER,(VRS6196) POST SBE70-0269 PRE SBE72-0027 | ***** | 1 |
| 150A | 6A4338 | • • PIN POST SBE72-0027 | ac-ak | 1 |
| 150B | 6A4338 | • • PIN POST SBE72-0591 | ak | 1 |
| 200 | 6A2534 | • CONN - ASSY,ST.5 ACT.RING PRE SBE72-0027 | aa-ab | 2 |
| 200A | 6A4333 | • CONN POST SBE72-0027 PRE SBE72-0348 | ac-af | 2 |
| 200B | 6A7539 | • BRIDGE - PIECE ASSY POST SBE72-0348 PRE SBE72-0385 | ac-ag | 2 |
| 200C | 6A7611 | • BRIDGE - PIECE ASSY STG.5 POST SBE72-0385 | ah-ak | 2 |
| 200D | 6A7860 | • BRIDGE - PIECE STG.5 POST SBE72-0416 | ai-ak | 2 |
| 200E | 6A7611 | • BRIDGE - PIECE ASSY STG.5 POST SBE72-0416 PRE SBE72-0416 | ***** | 2 |
| 200F | 6A7869 | • BRIDGE - PIECE ASSY STG.5 POST SBE72-0416 PRE SBE72-0416 | ***** | 2 |
| 200G | 6A8124 | • BRIDGE - PIECE ASSY POST SBE72-0418 | aj-ak | 2 |
| 200H | 6A8080 | • BRIDGE - PIECE ASSY POST SBE72-0418 | aj-ak | 2 |
| 200J | 6A7898 | • BRIDGE - PIECE ASSY POST SBE72-0418 | aj-ak | 2 |
| 200K | 6A4333 | • CONN POST SBE72-0591 | ak | 2 |
| 202 | AS21017 | • BOLT - .250 DIA X 1.062 U1653 PRE SBE72-0348 | aa-af | 8 |
| 202A | AS21018 | • BOLT - .250 DIA X 1.125 U1653 POST SBE72-0348 PRE SBE72-0385 | ag | 8 |
| 202B | AS21013 | • BOLT - .250 DIA X .812 U1653 POST SBE72-0385 | ah-ak | 8 |
| 202C | AS21013 | • BOLT - .250 DIA X .812 U1653 POST SBE72-0416 | ai-ak | 8 |
| 202D | AS21013 | • BOLT - .250 DIA X .812 U1653 POST SBE72-0416 | ai-ak | 8 |
| 204 | 6A7414 | • WASHER - TUBE POST SBE72-0348 PRE SBE72-0385 | ag | 8 |
| 204A | 6A7612 | • WASHER - STRIP POST SBE72-0385 | ah-ak | 4 |
| 204B | 6A7612 | • WASHER - STRIP POST SBE72-0416 | ai-ak | 4 |
| 205 | UP12204 | • WASHER POST SBE72-0416 | ai-ak | 8 |
| 206 | 6A2536 | • DOWEL PRE SBE72-0348 | aa-af | 8 |
| 220 | UP10815 | • • BUSH PRE SBE72-0418 | aa-ai | 12 |
| 220A | UP10815 | • • BUSH - ,(VRS6202) POST SBE70-0269 PRE SBE72-0027 | ***** | 1 |
| 220B | UP10815 | • • BUSH POST SBE72-0027 | ac-ak | 1 |
| 220C | UP12206 | • • BUSHING - SLEEVE POST SBE72-0418 | aj-ak | 6 |
| 220D | UP10815 | • • BUSH POST SBE72-0591 | ak | 12 |
| 225 | 6A7621 | • • SPACER POST SBE72-0416 | ai-ak | 4 |
| 360 | 6A3688 | • CONNECTR - A/O PRE SBE70-0708 | aa-ak | 1 |
| 360A | 6A7435 | • CONNECTR - ASSY ALT 6A3688 POST SBE70-0708 | aa-ak | 1 |
| 360B | 6A3688 | • CONNECTR - A/O ALT 6A7435 POST SBE70-0708 | aa-ak | 1 |
| 362 | AS20911 | • BOLT - .190 DIA X .688 U1653 | aa-ak | 2 |
| 366 | UP10817 | • DOWEL | aa-ak | 2 |
| 370 | 6A4361 | • • BUSH - ,(VRS6238) | ***** | 1 |
| 372 | 6A4362 | • • BUSH - ,(VRS6238), 0.005 O/S | ***** | 1 |
| 374 | 6A4363 | • • BUSH - ,(VRS6238), 0.010 O/S | ***** | 1 |
| 440 | 6A3547 | • RING - ASSY,ST.5,ACT.UPPER PRE SBE72-0084 | aa | 1 |
| 440A | 6A3984 | • RING - ASSY,ST.5,ACT.UPPER POST SBE72-0084 PRE SBE72-0385 | ab-ag | 1 |
| 440B | 6A7605 | • RING - ASSY STG.5,UPPER UNISON POST SBE72-0385 | ah-ak | 1 |
| 440C | 6A7605 | • RING - ASSY STG.5,UPPER UNISON POST SBE72-0416 | ai-ak | 1 |
| 440D | 6A8086 | • RING - ASSY STG.5,UPPER UNISON POST SBE72-0416 PRE SBE72-0416 | ***** | 1 |
| 440E | 6A8088 | • RING - ASSY POST SBE72-0418 | aj-ak | 1 |
| 440F | 6A7894 | • RING - ASSY POST SBE72-0418 | aj-ak | 1 |
| 460 | UP10815 | • • BUSH - ,(VRS6246) POST SBE70-0269 PRE SBE72-0418 | ***** | 1 |
| 460A | UP12206 | • • BUSHING - SLEEVE POST SBE72-0418 | aj-ak | 26 |
| 470 | 6A2889 | • • BRACKET - ASSY,ST.5,(VRS6246) POST SBE70-0269 | ***** | 1 |
| 470A | 6A3681 | • • BRACKET - ASSY,ST.5,(VRS6246) POST SBE70-0269 | ***** | 1 |
| 490 | 6A2891 | • • BRACKET - ASSY STG 5 ACT RING,(VRS6246) POST SBE70-0269 PRE SBE72-0385 | ***** | 1 |
| 493 | AGS3732 | • • • INSERT - SCREW THREAD,(VRS6156), .250 DIA X 1.5D U1653 POST SBE70-0269 PRE SBE72-0385 | ***** | 1 |
| 502 | UP11019 | • • PIN - HEADED,BAULKING POST SBE72-0416 | ai-ak | 4 |
| 520 | 6A7598 | • • DOWEL - ASSY POST SBE72-0416 | ai-ak | 4 |
| 540 | 6A3549 | • RING - ASSY,ST.5,ACT.LOWER PRE SBE72-0385 | aa-ag | 1 |
| 540A | 6A7607 | • RING - ASSY STG.5,LOWER UNISON POST SBE72-0385 | ah-ak | 1 |
| 540B | 6A7607 | • RING - ASSY STG.5LOWER UNISON POST SBE72-0416 | ai-ak | 1 |
| 540C | 6A7896 | • RING - ASSY POST SBE72-0418 | aj-ak | 1 |
| 560 | UP10815 | • • BUSH - ,(VRS6246) POST SBE70-0269 PRE SBE72-0418 | ***** | 1 |
| 560A | UP12206 | • • BUSHING - SLEEVE POST SBE72-0418 | aj-ak | 26 |
| 570 | 6A2889 | • • BRACKET - ASSY,ST.5,(VRS6246) POST SBE70-0269 | ***** | 1 |
| 580 | 6A2895 | • • BRACKET - ASSY,(VRS6246) POST SBE70-0269 PRE SBE72-0385 | ***** | 1 |
| 580A | 6A7609 | • • BRACKET - ASSY STG.5,LOWER UNISON POST SBE72-0385 | ah-ak | 1 |
| 580B | 6A7609 | • • BRACKET - ASSY STG.5 LOWER UNISON POST SBE72-0416 | ai-ak | 1 |
| 583 | AGS3731 | • • • INSERT - SCREW THREAD, .190 DIA X 1.5D U1653 | aa-ak | 2 |
| 590 | 6A2891 | • • BRACKET - ASSY STG 5 ACT RING,(VRS6246) POST SBE70-0269 PRE SBE72-0385 | ***** | 1 |
| 593 | AGS3732 | • • • INSERT - SCREW THREAD, .250 DIA X 1.5D U1653 | aa-ak | 2 |
| 593A | AGS3732 | • • • INSERT - SCREW THREAD,(VRS6156), .250 DIA X 1.5D U1653 POST SBE70-0269 | ***** | 1 |
| 602 | UP11019 | • • PIN - HEADED,BAULKING POST SBE72-0416 | ai-ak | 4 |
| 620 | 6A3681 | • • BRACKET - ASSY,ST.5,(VRS6246) POST SBE70-0269 | ***** | 1 |
| 623 | AGS3731 | • • • INSERT - SCREW THREAD, .190 DIA X 1.5D U1653 | aa-ak | 4 |
| 630 | 6A7598 | • • DOWEL - ASSY POST SBE72-0416 | ai-ak | 4 |
| 654 | 6A2632C01 | • WASHER - ADJUSTING, 0.0050INS (0.127 MM) | aa-ak | 1 |
| 655 | 6A2632C02 | • WASHER - ADJ, 0.0070INS (0.178 MM) | aa-ak | 1 |
| 656 | 6A2632C03 | • WASHER - ADJ, 0.0080INS (0.203 MM) | aa-ak | 1 |
| 657 | 6A2632C04 | • WASHER - ADJ, 0.0100INS (0.254 MM) | aa-ak | 1 |
| 658 | 6A2632C05 | • WASHER - ADJ, 0.0140INS (0.356 MM) | aa-ak | 1 |
| 659 | 6A2632C06 | • WASHER - ADJ, 0.0177INS (0.450 MM) | aa-ak | 1 |
| 660 | 6A2632C07 | • WASHER - ADJ, 0.0217INS (0.550 MM) | aa-ak | 1 |
| 661 | 6A2632C08 | • WASHER - ADJ, 0.0256INS (0.650 MM) | aa-ak | 1 |
| 662 | 6A2632C09 | • WASHER - ADJ, 0.0295INS (0.750 MM) | aa-ak | 1 |
| 663 | 6A2632C10 | • WASHER - ADJ, 0.0305INS (0.775 MM) | aa-ak | 1 |
| 664 | 6A2632C11 | • WASHER - ADJ, 0.0315INS (0.800 MM) | aa-ak | 1 |
| 665 | 6A2632C12 | • WASHER - ADJ, 0.0325INS (0.825 MM) | aa-ak | 1 |
| 666 | 6A2632C13 | • WASHER - ADJ, 0.0335INS (0.850 MM) | aa-ak | 1 |
| 680 | 6A3091 | • PAD | aa-ak | 4 |
| 682 | AS20911 | • BOLT - .190 DIA X .688 U1653 | aa-ak | 8 |
| 704 | 6A2627C01 | • WASHER - ADJUSTING, 0.031INS (0.787MM) PRE SBE72-0027 | aa-ab | 1 |
| 704A | 6A4339C01 | • SPACER - 0.031INS (0.787MM) POST SBE72-0027 | ac-ak | 1 |
| 704B | 6A4339C01 | • SPACER - 0.031INS (0.787MM) POST SBE72-0591 | ak | 1 |
| 705 | 6A2627C02 | • WASHER - ADJ, 0.030INS (0.763MM) PRE SBE72-0027 | aa-ab | 1 |
| 705A | 6A4339C02 | • SPACER - 0.030INS (0.767MM) POST SBE72-0027 | ac-ak | 1 |
| 705B | 6A4339C02 | • SPACER - 0.030INS (0.767MM) POST SBE72-0591 | ak | 1 |
| 706 | 6A2627C03 | • WASHER - ADJ, 0.029INS (0.737MM) PRE SBE72-0027 | aa-ab | 1 |
| 706A | 6A4339C03 | • SPACER - 0.029INS (0.737MM) POST SBE72-0027 | ac-ak | 1 |
| 706B | 6A4339C03 | • SPACER - 0.029INS (0.737MM) POST SBE72-0591 | ak | 1 |
| 707 | 6A2627C04 | • WASHER - ADJ, 0.027INS (0.687MM) PRE SBE72-0027 | aa-ab | 1 |
| 707A | 6A4339C04 | • SPACER - 0.027INS (0.687MM) POST SBE72-0027 | ac-ak | 1 |
| 707B | 6A4339C04 | • SPACER - 0.027INS (0.687MM) POST SBE72-0591 | ak | 1 |
| 708 | 6A2627C05 | • WASHER - ADJ, 0.025INS (0.637MM) PRE SBE72-0027 | aa-ab | 1 |
| 708A | 6A4339C05 | • SPACER - 0.025INS (0.637MM) POST SBE72-0027 | ac-ak | 1 |
| 708B | 6A4339C05 | • SPACER - 0.025INS (0.637MM) POST SBE72-0591 | ak | 1 |
| 709 | 6A2627C06 | • WASHER - ADJ, 0.023INS (0.587MM) PRE SBE72-0027 | aa-ab | 1 |
| 709A | 6A4339C06 | • SPACER - 0.023INS (0.587MM) POST SBE72-0027 | ac-ak | 1 |
| 709B | 6A4339C06 | • SPACER - 0.023INS (0.587MM) POST SBE72-0591 | ak | 1 |
| 710 | 6A2627C07 | • WASHER - ADJ, 0.021INS (0.537MM) PRE SBE72-0027 | aa-ab | 1 |
| 710A | 6A4339C07 | • SPACER - 0.021INS (0.537MM) POST SBE72-0027 | ac-ak | 1 |
| 710B | 6A4339C07 | • SPACER - 0.021INS (0.537MM) POST SBE72-0591 | ak | 1 |
| 711 | 6A2627C08 | • WASHER - ADJ, 0.019INS (0.487MM) PRE SBE72-0027 | aa-ab | 1 |
| 711A | 6A4339C08 | • SPACER - 0.019INS (0.487MM) POST SBE72-0027 PRE SBE72-0591 | ac-aj | 1 |
| 711B | 6A4339C08 | • SPACER - 0.019INS (0.487MM) POST SBE72-0591 | ak | 1 |
| 712 | 6A2627C09 | • WASHER - ADJ, 0.017INS (0.437MM) PRE SBE72-0027 | aa-ab | 1 |
| 712A | 6A4339C09 | • SPACER - 0.017INS (0.437MM) POST SBE72-0027 | ac-ak | 1 |
| 712B | 6A4339C09 | • SPACER - 0.017INS (0.437MM) POST SBE72-0591 | ak | 1 |
| 713 | 6A2627C10 | • WASHER - ADJ, 0.015INS (0.387MM) PRE SBE72-0027 | aa-ab | 1 |
| 713A | 6A4339C10 | • SPACER - 0.015INS (0.387MM) POST SBE72-0027 | ac-ak | 1 |
| 713B | 6A4339C10 | • SPACER - 0.015INS (0.387MM) POST SBE72-0591 | ak | 1 |
| 714 | 6A2627C11 | • WASHER - ADJ, 0.014INS (0.345MM) PRE SBE72-0027 | aa-ab | 1 |
| 714A | 6A4339C11 | • SPACER - 0.014INS (0.345MM) POST SBE72-0027 | ac-ak | 1 |
| 714B | 6A4339C11 | • SPACER - 0.014INS (0.345MM) POST SBE72-0591 | ak | 1 |
| 715 | 6A2627C12 | • WASHER - ADJ, 0.012INS (0.305MM) PRE SBE72-0027 | aa-ab | 1 |
| 715A | 6A4339C12 | • SPACER - 0.012INS (0.305MM) POST SBE72-0027 | ac-ak | 1 |
| 715B | 6A4339C12 | • SPACER - 0.012INS (0.305MM) POST SBE72-0591 | ak | 1 |
| 716 | 6A2627C13 | • WASHER - ADJ, 0.010INS (0.254MM) PRE SBE72-0027 | aa-ab | 1 |
| 716A | 6A4339C13 | • SPACER - 0.010INS (0.254MM) POST SBE72-0027 | ac-ak | 1 |
| 716B | 6A4339C13 | • SPACER - 0.010INS (0.254MM) POST SBE72-0591 | ak | 1 |
| 717 | 6A2627C14 | • WASHER - ADJ, 0.007INS (0.178MM) PRE SBE72-0027 | aa-ab | 1 |
| 717A | 6A4339C14 | • SPACER - 0.007INS (0.178MM) POST SBE72-0027 | ac-ak | 1 |
| 717B | 6A4339C14 | • SPACER - 0.007INS (0.178MM) POST SBE72-0591 | ak | 1 |
| 718 | 6A2627C15 | • WASHER - ADJ, 0.006INS (0.152MM) PRE SBE72-0027 | aa-ab | 1 |
| 718A | 6A4339C15 | • SPACER - 0.006INS (0.152MM) POST SBE72-0027 | ac-ak | 1 |
| 718B | 6A4339C15 | • SPACER - 0.006INS (0.152MM) POST SBE72-0591 | ak | 1 |
| 719 | 6A2627C16 | • WASHER - ADJ, 0.005INS (0.127MM) PRE SBE72-0027 | aa-ab | 1 |
| 719A | 6A4339C16 | • SPACER - 0.005INS (0.127MM) POST SBE72-0027 | ac-ak | 1 |
| 719B | 6A4339C16 | • SPACER - 0.005INS (0.127MM) POST SBE72-0591 | ak | 1 |
| 720 | 6A2627C17 | • WASHER - ADJ, 0.004INS (0.102MM) PRE SBE72-0027 | aa-ab | 1 |
| 720A | 6A4339C17 | • SPACER - 0.004INS (0.102MM) POST SBE72-0027 | ac-ak | 1 |
| 720B | 6A4339C17 | • SPACER - 0.004INS (0.102MM) POST SBE72-0591 | ak | 1 |
| 730 | 6A2930 | • HSG - ASSY,ST.5 CONN PRE SBE72-0027 | aa-ab | 4 |
| 730A | 6A4335 | • HOUSING - ASSY, POST SBE72-0027 | ac-ak | 4 |
| 730B | 6A4335 | • HOUSING - ASSY, POST SBE72-0591 | ak | 4 |
| 732 | AS20912 | • BOLT - .190 DIA X .750 U1653 PRE SBE72-0027 | aa-ab | 8 |
| 732A | AS20923 | • BOLT - .190 DIA X 1.438 U1653 POST SBE72-0027 PRE SBE72-0591 | ac-aj | 8 |
| 732B | AS20923 | • BOLT - .190 DIA X 1.438 U1653 POST SBE72-0591 | ak | 8 |
| 733 | 4W2621 | • WASHER Optional Part 4W2621 POST SBE72-0027 | ac-ak | 8 |
| 733A | 4W2621 | • WASHER Optional Part 4W2621 POST SBE72-0591 | ak | 8 |
| 736 | AGS3731 | • • INSERT - SCREW THREAD, .190 DIA X 1.5D U1653 | aa-ak | 2 |
| 744 | 6A2932 | • • • PAD - RUBBING | aa-ak | 1 |
| 760 | 6A3876 | • BRACKET - STG 5-RIG PIN LOC. PRE SBE72-0084 | aa | 2 |
| 760A | 6A3876 | • BRACKET - STG 5-RIG PIN LOC. POST SBE72-0084 PRE SBE72-0181 | ab-ac | 1 |
| 760B | 6A5460 | • BRACKET - STAGE 5 RIG PIN POST SBE72-0181 | ad-ak | 1 |
| 762 | AS20911 | • BOLT - .190 DIA X .688 U1653 PRE SBE72-0084 | aa | 4 |
| 762A | AS20911 | • BOLT - .190 DIA X .688 U1653 POST SBE72-0084 | ab-ak | 2 |
| 766 | 6A3680 | • DOWEL PRE SBE72-0084 | aa | 4 |
| 766A | 6A3680 | • DOWEL POST SBE72-0084 | ab-ak | 2 |
| 770 | 6A3877 | • BRACKET - STG 5-RIG PIN LOC. PRE SBE72-0084 | aa | 1 |
| 772 | AS20911 | • BOLT - .190 DIA X .688 U1653 PRE SBE72-0084 | aa | 2 |
| 776 | 6A3680 | • DOWEL PRE SBE72-0084 | aa | 2 |
| - ITEM NOT ILLUSTRATED, ***** EFFECTIVITY NOT AVAILABLE | ||||
Figure: ACTUATING MECHANISM HP COMPRESSOR VARIABLE VANES
VARIABLE INLET GUIDE VANE AND VARIABLE

VARIABLE INLET GUIDE VANE AND VARIABLE

VARIABLE INLET GUIDE VANE AND VARIABLE

VARIABLE INLET GUIDE VANE AND VARIABLE

