DMC:V2500-A1-72-42-20-04A-941A-DIssue No:001.00Issue Date:2014-05-01
Export Control
EAR Export Classification: Not subject to the EAR per 15 C.F.R. Chapter 1, Part 734.3(b)(3), except for the following Service Bulletins which are currently published as EAR Export Classification 9E991: SBE70-0992, SBE72-0483, SBE72-0580, SBE72-0588, SBE72-0640, SBE73-0209, SBE80-0024 and SBE80-0025.Copyright
© IAE International Aero Engines AG (2001, 2014 - 2021) The information contained in this document is the property of © IAE International Aero Engines AG and may not be copied or used for any purpose other than that for which it is supplied without the express written authority of © IAE International Aero Engines AG. (This does not preclude use by engine and aircraft operators for normal instructional, maintenance or overhaul purposes.).Applicability
All
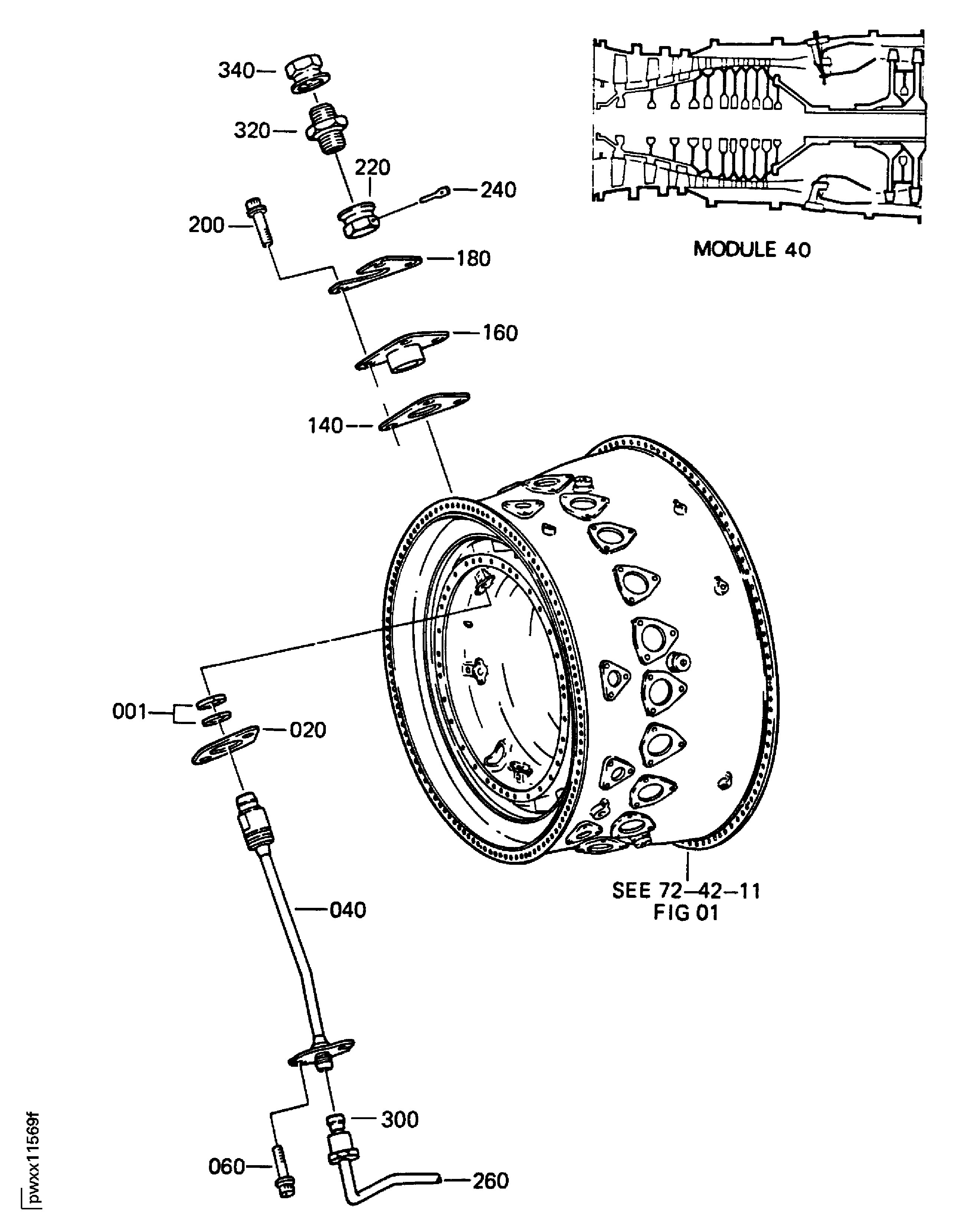
| Fig. Item | Part No. | Description | Effect/Model Applic. | UPA |
|---|---|---|---|---|
| 04 | ||||
| B72422004 | ENGINE-NO.4 BEARING COMPARTMENT TUBES, PRE SBE72-0166 | aa | ||
| SBE0166-01 | ENGINE-NO.4 BEARING COMPARTMENT TUBES | ab | ||
| 001 | 2A0364 | • SEAL - RING,METAL, .625X .062X .0265 PRE SBE72-0166 | aa | 2 |
| 020 | 2A0391 | • GASKET PRE SBE72-0166 | aa | 1 |
| 040 | 2A0358-01 | • TUBE PRE SBE72-0166 | aa | 1 |
| 040A | 2A2895 | • COVER - - SENSING TUBE, OUTER POST SBE72-0166 | ab | 1 |
| 060 | MS9575-06 | • BOLT 96906 PRE SBE72-0166 | aa | 2 |
| 140 | 2A1036 | • GASKET - 2.125, 3 HOLE PRE SBE72-0166 | aa | 1 |
| 160 | 2A0363 | • SLEEVE - SLG,, .625X.900X.650,3 HOL PRE SBE72-0166 | aa | 1 |
| 180 | 2A0350 | • PLATE - RTNG PRE SBE72-0166 | aa | 1 |
| 200 | MS9575-09 | • BOLT 96906 PRE SBE72-0166 | aa | 3 |
| 220 | AS15701 | • NUT - TUBE COUPLING U1653 PRE SBE72-0166 | aa | 1 |
| 240 | 2A0834 | • WIRE - THRUST, .108 PRE SBE72-0166 | aa | 1 |
| 260 | 2A0357-01 | • TUBE PRE SBE72-0166 | aa | 1 |
| 260A | 2A2894 | • COVER - - SENSING TUBE, INNER POST SBE72-0166 | ab | 1 |
| 300 | 2A0312 | • • FERRULE - TURB CLG DUCT | aa-ab | 1 |
| 320 | AS27467 | • UNION - DOUBLE ENDED TUBE U1653 PRE SBE72-0166 | aa | 1 |
| 340 | AS15825 | • NUT - ASSY,TUBE CLOSURE U1653 PRE SBE72-0166 | aa | 1 |
| 360 | AN123521 | • RIVET - SOLID 81352 POST SBE72-0166 | ab | 1 |
| - ITEM NOT ILLUSTRATED, ***** EFFECTIVITY NOT AVAILABLE | ||||
Figure: ENGINE-NO.4 BEARING COMPARTMENT TUBES
NO.4 BEARING COMPARTMENT TUBES

NO.4 BEARING COMPARTMENT TUBES

