DMC:V2500-A1-72-60-2804-00A-647A-CIssue No:001.00Issue Date:2013-11-01
Export Control
EAR Export Classification: Not subject to the EAR per 15 C.F.R. Chapter 1, Part 734.3(b)(3), except for the following Service Bulletins which are currently published as EAR Export Classification 9E991: SBE70-0992, SBE72-0483, SBE72-0580, SBE72-0588, SBE72-0640, SBE73-0209, SBE80-0024 and SBE80-0025.Copyright
© IAE International Aero Engines AG (2001, 2014 - 2021) The information contained in this document is the property of © IAE International Aero Engines AG and may not be copied or used for any purpose other than that for which it is supplied without the express written authority of © IAE International Aero Engines AG. (This does not preclude use by engine and aircraft operators for normal instructional, maintenance or overhaul purposes.).Applicability
V2500-A1
Common Information
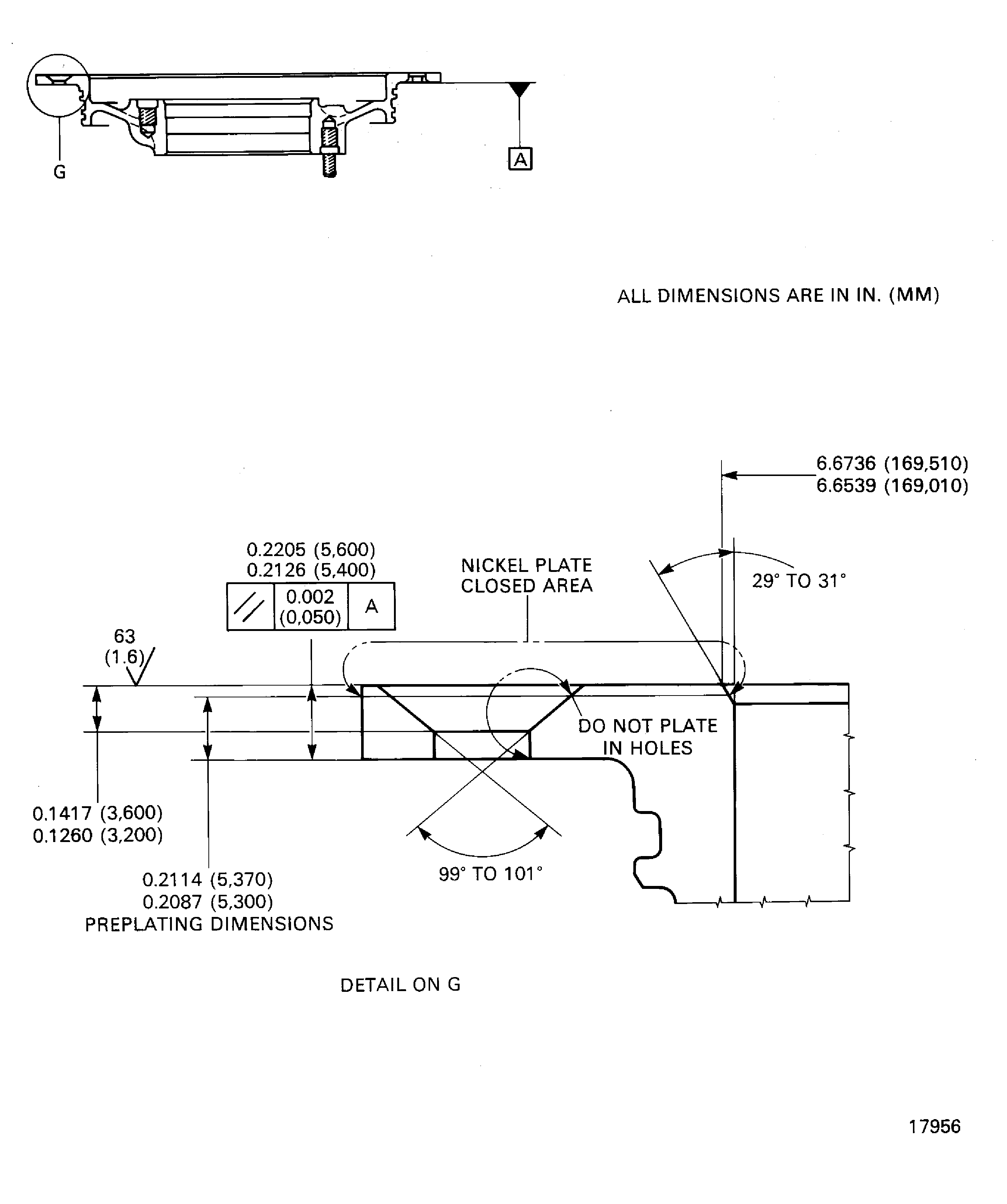
TASK 72-60-28-300-008 Generator Drive Gear Housing - Nickel Plate The Adapter Mating Surface, Repair-008 (VRS5061)
Effectivity
FIG/ITEM PART NO. | |
|---|---|
01-450 | 4B0161 |
01-450 | 4B0271 |
01-450 | 4B0281 |
01-450 | 4B0312 |
01-450 | 4B0348 |
01-450 | 4B0370 |
General
Price and availability - none
The practices and processes referred to in the procedure by the TASK numbers are in the SPM.
NOTE
To identify the consumable materials, refer to the PCI.
Consumable materials are given in SPM.
Preliminary Requirements
Pre-Conditions
NONESupport Equipment
| Name | Manufacturer | Part Number / Identification | Quantity | Remark |
|---|---|---|---|---|
| Workshop inspection equipment | LOCAL | Workshop inspection equipment | ||
| Grinding machine | LOCAL | Grinding machine | ||
| FPI inspection station | LOCAL | FPI inspection station | ||
| Basket | LOCAL | Basket | ||
| Vapor degreaser | LOCAL | Vapor degreaser | ||
| Process Plating Tanks | LOCAL | Process plating tanks | ||
| Oven | LOCAL | Oven | ||
| Magnifying glass, 4x | LOCAL | Magnifying glass, 4x | ||
| Vibroengraving equipment | LOCAL | Vibroengraving equipment |
Consumables, Materials and Expendables
| Name | Manufacturer | Part Number / Identification | Quantity | Remark |
|---|---|---|---|---|
| CoMat 01-027 HYDROFLUORIC ACID | LOCAL | CoMat 01-027 | ||
| CoMat 01-058 NITRIC ACID HNO3 | LOCAL | CoMat 01-058 | ||
| CoMat 01-112 ALKALINE SILICATE DEGREASER | 23373 | CoMat 01-112 | ||
| CoMat 01-343 DELETED | 0AM53 | CoMat 01-343 | ||
| CoMat 02-067 STRIPPABLE COATING | 71410 | CoMat 02-067 |
Spares
NONESafety Requirements
NONEProcedure
Refer to Figure.
SUBTASK 72-60-28-320-071 Machine the Adapter Mating Surface of the Housing
Refer to Figure.
Refer to the SPM TASK 70-33-08-300-503.
Plate to a sufficient thickness to permit the machining to the last dimensions.
The plating out of the mating surface is permitted but must be removed.
Do the nickel plating.
SUBTASK 72-60-28-330-064 Nickel Plate the Adapter Mating Surface of the Housing
Refer to Figure.
SUBTASK 72-60-28-320-072 Machine the Adapter Mating Surface of the Housing
Refer to Figure.
SUBTASK 72-60-28-220-101 Examine the Nickel Plated Area
Figure: Repair Details and Dimensions
Repair Details and Dimensions

