DMC:V2500-A1-75-24-48-02A-941A-DIssue No:001.00Issue Date:2014-05-01
Export Control
EAR Export Classification: Not subject to the EAR per 15 C.F.R. Chapter 1, Part 734.3(b)(3), except for the following Service Bulletins which are currently published as EAR Export Classification 9E991: SBE70-0992, SBE72-0483, SBE72-0580, SBE72-0588, SBE72-0640, SBE73-0209, SBE80-0024 and SBE80-0025.Copyright
© IAE International Aero Engines AG (2001, 2014 - 2021) The information contained in this document is the property of © IAE International Aero Engines AG and may not be copied or used for any purpose other than that for which it is supplied without the express written authority of © IAE International Aero Engines AG. (This does not preclude use by engine and aircraft operators for normal instructional, maintenance or overhaul purposes.).Applicability
All
| Fig. Item | Part No. | Description | Effect/Model Applic. | UPA |
|---|---|---|---|---|
| 02 | ||||
| B75244802 | AIR-HP ACTIVE CLEARANCE CONTROL MANIFOLD, PRE SBE75-0013 | aa | ||
| SBE0013-01 | AIR-HP ACTIVE CLEARANCE CONTROL MANIFOLD, PRE SBE75-0026 | ab | ||
| SBE0026-01 | AIR-HP ACTIVE CLEARANCE CONTROL MANIFOLD, PRE SBE70-0791 | ac | ||
| SBE0791-01 | AIR-HP ACTIVE CLEARANCE CONTROL MANIFOLD | ad | ||
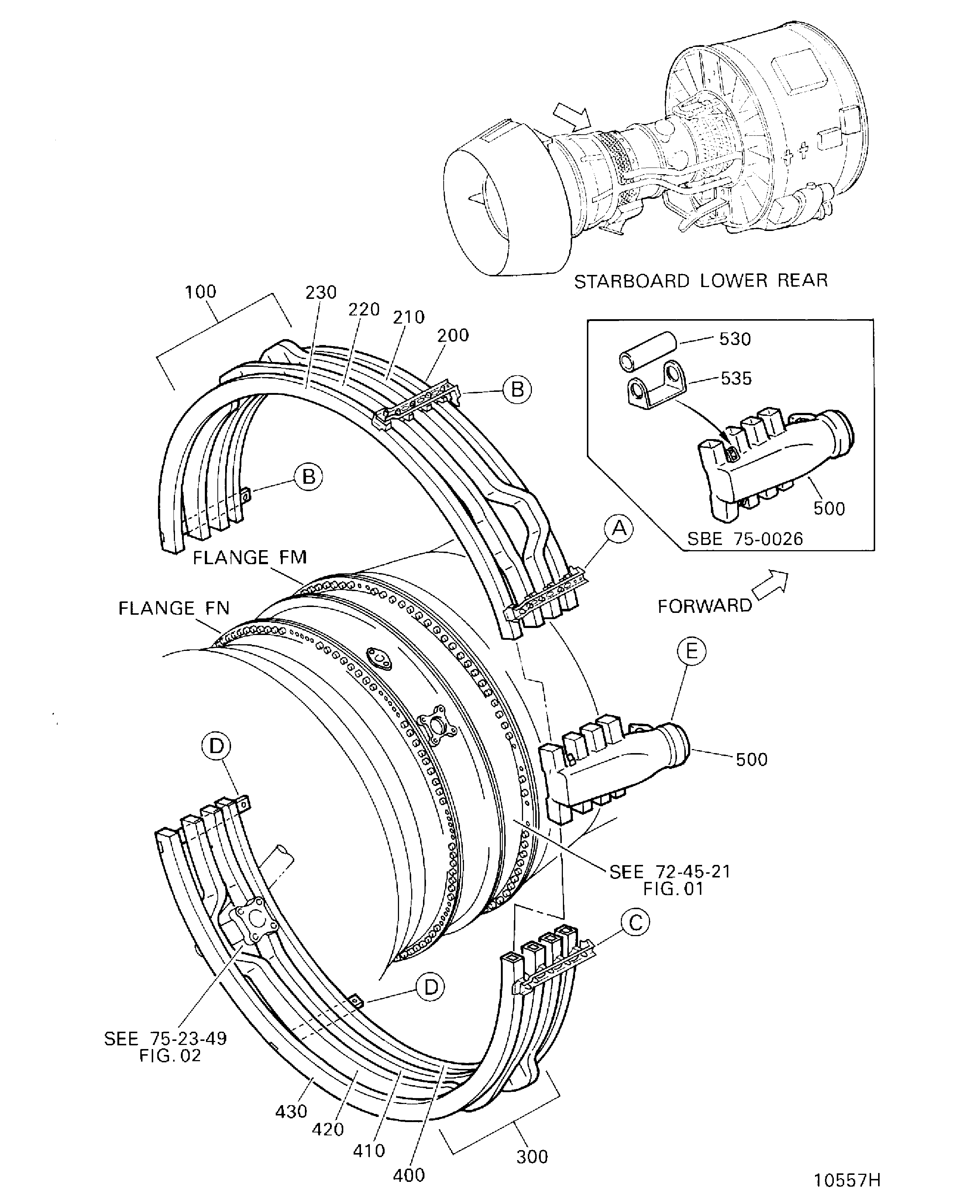
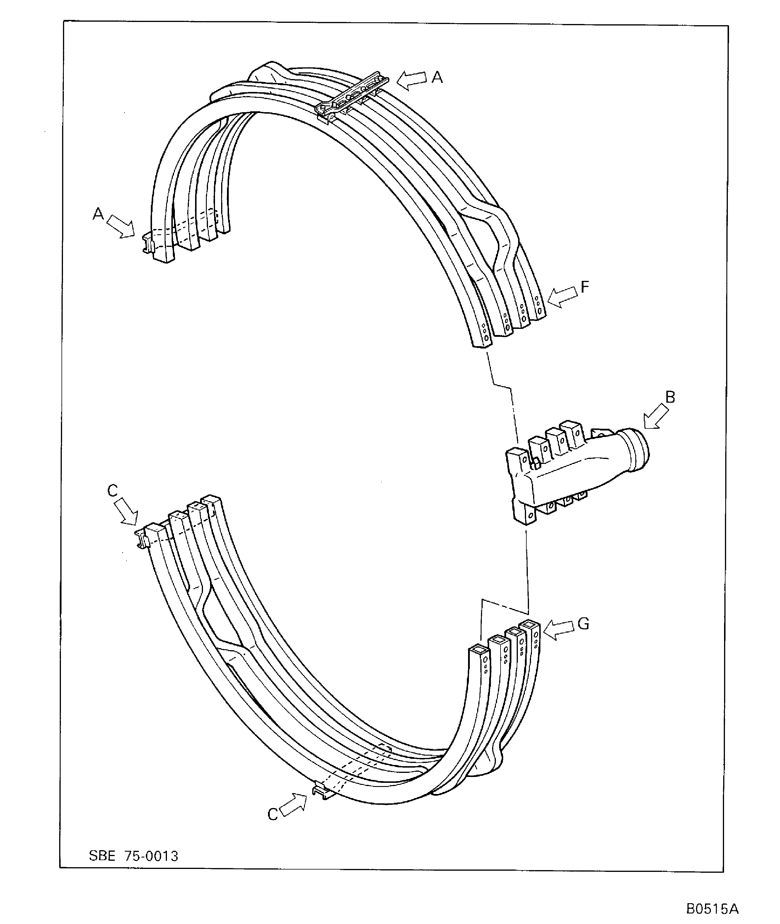
| 100 | 2A1571 | • MANIFOLD - ASSY R/H TURB CLG PRE SBE75-0013 | aa | 1 |
| 100A | 2A1561 | • MANIFOLD - ASSY R/H TURB CLG POST SBE75-0013 | ab-ad | 1 |
| 115 | 4W1183 | • BOLT - .190 DIA X .500 PRE SBE75-0013 | aa | 6 |
| 115A | 4W0102 | • BOLT - .190 DIA X .438 POST SBE75-0013 | ab-ad | 4 |
| 120 | 4W0102 | • BOLT - .190 DIA X .438 Optional Part 4W0102 POST SBE75-0013 | ab-ad | 4 |
| 150 | 4W0001 | • • NUT - .190 DIA PRE SBE75-0013 | aa | 12 |
| 150A | 4W0001 | • NUT - .190 DIA POST SBE75-0013 | ab-ad | 8 |
| 155 | 4W1183 | • • BOLT - .190 DIA X .500 PRE SBE75-0013 | aa | 12 |
| 155A | 4W1183 | • BOLT - .190 DIA X .500 POST SBE75-0013 | ab-ad | 8 |
| 165 | AS3257-02 | • • CLIP U1653 PRE SBE75-0013 | aa | 12 |
| 165A | AS3257-02 | • • CLIP U1653 POST SBE75-0013 | ab-ad | 8 |
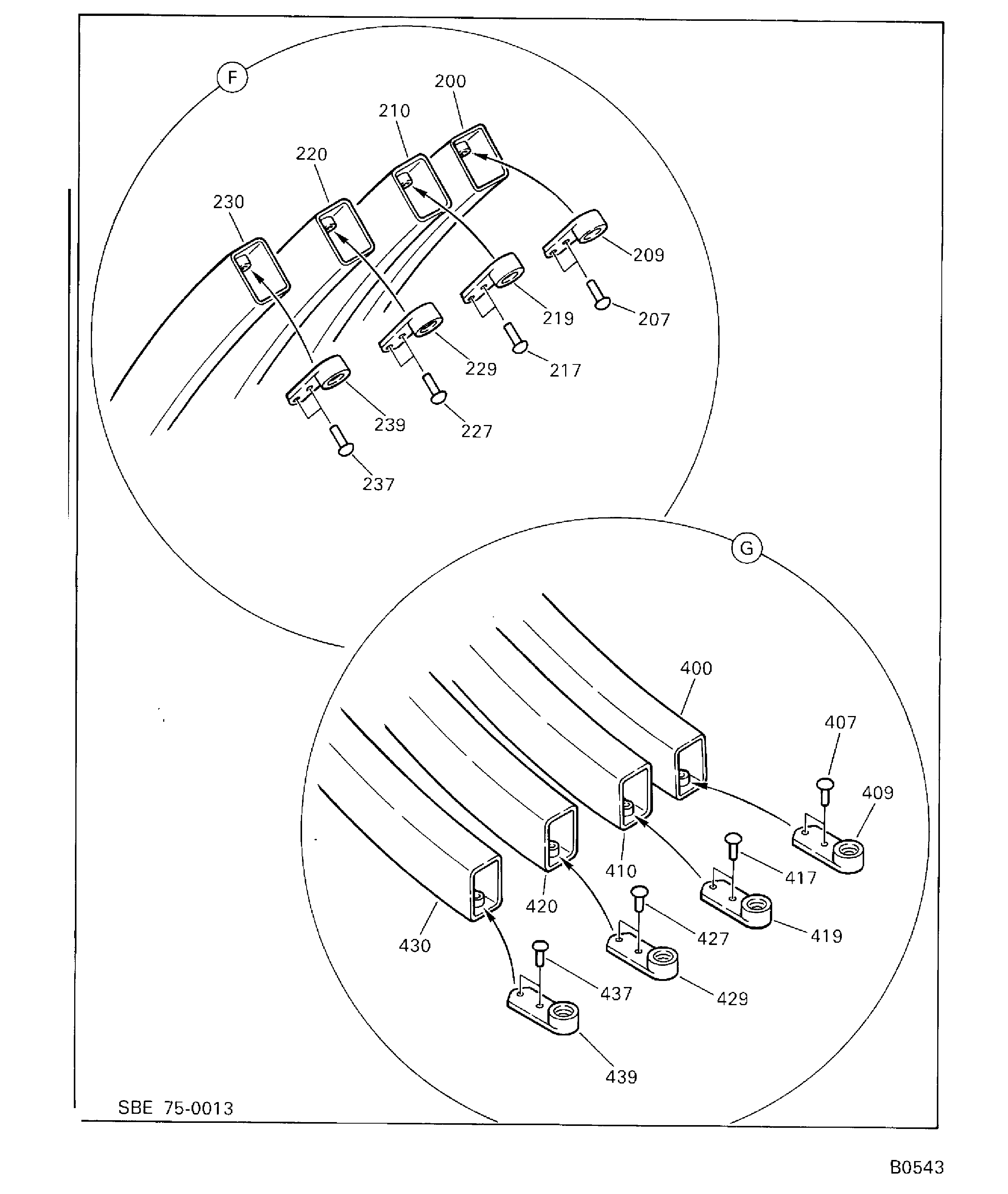
| 200 | 2A0220 | • • TUBE - A/O TCC PRE SBE75-0013 | aa | 1 |
| 200A | 2A1545 | • • TUBE - A/O TCC POST SBE75-0013 | ab-ad | 1 |
| 204 | 2A0240 | • • • PIN | aa-ad | 2 |
| 206 | 2A0239 | • • • PIN - HOLLOW PRE SBE75-0013 | aa | 1 |
| 207 | MS20615-3M3 | • • • RIVET 96906 POST SBE75-0013 | ab-ad | 2 |
| 209 | MS21052-3 | • • • NUT - PLATE 96906 POST SBE75-0013 | ab-ad | 1 |
| 210 | 2A0225 | • • TUBE - A/O TCC PRE SBE75-0013 | aa | 1 |
| 210A | 2A1549 | • • TUBE - A/O TCC POST SBE75-0013 | ab-ad | 1 |
| 214 | 2A0240 | • • • PIN | aa-ad | 2 |
| 216 | 2A0239 | • • • PIN - HOLLOW PRE SBE75-0013 | aa | 1 |
| 217 | MS20615-3M3 | • • • RIVET 96906 POST SBE75-0013 | ab-ad | 2 |
| 219 | MS21052-3 | • • • NUT - PLATE 96906 POST SBE75-0013 | ab-ad | 1 |
| 220 | 2A0229 | • • TUBE - A/O TCC PRE SBE75-0013 | aa | 1 |
| 220A | 2A1553 | • • TUBE - A/O TCC POST SBE75-0013 | ab-ad | 1 |
| 224 | 2A0240 | • • • PIN | aa-ad | 2 |
| 226 | 2A0239 | • • • PIN - HOLLOW PRE SBE75-0013 | aa | 1 |
| 227 | MS20615-3M3 | • • • RIVET 96906 POST SBE75-0013 | ab-ad | 2 |
| 229 | MS21052-3 | • • • NUT - PLATE 96906 POST SBE75-0013 | ab-ad | 1 |
| 230 | 2A0233 | • • TUBE - A/O TCC PRE SBE75-0013 | aa | 1 |
| 230A | 2A1557 | • • TUBE - A/O TCC POST SBE75-0013 | ab-ad | 1 |
| 234 | 2A0240 | • • • PIN | aa-ad | 2 |
| 236 | 2A0239 | • • • PIN - HOLLOW PRE SBE75-0013 | aa | 1 |
| 237 | MS20615-3M3 | • • • RIVET 96906 POST SBE75-0013 | ab-ad | 2 |
| 239 | MS21052-3 | • • • NUT - PLATE 96906 POST SBE75-0013 | ab-ad | 1 |
| 240 | 2A0289 | • • BRACKET PRE SBE75-0013 | aa | 3 |
| 240A | 2A0289 | • • BRACKET POST SBE75-0013 | ab-ad | 2 |
| 300 | 2A1572 | • MANIFOLD - ASSY L/H TURB CLG PRE SBE75-0013 | aa | 1 |
| 300A | 2A1562 | • MANIFOLD - ASSY L/H TURB CLG POST SBE75-0013 | ab-ad | 1 |
| 315 | 4W1183 | • BOLT - .190 DIA X .500 PRE SBE75-0013 | aa | 6 |
| 315A | 4W0102 | • BOLT - .190 DIA X .438 POST SBE75-0013 | ab-ad | 4 |
| 320 | 4W0102 | • BOLT - .190 DIA X .438 Optional Part 4W0102 POST SBE75-0013 | ab-ad | 4 |
| 350 | 4W0001 | • • NUT - .190 DIA PRE SBE75-0013 | aa | 12 |
| 350A | 4W0001 | • • NUT - .190 DIA POST SBE75-0013 | ab-ad | 8 |
| 355 | 4W1183 | • • BOLT - .190 DIA X .500 PRE SBE75-0013 | aa | 12 |
| 355A | 4W1183 | • • BOLT - .190 DIA X .500 POST SBE75-0013 | ab-ad | 8 |
| 365 | AS3257-02 | • • CLIP U1653 PRE SBE75-0013 | aa | 12 |
| 365A | AS3257-02 | • • CLIP U1653 POST SBE75-0013 | ab-ad | 8 |
| 400 | 2A0223 | • • TUBE - A/O TCC PRE SBE75-0013 | aa | 1 |
| 400A | 2A1547 | • • TUBE - A/O TCC POST SBE75-0013 | ab-ad | 1 |
| 404 | 2A0240 | • • • PIN | aa-ad | 2 |
| 406 | 2A0239 | • • • PIN - HOLLOW PRE SBE75-0013 | aa | 1 |
| 407 | MS20615-3M3 | • • • RIVET 96906 POST SBE75-0013 | ab-ad | 2 |
| 409 | MS21052-3 | • • • NUT - PLATE 96906 POST SBE75-0013 | ab-ad | 1 |
| 410 | 2A0227 | • • TUBE - A/O TCC PRE SBE75-0013 | aa | 1 |
| 410A | 2A1551 | • • TUBE - A/O TCC POST SBE75-0013 | ab-ad | 1 |
| 414 | 2A0240 | • • • PIN | aa-ad | 2 |
| 416 | 2A0239 | • • • PIN - HOLLOW PRE SBE75-0013 | aa | 1 |
| 417 | MS20615-3M3 | • • • RIVET 96906 POST SBE75-0013 | ab-ad | 2 |
| 419 | MS21052-3 | • • • NUT - PLATE 96906 POST SBE75-0013 | ab-ad | 1 |
| 420 | 2A0231 | • • TUBE - A/O TCC PRE SBE75-0013 | aa | 1 |
| 420A | 2A1555 | • • TUBE - A/O TCC POST SBE75-0013 | ab-ad | 1 |
| 424 | 2A0240 | • • • PIN | aa-ad | 2 |
| 426 | 2A0239 | • • • PIN - HOLLOW PRE SBE75-0013 | aa | 1 |
| 427 | MS20615-3M3 | • • • RIVET 96906 POST SBE75-0013 | ab-ad | 2 |
| 429 | MS21052-3 | • • • NUT - PLATE 96906 POST SBE75-0013 | ab-ad | 1 |
| 430 | 2A0235 | • • TUBE - A/O TCC PRE SBE75-0013 | aa | 1 |
| 430A | 2A1559 | • • TUBE - A/O TCC POST SBE75-0013 | ab-ad | 1 |
| 434 | 2A0240 | • • • PIN | aa-ad | 2 |
| 436 | 2A0239 | • • • PIN - HOLLOW PRE SBE75-0013 | aa | 1 |
| 437 | MS20615-3M3 | • • • RIVET 96906 POST SBE75-0013 | ab-ad | 2 |
| 439 | MS21052-3 | • • • NUT - PLATE 96906 POST SBE75-0013 | ab-ad | 1 |
| 440 | 2A0289 | • • BRACKET PRE SBE75-0013 | aa | 3 |
| 440A | 2A0289 | • • BRACKET POST SBE75-0013 | ab-ad | 2 |
| 500 | 2A0202 | • MANIFOLD - A/O-CLG TURBINE PRE SBE75-0013 | aa | 1 |
| 500A | 2A1540 | • MANIFOLD - ASSY CLG TURBINE POST SBE75-0013 PRE SBE75-0026 | aa-ad | 1 |
| 500B | 2A1569 | • MANIFOLD - A/O CLG TURB POST SBE75-0026 | aa-ad | 1 |
| 500C | 2A3665 | • MANIFOLD - A/O CLG TURB POST SBE75-0026 | ac-ad | 1 |
| 515 | 4W1183 | • BOLT - .190 DIA X .500 PRE SBE75-0013 | aa-ad | 2 |
| 515A | 4W0102 | • BOLT - .190 DIA X .438 POST SBE75-0013 | aa-ad | 2 |
| 525 | AS3257-03 | • CLIP U1653 PRE SBE70-0791 | aa-ad | 2 |
| 525A | AS3257-03 | • CLIP U1653 ALT ST1428-03 POST SBE70-0791 | aa-ad | 2 |
| 525B | ST1428-03 | • CLIP ALT AS3257-03 POST SBE70-0791 | aa-ad | 2 |
| 525C | AS3257-03 | • CLIP U1653 ALT ST1428-03 POST SBE70-0791 | aa-ad | 2 |
| -525D | ST1428-03 | • CLIP ALT AS3257-03 POST SBE70-0791 | aa-ad | REF |
| 525E | AS3257-03 | • CLIP U1653 ALT ST1428-03 POST SBE70-0791 | aa-ad | 2 |
| -525F | ST1428-03 | • CLIP ALT AS3257-03 POST SBE70-0791 | aa-ad | REF |
| 530 | 2A0241 | • • PIN PRE SBE75-0026 | aa-ab | 2 |
| 530A | 2A1564 | • • PIN - HOLLOW POST SBE75-0026 | aa-ad | 2 |
| 535 | 2A1563 | • • SUPPORT - TCC MANF POST SBE75-0026 | ac-ad | 2 |
| 540 | 2A0283 | • • BRACKET - TCC MANF | aa-ad | 1 |
| 545 | 2A0205 | • • JOINT - TCC MANF | aa-ad | 1 |
| - ITEM NOT ILLUSTRATED, ***** EFFECTIVITY NOT AVAILABLE | ||||
Figure: AIR-HP ACTIVE CLEARANCE CONTROL MANIFOLD
HP ACTIVE CLEARANCE CONTROL MANIFOLD

HP ACTIVE CLEARANCE CONTROL MANIFOLD

HP ACTIVE CLEARANCE CONTROL MANIFOLD

HP ACTIVE CLEARANCE CONTROL MANIFOLD

HP ACTIVE CLEARANCE CONTROL MANIFOLD

