DMC:V2500-A1-78-32-49-35A-941A-DIssue No:001.00Issue Date:2014-05-01
Export Control
EAR Export Classification: Not subject to the EAR per 15 C.F.R. Chapter 1, Part 734.3(b)(3), except for the following Service Bulletins which are currently published as EAR Export Classification 9E991: SBE70-0992, SBE72-0483, SBE72-0580, SBE72-0588, SBE72-0640, SBE73-0209, SBE80-0024 and SBE80-0025.Copyright
© IAE International Aero Engines AG (2001, 2014 - 2021) The information contained in this document is the property of © IAE International Aero Engines AG and may not be copied or used for any purpose other than that for which it is supplied without the express written authority of © IAE International Aero Engines AG. (This does not preclude use by engine and aircraft operators for normal instructional, maintenance or overhaul purposes.).Applicability
All
| Fig. Item | Part No. | Description | Effect/Model Applic. | UPA |
|---|---|---|---|---|
| 35 | ||||
| B78324935 | EXHAUST-LEFT C-DUCT FIXED STRUCTURE, PRE SBN70-0772 | aa | ||
| SBN0772-01 | EXHAUST-LEFT C-DUCT FIXED STRUCTURE | ab | ||
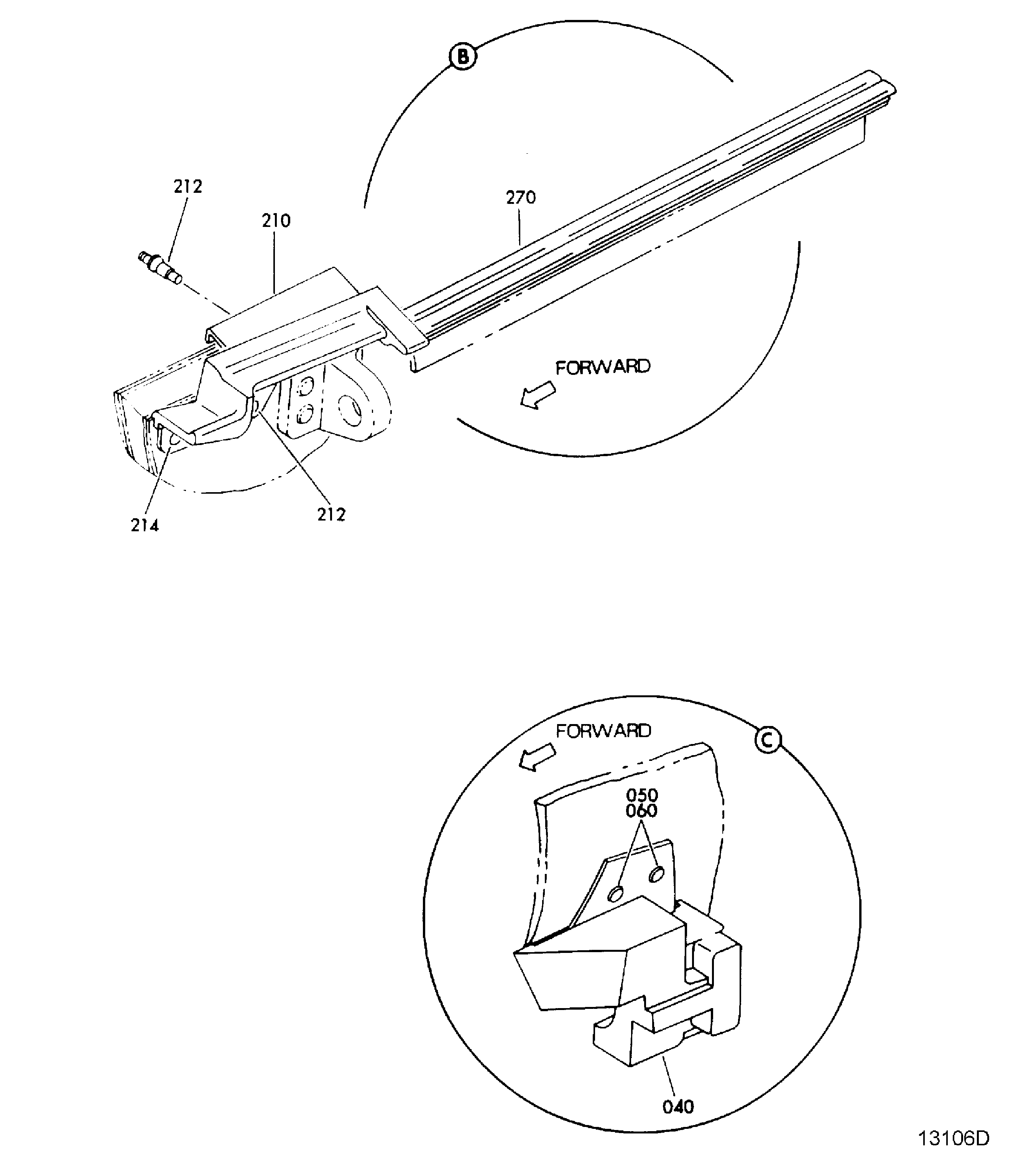
| 010 | 745-0018-501 | • BLOCK - ASSY,UPPER SEAL 51563 POST SBN70-0772 | ab | 1 |
| 010A | 745-0018-501 | • BLOCK - ASSY,UPPER SEAL 51563 POST SBN70-0772 | ab | 1 |
| 020 | CR3523-6-5 | • RIVET 81349 POST SBN70-0772 | ab | 2 |
| 020A | CR3523-6-5 | • RIVET 81349 POST SBN70-0772 | ab | 2 |
| 040 | 745-0017-501 | • BLOCK - ASSY,LOWER SEAL 51563 POST SBN70-0772 | ab | 1 |
| 040A | 745-0017-501 | • BLOCK - ASSY,LOWER SEAL 51563 POST SBN70-0772 | ab | 1 |
| 050 | CR3523-6-5 | • RIVET 81349 POST SBN70-0772 | ab | 2 |
| 050A | CR3523-6-5 | • RIVET 81349 POST SBN70-0772 | ab | 2 |
| 306 | NAS1398M5-2 | • RIVET 80205 | aa-ab | 1 |
| - ITEM NOT ILLUSTRATED, ***** EFFECTIVITY NOT AVAILABLE | ||||
Figure: EXHAUST-LEFT C-DUCT FIXED STRUCTURE
PRESSURE SEAL INSTL LH SIDE

PRESSURE SEAL INSTL LH SIDE

PRESSURE SEAL INSTL LH SIDE

PRESSURE SEAL INSTL LH SIDE

