DMC:V2500-A1-79-21-42-01A-941A-DIssue No:002.00Issue Date:2017-11-01
Export Control
EAR Export Classification: Not subject to the EAR per 15 C.F.R. Chapter 1, Part 734.3(b)(3), except for the following Service Bulletins which are currently published as EAR Export Classification 9E991: SBE70-0992, SBE72-0483, SBE72-0580, SBE72-0588, SBE72-0640, SBE73-0209, SBE80-0024 and SBE80-0025.Copyright
© IAE International Aero Engines AG (2001, 2014 - 2021) The information contained in this document is the property of © IAE International Aero Engines AG and may not be copied or used for any purpose other than that for which it is supplied without the express written authority of © IAE International Aero Engines AG. (This does not preclude use by engine and aircraft operators for normal instructional, maintenance or overhaul purposes.).Applicability
All
| Fig. Item | Part No. | Description | Effect/Model Applic. | UPA |
|---|---|---|---|---|
| 01 | ||||
| B79214201 | OIL-AIR COOLED OIL COOLER, PRE SBE79-0005 | aa | ||
| SBE0005-01 | OIL-AIR COOLED OIL COOLER, PRE SBE79-0009 | ab | ||
| SBE0009-01 | OIL-AIR COOLED OIL COOLER, PRE SBE79-0010 | ac | ||
| SBE0010-01 | OIL-AIR COOLED OIL COOLER, PRE SBE72-0081 | ad | ||
| SBE0081-01 | OIL-AIR COOLED OIL COOLER, PRE SBE70-0158 | ae | ||
| SBE0158-01 | OIL-AIR COOLED OIL COOLER, PRE SBE72-0103 | af | ||
| SBE0103-01 | OIL-AIR COOLED OIL COOLER, PRE SBE79-0050 | ag | ||
| SBE0050-01 | OIL-AIR COOLED OIL COOLER, PRE SBE70-0568 | ah | ||
| SBE0568-01 | OIL-AIR COOLED OIL COOLER, PRE SBE70-0274 | ai | ||
| SBE0274-01 | OIL-AIR COOLED OIL COOLER, PRE SBE79-0094 | aj | ||
| SBE0094-01 | OIL-AIR COOLED OIL COOLER, PRE SBE70-0988 | ak | ||
| SBE0988-01 | OIL-AIR COOLED OIL COOLER, PRE SBE79-0109 | al | ||
| SBE0109-01 | OIL-AIR COOLED OIL COOLER | am | ||
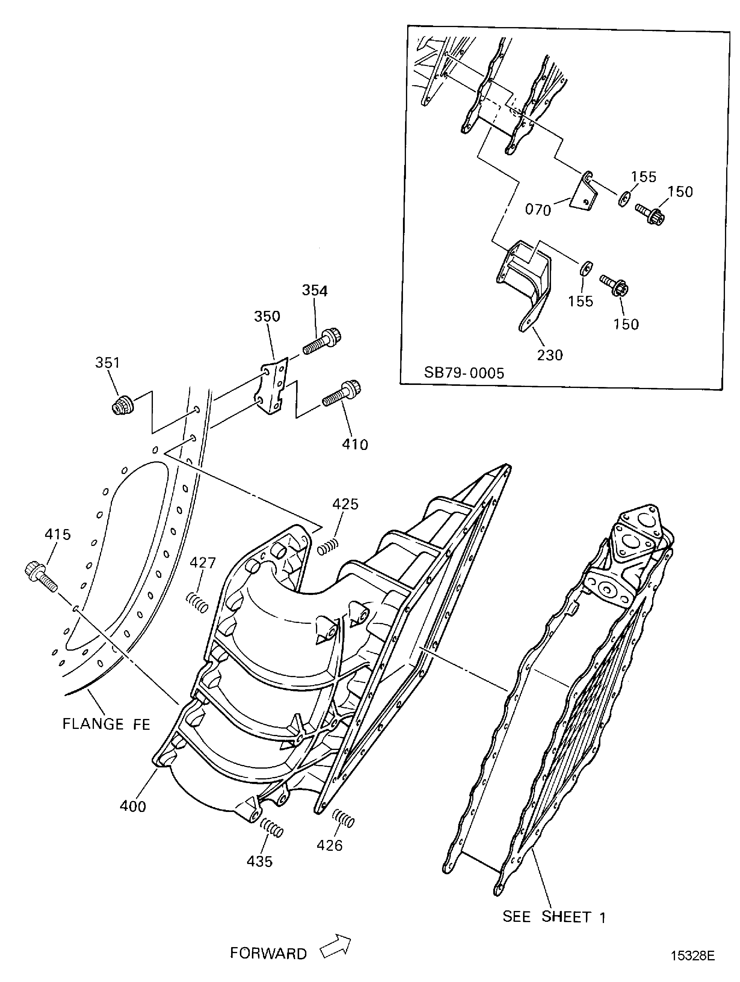
| 070 | 5W0091 | • BRACKET - ASSY POST SBE79-0005 | ab-al | 1 |
| 084 | 5W8327 | • BRACKET PRE SBE70-0158 | aa-al | 1 |
| 084A | 6A4682 | • BRACKET POST SBE70-0158 | aa-al | 1 |
| 084B | 6A4682 | • BRACKET ALT 5W8327 POST SBE70-0568 | ai-al | 1 |
| 084C | 5W8327 | • BRACKET ALT 6A4682 POST SBE70-0568 | ai-al | 1 |
| 086 | 5W8256 | • BRACKET PRE SBE79-0005 | aa | 1 |
| 088 | 5W8377 | • BRACKET PRE SBE70-0158 | aa-al | 1 |
| 088A | 6A4683 | • BRACKET POST SBE70-0158 PRE SBE70-0568 | aa-al | 1 |
| 088B | 6A4683 | • BRACKET ALT 5W8377 POST SBE70-0568 | aa-al | 1 |
| 088C | 5W8377 | • BRACKET ALT 6A4683 POST SBE70-0568 | ai-al | 1 |
| 090 | 5W8537 | • BRACKET PRE SBE70-0158 | aa-al | 1 |
| 090A | 6A4684 | • BRACKET - ASSY OF POST SBE70-0158 PRE SBE70-0568 | aa-al | 1 |
| 090B | 6A4684 | • BRACKET - ASSY OF ALT 5W8537 POST SBE70-0568 | aa-al | 1 |
| 090C | 5W8537 | • BRACKET ALT 6A4684 POST SBE70-0568 | ai-al | 1 |
| 100 | 0A2730-001 | • COOLER - OIL-AIR COOLED ,V0ABG4 SG215 PRE SBE79-0050 | aa-al | 1 |
| 100A | 50026001-1 | • COOLER - OIL SG215 REF No. 5U0075 POST SBE79-0050 PRE SBE79-0094 PRE SBE79-0109 | ah-aj | 1 |
| 100B | 50069001-1 | • COOLER - OIL, AIR COOLED SG215 POST SBE79-0094 PRE SBE79-0109 | ak-al | 1 |
| 100C | 50102001-1 | • COOLER - OIL, AIR COOLED SG215 POST SBE79-0109 | am | 1 |
| 135 | 4W0169 | • BOLT - .250 DIA X .938 | aa-al | 2 |
| 140 | AN960C416 | • WASHER 81352 PRE SBE72-0081 | aa-al | 2 |
| 140A | MS9321-10 | • WASHER 96906 POST SBE72-0081 | aa-al | 2 |
| 150 | 4W0169 | • BOLT - .250 DIA X .938 | aa-al | 22 |
| 155 | AN960C416 | • WASHER 81352 PRE SBE72-0081 | aa-al | 22 |
| 155A | MS9321-10 | • WASHER 96906 POST SBE72-0081 | aa-al | 22 |
| 170 | MS9954-03 | • • PLUG 96906 | aa-al | 1 |
| 175 | MS9387-03 | • • PACKING - PREFORMED 96906 PRE SBE70-0988 | aa-al | 1 |
| 175A | AS3208-03 | • • PACKING - PREFORMED U1653 ALT M83248-1-903 POST SBE70-0988 | aa-al | 1 |
| -175B | M83248-1-903 | • • PACKING - PERFORMED 81349 ALT AS3208-03 POST SBE70-0988 | aa-al | REF |
| 220 | 740-5450-503 | • SUPPORT - CABLE 51563 SEE 71-51-43 | aa-al | 1 |
| 230 | 740-5951-505 | • BRACKET 51563 Optional Part 740-5951-505 SEE 24-21-43 | aa-al | 1 |
| 235 | 740-5926-505 | • BRACKET 51563 Optional Part 740-5926-505 SEE 24-21-43 | aa-al | 1 |
| 350 | 5W8257 | • BRACKET PRE SBE70-0158 | aa-al | 1 |
| 350A | 6A4685 | • BRACKET POST SBE70-0158 PRE SBE70-0568 | aa-al | 1 |
| 350B | 6A4685 | • BRACKET ALT 5W8257 POST SBE70-0568 | aa-al | 1 |
| 350C | 5W8257 | • BRACKET ALT 6A4685 POST SBE70-0568 | ai-al | 1 |
| 351 | 4W0002 | • NUT - .250 DIA | aa-al | 1 |
| 354 | 4W0165 | • BOLT - .250 DIA X .688 | aa-al | 1 |
| 400 | 5T0034 | • DUCT - A/O INLET ACOC PRE SBE79-0009 | aa-af | 1 |
| 400A | 5T0061 | • DUCT - A/O INLET ACOC POST SBE79-0009 PRE SBE79-0010 | aa-af | 1 |
| -400B | 5T0060 | • DUCT - A/O INLET ACOC POST SBE79-0009 PRE SBE79-0009 | ***** | REF |
| 400C | 5T0056 | • DUCT - A/O INLET ACOC POST SBE79-0010 PRE SBE72-0103 | aa-af | 1 |
| 400D | 5T0067 | • DUCT - A/O INLET ACOC POST SBE72-0103 PRE SBE70-0274 | ag-al | 1 |
| 400E | 5T0067 | • DUCT - A/O INLET ACOC ALT 5T0170 POST SBE70-0274 | ag-al | 1 |
| 400F | 5T0170 | • DUCT - A/O INLET ACOC ALT 5T0067 POST SBE70-0274 | aj-al | 1 |
| 410 | 4W0168 | • BOLT - .250 DIA X .875 | aa-al | 10 |
| 415 | 4W0170 | • BOLT - .250 DIA X 1.000 PRE SBE72-0103 | aa-af | 12 |
| 415A | 4W1250 | • BOLT - .250 DIA X 1.000 POST SBE72-0103 | ag-al | 12 |
| 425 | AGS3782 | • • INSERT - SCREW THREAD, .250-28 X 2.5D U1653 | aa-al | 10 |
| 426 | AGS3782 | • • INSERT - SCREW THREAD, .250-28 X 2.5D U1653 | aa-al | 22 |
| 427 | AGS3782 | • • INSERT - SCREW THREAD, .250-28 X 2.5D U1653 | aa-al | 12 |
| 435 | AGS3781 | • • INSERT - SCREW THREAD U1653 | aa-al | 6 |
| -700 | AS43013-118 | • RING - SEALING TOROIDAL, 21.89MM I/D X 2.62MM U1653 SEE 79-21-49 | aa-al | REF |
| -710 | AS43013-118 | • RING - SEALING TOROIDAL, 21.89MM I/D X 2.62MM U1653 SEE 79-21-49 | aa-al | REF |
| -720 | AS43013-112 | • RING - SEALING TOROIDAL (79-32-15 01220), 12.37 MM I/D X 2.62 MM U1653 | aa-al | REF |
| - ITEM NOT ILLUSTRATED, ***** EFFECTIVITY NOT AVAILABLE | ||||
Figure: OIL-AIR COOLED OIL COOLER
AIR COOLED OIL COOLER

AIR COOLED OIL COOLER

