DMC:V2500-A1-79-22-49-12A-941A-DIssue No:001.00Issue Date:2014-05-01
Export Control
EAR Export Classification: Not subject to the EAR per 15 C.F.R. Chapter 1, Part 734.3(b)(3), except for the following Service Bulletins which are currently published as EAR Export Classification 9E991: SBE70-0992, SBE72-0483, SBE72-0580, SBE72-0588, SBE72-0640, SBE73-0209, SBE80-0024 and SBE80-0025.Copyright
© IAE International Aero Engines AG (2001, 2014 - 2021) The information contained in this document is the property of © IAE International Aero Engines AG and may not be copied or used for any purpose other than that for which it is supplied without the express written authority of © IAE International Aero Engines AG. (This does not preclude use by engine and aircraft operators for normal instructional, maintenance or overhaul purposes.).Applicability
All
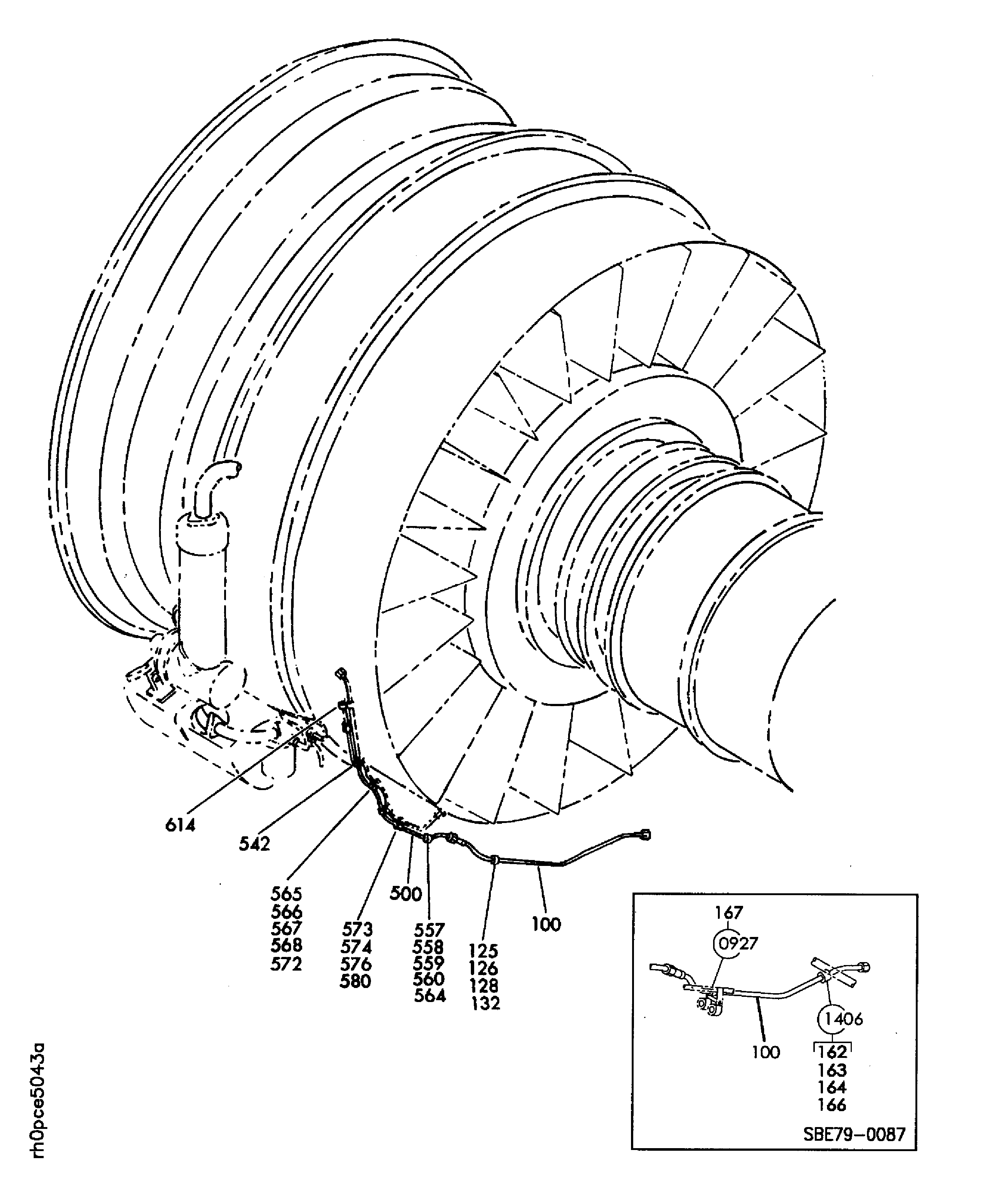
| Fig. Item | Part No. | Description | Effect/Model Applic. | UPA |
|---|---|---|---|---|
| 12 | ||||
| B79224912 | OIL-SCAVENGE OIL TUBES-ENGINE, PRE SBN70-0143 | aa | ||
| SBN0143-01 | OIL-SCAVENGE OIL TUBES-ENGINE, PRE SBE75-0010 | ab | ||
| SBE0010-01 | OIL-SCAVENGE OIL TUBES-ENGINE, PRE SBE79-0036 | ac | ||
| SBE0036-01 | OIL-SCAVENGE OIL TUBES-ENGINE, PRE SBE73-0045 | ad | ||
| SBE0045-01 | OIL-SCAVENGE OIL TUBES-ENGINE, PRE SBE0962–01 | ae | ||
| SBE0962-01 | OIL-SCAVENGE OIL TUBES-ENGINE, PRE SBE70-0087 | af | ||
| SBE0087-01 | OIL-SCAVENGE OIL TUBES-ENGINE | ag | ||
| -005 | 740-5019-515 | ARRGT - OIL SYSTEM INDICATING 51563 | aa-ag | REF |
| -005A | 740-5019-517 | ARRGT - OIL SYSTEM INDICATING 51563 PRE SBN70-0143 | aa | REF |
| -005B | 740-5019-519 | ARRGT - OIL SYSTEM INDICATING 51563 POST SBN70-0143 | ab-ag | REF |
| -005C | 740-5019-521 | ARRGT - OIL SYSTEM INDICATING 51563 POST SBE75-0010 PRE SBE70-0962 | ac-af | REF |
| -005D | 740-5019-529 | ARRNGMNT 51563 POST SBE70-0962 | ag | REF |
| 100 | 740-5793-507 | • TUBE - ASSY 51563 | aa-ag | 1 |
| 100A | 740-5793-509 | • TUBE - ASSY 51563 PRE SBN70-0143 | aa-ae | 1 |
| 100B | 740-5793-511 | • TUBE - ASSY OIL PRESSURE 51563 POST SBN70-0143 PRE SBE79-0087 | aa-ae | 1 |
| 100C | 740-5793-513 | • TUBE - ASSY 51563 POST SBE79-0087 | af-ag | 1 |
| 125 | 4W0103 | • BOLT - .190 DIA X .500 PRE SBE79-0087 | aa-ae | 1 |
| 126 | SP154D | • WASHER - .190 DIA K7766 PRE SBE79-0087 | aa-ae | 1 |
| 128 | 400WSS8 | • CLIP 83930 PRE SBE79-0087 | aa-ae | 1 |
| 132 | 4W0001 | • NUT - .190 DIA PRE SBE79-0087 | aa-ae | 1 |
| 162 | AS21408 | • BOLT - BIHEX HD, .190 DIA X .500 U1653 POST SBE79-0087 | af-ag | 1 |
| 163 | SP154D | • WASHER - FLAT, .190 DIA K7766 POST SBE79-0087 | af-ag | 1 |
| 164 | 400WSS4 | • CLIP 83930 POST SBE79-0087 | af-ag | 1 |
| 166 | AS20624 | • NUT - SELF LOCKING,BIHEX, .190 DIA U1653 POST SBE79-0087 | af-ag | 1 |
| 167 | 400WSS4 | • CLIP 83930 POST SBE79-0087 | af-ag | 1 |
| 500 | 740-5767-507 | • TUBE - ASSY OIL SCAVENGE 51563 | aa-ag | 1 |
| 500A | 740-5755-511 | • TUBE - ASSY OIL PRESSURE 51563 PRE SBN70-0143 | aa-ag | 1 |
| 500B | 740-5755-513 | • TUBE - ASSY OIL PRESSURE 51563 POST SBN70-0143 | aa-ag | 1 |
| 525 | AS21408 | • BOLT - .190 DIA X .500 U1653 | aa-ag | 1 |
| 526 | SP154D | • WASHER - .190 DIA K7766 | aa-ag | 1 |
| 528 | 400WSS4 | • CLIP 83930 | aa-ag | 1 |
| 532 | AS20624 | • NUT - .190 DIA U1653 | aa-ag | 1 |
| 541 | AS21409 | • BOLT - .190 DIA X .562 U1653 | aa-ag | 1 |
| 542 | SP154D | • WASHER - .190 DIA K7766 | aa-ag | 2 |
| 544 | 400WSS4 | • CLIP 83930 | aa-ag | 1 |
| 548 | AS20624 | • NUT - .190 DIA U1653 | aa-ag | 1 |
| 549 | AS21408 | • BOLT - .190 DIA X .500 U1653 | aa-ag | 1 |
| 550 | SP154D | • WASHER - .190 DIA K7766 | aa-ag | 1 |
| 552 | 400WSS4 | • CLIP 83930 | aa-ag | 1 |
| 556 | AS20624 | • NUT - .190 DIA U1653 | aa-ag | 1 |
| 557 | 4W0103 | • BOLT - .190 DIA X .500 | aa-ag | 1 |
| 558 | SP154D | • WASHER - .190 DIA K7766 | aa-ag | 1 |
| 559 | ST1698D47 | • SPACER K4585 POST SBE79-0036 | ad-ag | 1 |
| 560 | 400WSS4 | • CLIP 83930 | aa-ag | 1 |
| 564 | 4W0001 | • NUT - .190 DIA | aa-ag | 1 |
| 565 | 4W0104 | • BOLT - .190 DIA X .562 | aa-ag | 1 |
| 566 | SP154D | • WASHER - .190 DIA K7766 | aa-ag | 2 |
| 567 | ST1698D47 | • SPACER K4585 POST SBE79-0036 | ad-ag | 1 |
| 568 | 400WSS4 | • CLIP 83930 | aa-ag | 1 |
| 572 | 4W0001 | • NUT - .190 DIA | aa-ag | 1 |
| 573 | 4W0103 | • BOLT - .190 DIA X .500 | aa-ag | 1 |
| 574 | SP154D | • WASHER - .190 DIA K7766 | aa-ag | 1 |
| 576 | 400WSS16 | • CLIP 83930 PRE SBE73-0045 | aa-ad | 1 |
| 576A | AS62416 | • CLIP - 25.40 MM (1.000) U1653 POST SBE73-0045 | ae-ag | 1 |
| 580 | 4W0001 | • NUT - .190 DIA | aa-ag | 1 |
| 614 | 400WSS4 | • CLIP 83930 | aa-ag | 1 |
| - ITEM NOT ILLUSTRATED, ***** EFFECTIVITY NOT AVAILABLE | ||||
Figure: OIL-SCAVENGE OIL TUBES-ENGINE
Scavenge Oil Tubes Engine

