DMC:V2500-A5-71-00-23-01A-941A-DIssue No:002.00Issue Date:2020-02-01
Export Control
EAR Export Classification: Not subject to the EAR per 15 C.F.R. Chapter 1, Part 734.3(b)(3), except for the following Service Bulletins which are currently published as EAR Export Classification 9E991: SBE70-0992, SBE72-0483, SBE72-0580, SBE72-0588, SBE72-0640, SBE73-0209, SBE80-0024 and SBE80-0025.Copyright
© IAE International Aero Engines AG (2001, 2014 - 2021) The information contained in this document is the property of © IAE International Aero Engines AG and may not be copied or used for any purpose other than that for which it is supplied without the express written authority of © IAE International Aero Engines AG. (This does not preclude use by engine and aircraft operators for normal instructional, maintenance or overhaul purposes.).Applicability
V2500-A5
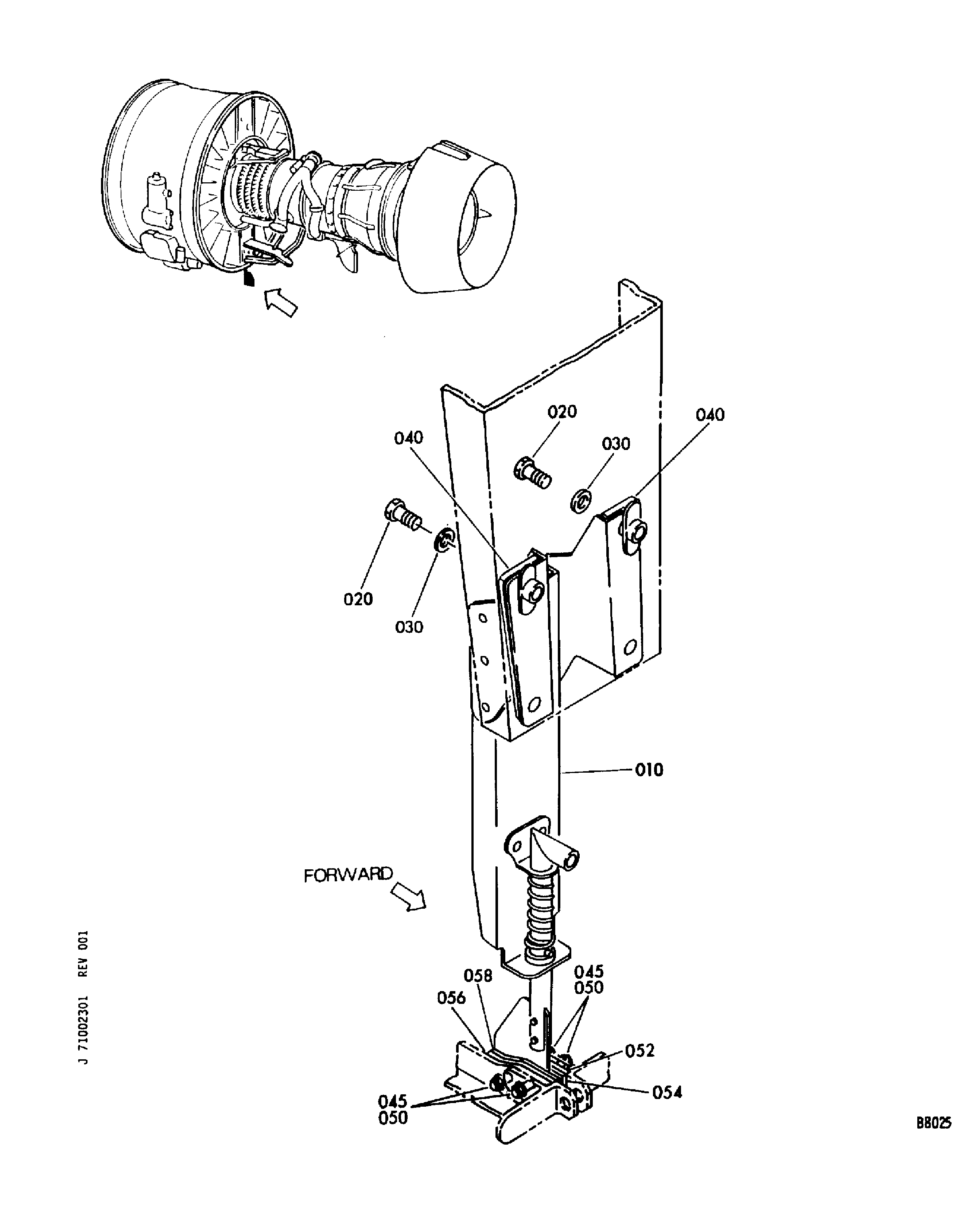
| Fig. Item | Part No. | Description | Effect/Model Applic. | UPA |
|---|---|---|---|---|
| 01 | ||||
| B71002301 | FORWARD OPEN LATCH INDICATOR - THRUST REVERSER, PRE SBN71-0098 | aa | ||
| SBN0098-01 | FORWARD OPEN LATCH INDICATOR - THRUST REVERSER | ab | ||
| 010 | 740-0137-511 | • INDICAT0R - OPEN LATCH, ASSEMBLY OF 51563 PRE SBN71-0098 | aa | 1 |
| 010A | 740-0137-513 | • INDICAT0R - OPEN LATCH, ASSEMBLY OF 51563 POST SBN71-0098 | aa-ab | 1 |
| 020 | NAS6304-6 | • BOLT 80205 | aa-ab | 2 |
| 020A | MS9557-10 | • BOLT - MACHINE, DOUBLE HEXAGON, EXTENDED WASHER HEAD, 0.250 - 28 X 0.750 96906 | aa-ab | 2 |
| 030 | AN960-416 | • WASHER - FLAT 88044 | aa-ab | 2 |
| 040 | 740-0136-27 | • SHIM 51563 | aa-ab | 2 |
| 045 | MS21043-04 | • NUT 96906 | aa-ab | 2 |
| 050 | NAS7500-04 | • BOLT 80205 | aa-ab | 2 |
| 052 | 740-0136-43 | • SHIM 51563 | aa-ab | 1 |
| 054 | 740-0136-48 | • PAD - GUIDE 51563 | aa-ab | 1 |
| 056 | 740-0136-43 | • SHIM 51563 | aa-ab | 1 |
| 058 | 740-0136-47 | • PAD - GUIDE 51563 | aa-ab | 1 |
| - ITEM NOT ILLUSTRATED, ***** EFFECTIVITY NOT AVAILABLE | ||||
Figure: FORWARD OPEN LATCH INDICATOR-THRUST REVERSER
INDICATOR OPEN LATCH

