DMC:V2500-A5-71-51-50-02A-941A-DIssue No:001.00Issue Date:2014-05-01
Export Control
EAR Export Classification: Not subject to the EAR per 15 C.F.R. Chapter 1, Part 734.3(b)(3), except for the following Service Bulletins which are currently published as EAR Export Classification 9E991: SBE70-0992, SBE72-0483, SBE72-0580, SBE72-0588, SBE72-0640, SBE73-0209, SBE80-0024 and SBE80-0025.Copyright
© IAE International Aero Engines AG (2001, 2014 - 2021) The information contained in this document is the property of © IAE International Aero Engines AG and may not be copied or used for any purpose other than that for which it is supplied without the express written authority of © IAE International Aero Engines AG. (This does not preclude use by engine and aircraft operators for normal instructional, maintenance or overhaul purposes.).Applicability
All
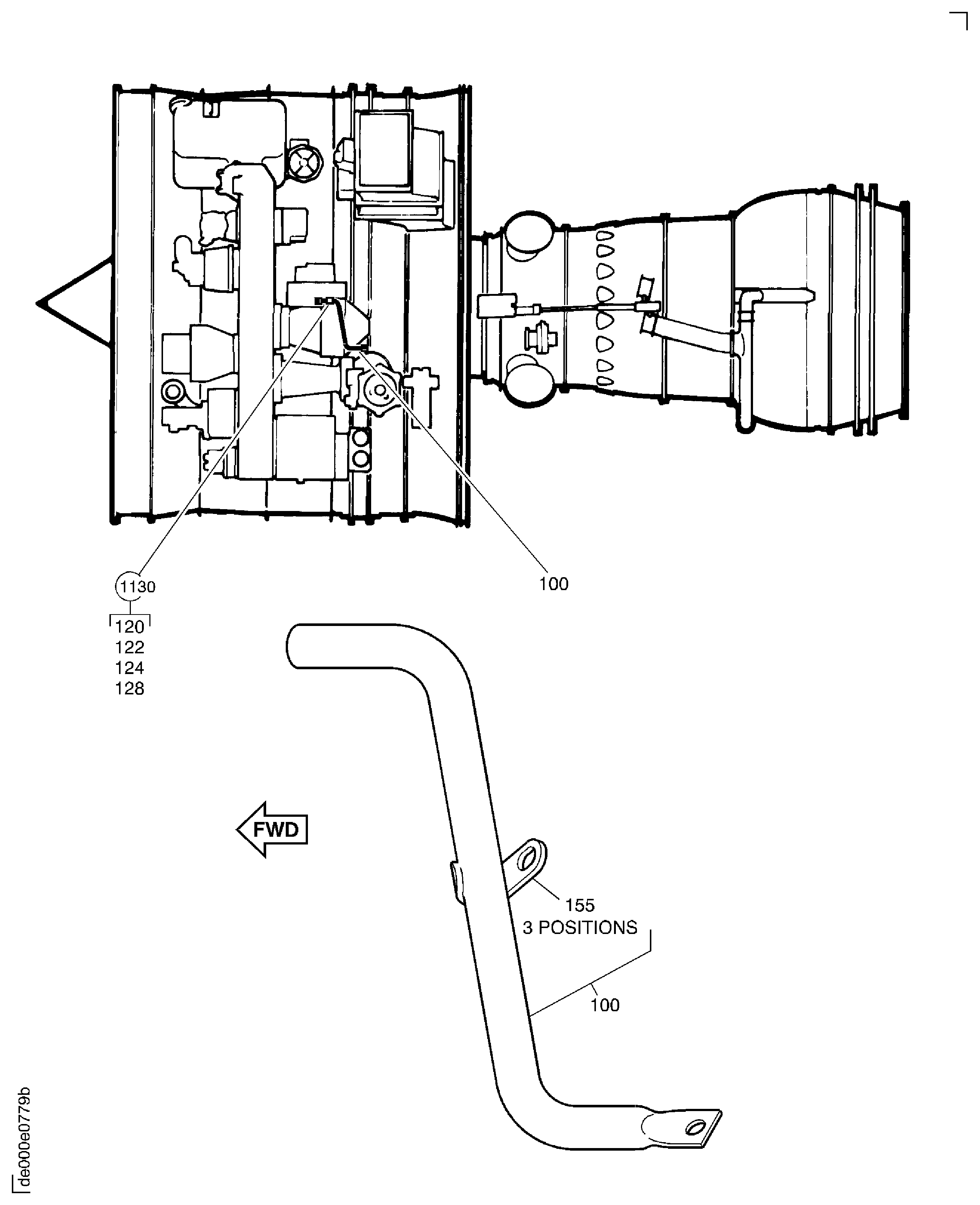
| Fig. Item | Part No. | Description | Effect/Model Applic. | UPA |
|---|---|---|---|---|
| 02 | ||||
| B71515002 | BRACKETS & RACEWAYS-HARNESS SUPPORT-FAN | aa | ||
| 100 | 6A5205 | • RACEWAY - A/O | aa | 1 |
| 120 | 400WSS8 | • CLIP - LOOP TYPE 83930 | aa | 1 |
| 122 | AS20908 | • BOLT - BIHEX HD, .190 DIA X .500 U1653 | aa | 1 |
| 124 | K8831 | • WASHER - .190 DIA X 0,51 THK | aa | 1 |
| 128 | 4W0043 | • NUT - .190 DIA Optional Part 4W0043 | aa | 1 |
| 155 | UP11155 | • • BRACKET - INTER TUBE SUPPORT | aa | 3 |
| - ITEM NOT ILLUSTRATED, ***** EFFECTIVITY NOT AVAILABLE | ||||
Figure: BRACKETS & RACEWAYS-HARNESS SUPPORT-FAN
BRACKETS AND RACEWAY HARNESS SUPPORT FANCASE

