DMC:V2500-A5-72-00-50-01A-941A-DIssue No:001.00Issue Date:2014-05-01
Export Control
EAR Export Classification: Not subject to the EAR per 15 C.F.R. Chapter 1, Part 734.3(b)(3), except for the following Service Bulletins which are currently published as EAR Export Classification 9E991: SBE70-0992, SBE72-0483, SBE72-0580, SBE72-0588, SBE72-0640, SBE73-0209, SBE80-0024 and SBE80-0025.Copyright
© IAE International Aero Engines AG (2001, 2014 - 2021) The information contained in this document is the property of © IAE International Aero Engines AG and may not be copied or used for any purpose other than that for which it is supplied without the express written authority of © IAE International Aero Engines AG. (This does not preclude use by engine and aircraft operators for normal instructional, maintenance or overhaul purposes.).Applicability
V2500-A5
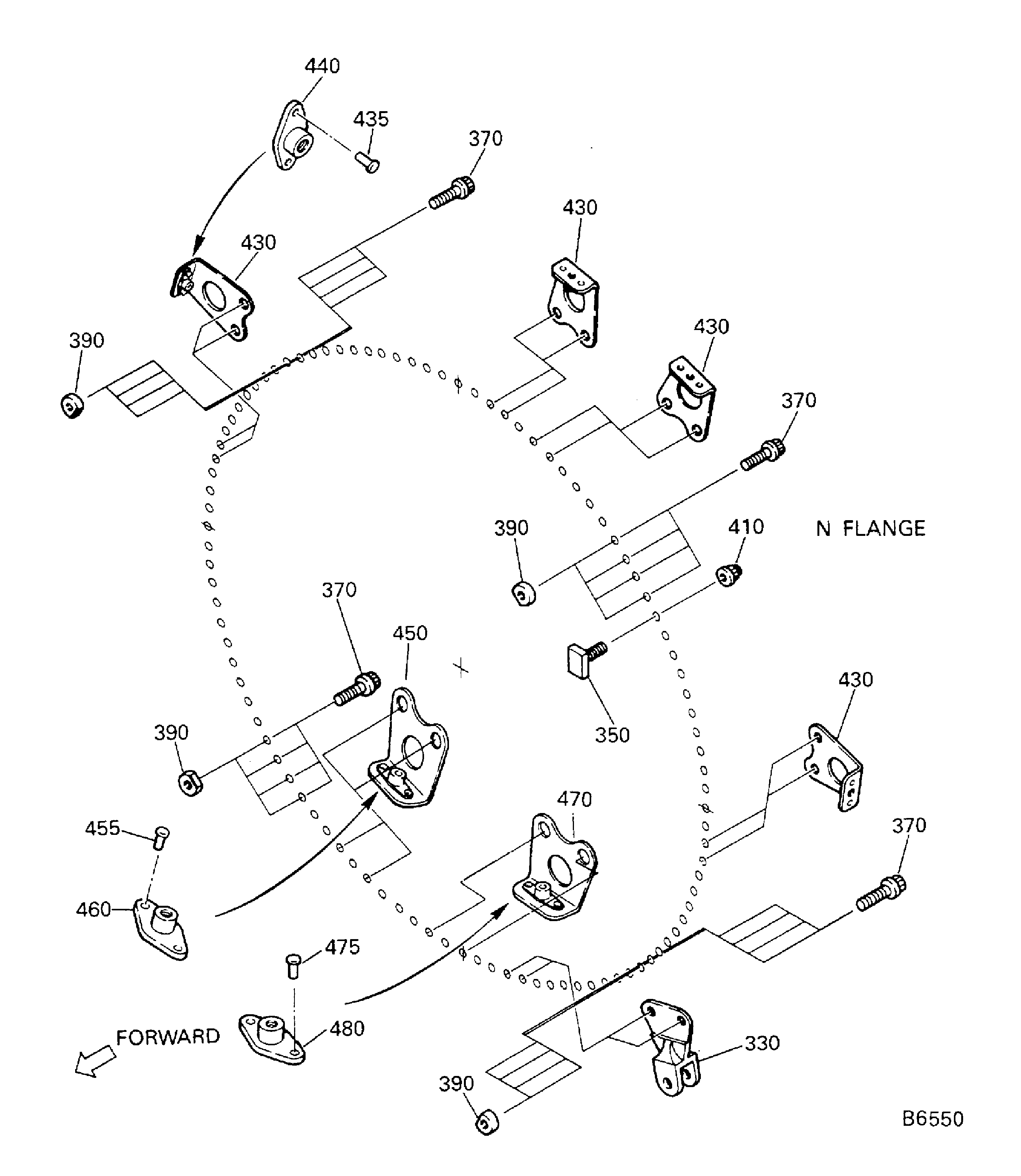
| Fig. Item | Part No. | Description | Effect/Model Applic. | UPA |
|---|---|---|---|---|
| 01 | ||||
| - | B72005001 | ENGINE-ATTACH PARTS & FITTINGS-LP TURBINE MODULE, PRE SBE70-0295 | aa | |
| - | SBE0295-01 | ENGINE-ATTACH PARTS & FITTINGS-LP TURBINE MODULE, PRE SBE70-0574 | ab | |
| - | SBE0574-01 | ENGINE-ATTACH PARTS & FITTINGS-LP TURBINE MODULE, PRE SBE70-0719 | a | |
| - | SBE0719-01 | ENGINE-ATTACH PARTS & FITTINGS-LP TURBINE MODULE, PRE SBE70-0825 | ad | |
| - | SBE0825-01 | ENGINE-ATTACH PARTS & FITTINGS-LP TURBINE MODULE | ae | |
| 100 | RR375 | • RING - RETAINING INT, 3.750 DIA 80756 | aa-ae/01 | 1 |
| 120 | 5A0057 | • CAP, LOCKING | aa-ae/01 | 1 |
| 140 | 5A0378 | • NUT, LOCK, FRONT | aa-ae/01 | 1 |
| 300 | 5A0996 | • RING, ADJUSTABLE, THK 0.5906 | aa-ae/01 | 1 |
| 303 | 5A0997 | • RING, ADJUSTABLE, THK 0.4823 | aa-ae/01 | 1 |
| 304 | 5A0998 | • RING, ADJUSTABLE, THK 0.4872 | aa-ae/01 | 1 |
| 305 | 5A0999 | • RING, ADJUSTABLE, THK 0.4921 | aa-ae/01 | 1 |
| 306 | 5A1036 | • RING, ADJUSTABLE, THK 0.4970 | aa-ae/01 | 1 |
| 307 | 5A1037 | • RING, ADJUSTABLE, THK 0.5020 | aa-ae/01 | 1 |
| 308 | 5A1038 | • RING, ADJUSTABLE, THK 0.5069 | aa-ae/01 | 1 |
| 309 | 5A1839 | • RING, ADJUSTING, THK 0.5118 IN POST SBE70-0719 | ad-ae/01 | 1 |
| 315 | 5A1881 | • RING, ADJUSTING, 0.4675 POST SBE70-0825 | ae/01 | 1 |
| 316 | 5A1882 | • RING, ADJUSTING, 0.4724 POST SBE70-0825 | ae/01 | 1 |
| 317 | 5A1883 | • RING, ADJUSTING, 0.4774 POST SBE70-0825 | ae/01 | 1 |
| 330 | 5T8123 | • BRACKET ALT 5T8100 PRE SBE70-0574 | aa-ab/02 | 1 |
| 330A | 5T8123 | • BRACKET ALT 6A6594 POST SBE70-0574 | ac-ae/03 | 1 |
| -330B | 5T8100 | • BRACKET ALT 5T8123 PRE SBE70-0574 | aa-ab/02 | REF |
| 330C | 5T8100 | • BRACKET ALT 5T8123 POST SBE70-0574 | ac-ae/03 | 1 |
| 330D | 6A6594 | • BRACKET ALT 5T8100 POST SBE70-0574 | ac-ae/01 | 1 |
| 350 | 4W0935 | • BOLT - .3125 DIA X 1.000 (SEE APPENDIX 5) | aa-ae/01 | 84 |
| 370 | ST1353-08 | • BOLT, MACHINE, 0.3125 - 24 77445 | aa-ae/01 | 16 |
| 390 | 793423 | • NUT - PLAIN ROUND, .3125-24 X .2 77445 | aa-ae/01 | 16 |
| 410 | 4W0003 | • NUT - .3125 DIA (SEE APPENDIX 5) | aa-ae/01 | 84 |
| 430 | 2A0292 | • BRACKET, MANIFOLD SUPPORT | aa-ae/01 | 4 |
| 435 | MS20427M3-4 | • • RIVET, 100 DEGREE C/S 96906 PRE SBE70-0295 | aa/02 | 2 |
| 435A | MS20427M3-3 | • • RIVET, 100 DEGREE C/S 96906 POST SBE70-0295 | ab-ae/01 | 2 |
| 440 | MS21048-3 | • • NUT, ANCHOR TWO-LUG PLATE 96906 | aa-ae/01 | 1 |
| 450 | 2A1581 | • BRACKET, MANIFOLD, TURBINE COOLING, ASSEMBLY OF | aa-ae/01 | 1 |
| 455 | MS20427M3-4 | • • RIVET, 100 DEGREE C/S 96906 PRE SBE70-0295 | aa/02 | 2 |
| 455A | MS20427M3-3 | • • RIVET, 100 DEGREE C/S 96906 POST SBE70-0295 | ab-ae/01 | 2 |
| 460 | MS21048-3 | • • NUT, ANCHOR TWO-LUG PLATE 96906 | aa-ae/01 | 1 |
| 470 | 2A1579 | • BRACKET, MANIFOLD, TURBINE COOLING, ASSEMBLY OF | aa-ae/01 | 1 |
| 475 | MS20427M3-4 | • • RIVET, 100 DEGREE C/S 96906 PRE SBE70-0295 | aa/02 | 2 |
| 475A | MS20427M3-3 | • • RIVET, 100 DEGREE C/S 96906 POST SBE70-0295 | ab-ae/01 | 2 |
| 480 | MS21048-3 | • • NUT, ANCHOR TWO-LUG PLATE 96906 | aa-ae/01 | 1 |
| - ITEM NOT ILLUSTRATED, ***** EFFECTIVITY NOT AVAILABLE | ||||
Figure: LP TURBINE (LPT) MODULE
LP TURBINE (LPT) MODULE

LP TURBINE (LPT) MODULE

