DMC:V2500-A5-72-32-00-01A-941A-DIssue No:004.00Issue Date:2019-11-01
Export Control
EAR Export Classification: Not subject to the EAR per 15 C.F.R. Chapter 1, Part 734.3(b)(3), except for the following Service Bulletins which are currently published as EAR Export Classification 9E991: SBE70-0992, SBE72-0483, SBE72-0580, SBE72-0588, SBE72-0640, SBE73-0209, SBE80-0024 and SBE80-0025.Copyright
© IAE International Aero Engines AG (2001, 2014 - 2021) The information contained in this document is the property of © IAE International Aero Engines AG and may not be copied or used for any purpose other than that for which it is supplied without the express written authority of © IAE International Aero Engines AG. (This does not preclude use by engine and aircraft operators for normal instructional, maintenance or overhaul purposes.).Applicability
V2500-A5
| Fig. Item | Part No. | Description | Effect/Model Applic. | UPA | |
|---|---|---|---|---|---|
| 01 | |||||
| - | B72320001 | ENGINE - LP COMP/INTERMEDIATE CASE MODULE, PRE SBE72-0160 | aa | ||
| - | SBE0160-01 | ENGINE - LP COMP/INTERMEDIATE CASE MODULE, PRE SBE70-0257 | ab | ||
| - | SBE0257-01 | ENGINE - LP COMP/INTERMEDIATE CASE MODULE, PRE SBE70-0266 | ac | ||
| - | SBE0266-01 | ENGINE - LP COMP/INTERMEDIATE CASE MODULE, PRE SBE72-0212 | ad | ||
| - | SBE0212-01 | ENGINE - LP COMP/INTERMEDIATE CASE MODULE, PRE SBE72-0230 | ae | ||
| - | SBE0230-01 | ENGINE - LP COMP/INTERMEDIATE CASE MODULE, PRE SBE72-0442 | af | ||
| - | SBE0442-01 | ENGINE - LP COMP/INTERMEDIATE CASE MODULE, PRE SBE72-0435 | ag | ||
| - | SBE0435-01 | ENGINE - LP COMP/INTERMEDIATE CASE MODULE, PRE SBE71-0303 | ah | ||
| - | SBE0303-01 | ENGINE - LP COMP/INTERMEDIATE CASE MODULE, PRE SBE72-0553 | ai | ||
| - | SBE0553-01 | ENGINE - LP COMP/INTERMEDIATE CASE MODULE, PRE SBE72-0662 | aj | ||
| - | SBE0662-01 | ENGINE-LP COMP/INTERMEDIATE CASE MODULE, PRE SBE72-0701 | ak | ||
| - | SBE0701-01 | ENGINE-LP COMP/INTERMEDIATE CASE MODULE | al | ||
| 001 | 5W0130 | CASE - LPC, INTERMEDIATE, ASSEMBLY OF PRE SBE72-0160 | aa/01 | 1 | |
| 001A | 5W0150 | CASE - LPC INTERMEDIATE, ASSEMBLY OF POST SBE72-0160 PRE SBE70-0266 | ab-ac/01 | 1 | |
| 001B | 5W0157 | CASE - INTERMEDIATE LPC POST SBE70-0266 PRE SBE72-0230 | ad-ae/01 | 1 | |
| 001C | 5W0155 | MODULE - LPC, INTERMEDIATE CASE PRE SBE72-0435 | aa-ag/01 | 1 | |
| 001D | 5W0166 | CASE POST SBE72-0230 PRE SBE72-0435 | af-ag/01 | 1 | |
| 001E | 5W0167 | CASE POST SBE72-0230 PRE SBE72-0435 | af-ag/01 | 1 | |
| 001F | 5W0155 | MODULE - LPC, INTERMEDIATE CASE POST SBE72-0230 PRE SBE72-0435 | af-ag/02 | 1 | |
| 001G | 5W0181 | MODULE POST SBE72-0435 PRE SBE71-0303 | ah/03 | 1 | |
| 001H | 5W0182 | CASE - LPC, INTERMEDIATE MODULE POST SBE72-0435 PRE SBE71-0303 | ah/03 | 1 | |
| 001I | 5W0183 | CASE - LPC, INTERMEDIATE MODULE POST SBE72-0435 PRE SBE71-0303 | ah/03 | 1 | |
| 001J | 5W0228 | LPC - INTERMEDIATE CASE, MODULE POST SBE71-0303 PRE SBE72-0553 | ai/03 | 1 | |
| 001K | 5W0244 | LPC - INTERMEDIATE CASE, MODULE POST SBE71-0303 PRE SBE72-0553 | ai/01 | 1 | |
| 001L | 5W0245 | LPC - INTERMEDIATE CASE, MODULE POST SBE71-0303 PRE SBE72-0553 | ai/01 | 1 | |
| 001M | 5W0246 | LPC - INTERMEDIATE CASE, MODULE POST SBE71-0303 PRE SBE72-0553 | ai/01 | 1 | |
| 001N | 5W0247 | LPC - INTERMEDIATE CASE, MODULE POST SBE71-0303 PRE SBE72-0553 | ai/03 | 1 | |
| 001O | 5W0248 | LPC - INTERMEDIATE CASE, MODULE POST SBE71-0303 PRE SBE72-0553 | ai/01 | 1 | |
| 001P | 5W0249 | LPC - INTERMEDIATE CASE, MODULE POST SBE71-0303 PRE SBE72-0553 | ai/01 | 1 | |
| 001Q | 5W0250 | LPC - INTERMEDIATE CASE, MODULE POST SBE71-0303 PRE SBE72-0553 | ai/01 | 1 | |
| 001R | 5W0251 | LPC - INTERMEDIATE CASE, MODULE POST SBE71-0303 PRE SBE72-0553 | ai/01 | 1 | |
| 001S | 5W0254 | LPC - INTERMEDIATE CASE, MODULE POST SBE72-0553 | aj/03 | 1 | |
| 001T | 5W0256 | LPC - INTERMEDIATE CASE, MODULE POST SBE72-0553 | aj/03 | 1 | |
| 001U | 5W0257 | LPC - INTERMEDIATE CASE, MODULE POST SBE72-0553 | aj/03 | 1 | |
| 001V | 5W0258 | LPC - INTERMEDIATE CASE, MODULE POST SBE72-0553 | aj/03 | 1 | |
| 001W | 5W0259 | LPC - INTERMEDIATE CASE, MODULE POST SBE72-0553 | aj/03 | 1 | |
| 001X | 5W0260 | LPC - INTERMEDIATE CASE, MODULE POST SBE72-0553 | aj/03 | 1 | |
| 001Y | 5W0262 | LPC - INTERMEDIATE CASE, MODULE POST SBE72-0553 | aj/03 | 1 | |
| 001Z | 5W0263 | LPC - INTERMEDIATE CASE, MODULE POST SBE72-0553 | aj/03 | 1 | |
| 001AA | 5W0264 | LPC - INTERMEDIATE CASE, MODULE POST SBE72-0553 | aj/03 | 1 | |
| 001AB | 5W0265 | LPC - INTERMEDIATE CASE, MODULE POST SBE72-0553 | aj/03 | 1 | |
| 001AC | 5W0266 | LPC - INTERMEDIATE CASE, MODULE POST SBE72-0553 | aj/03 | 1 | |
| 001AD | 5W0267 | LPC - INTERMEDIATE CASE, MODULE POST SBE72-0553 | aj/03 | 1 | |
| 001AE | 5W0268 | LPC - INTERMEDIATE CASE, MODULE POST SBE72-0553 | aj/03 | 1 | |
| 001AF | 5W0269 | LPC - INTERMEDIATE CASE, MODULE POST SBE72-0553 | aj/03 | 1 | |
| 001AG | 5W0270 | LPC - INTERMEDIATE CASE, MODULE POST SBE72-0553 | aj/03 | 1 | |
| 001AH | 5W0271 | LPC - INTERMEDIATE CASE, MODULE POST SBE72-0553 | aj/03 | 1 | |
| 001AI | 5W0272 | LPC - INTERMEDIATE CASE, MODULE POST SBE72-0553 | aj/03 | 1 | |
| -100 | 72-32-96 | TUBE - OIL, AND AIR TRANSFER | aa-aj/03 | REF | |
| 110 | AS21516 | • BOLT - BIHEXAGON HEAD, 0.250 DIA X 1.000 U1653 | aa-aj/03 | 3 | |
| 115 | AS43013-124 | • RING - SEALING, TOROIDAL U1653 | aa-aj/03 | 1 | |
| -125 | 72-32-96 | TUBE - OIL, AND AIR TRANSFER | aa-aj/03 | REF | |
| 130 | 4W0174 | • BOLT - 0.250 DIA X 10.250 | aa-aj/03 | 3 | |
| 135 | AS43013-212 | • RING U1653 PRE SBE72-0701 | aa-ak/03 | 1 | |
| 135A | M83485-1-212 | • O-RING 96906 POST SBE72-0701 | al/03 | 1 | |
| -150 | 72-32-94 | TUBE - SEAL PTO SHAFT | aa-aj/03 | REF | |
| 154 | 5A2138 | • RING - SEAL TRAPEZOIDAL PRE SBE72-0212 | aa-ad/01 | 1 | |
| 154A | 5A1641 | • RING - SEALING, TOROIDAL PRE SBE72-0662 | aa-aj/01 | 1 | |
| 154B | 5A1641 | • RING - SEALING, TOROIDAL POST SBE72-0212 PRE SBE72-0662 | ae-aj/02 | 1 | |
| 154C | 5A2209 | • RING,SEALING TOROIDAL POST SBE72-0662 | ak/03 | 1 | |
| 158 | AS43013-128 | • RING - SEALING, TOROIDAL U1653 | aa-aj/03 | 1 | |
| 160 | 4W0164 | • BOLT OPTION - .250 DIA X .625 | aa-aj/03 | 4 | |
| -200 | 72-32-93 | FAIRING - FRONT INTERIM STRUCTURE | aa-aj/03 | REF | |
| 210 | AS50909 | • SCREW - 100 DEG COUNTERSUNK U1653 | aa-aj/03 | 14 | |
| -300 | 72-32-89 | FAIRING -S - PANEL | aa-aj/03 | REF | |
| 335 | 5A1502 | • BOLT | aa-aj/03 | 20 | |
| 337 | 5A0802 | • WASHER PRE SBE70-0377 | *****/01 | 20 | |
| 337A | 5A0802 | • WASHER | aa-aj/01 | 20 | |
| -350 | 72-32-88 | VANE - OUTLET GUIDE, LPC | aa-aj/03 | REF | |
| 370 | 5A1502 | • BOLT | aa-aj/03 | 40 | |
| 375 | 5A0798 | • WASHER PRE SBE70-0257 | aa-ab/01 | 20 | |
| 375A | 5A1479 | • WASHER POST SBE70-0257 | ac-aj/01 | 20 | |
| 375B | 5A1479 | • WASHER | aa-aj/02 | 20 | |
| 376 | 5A0804 | • WASHER - BOLT SPECIAL B PRE SBE70-0257 | aa-ab/01 | 20 | |
| 376A | 5A1479 | • WASHER POST SBE70-0257 | ac-aj/01 | 20 | |
| 376B | 5A1479 | • WASHER | aa-aj/02 | 20 | |
| 377 | 5A0803 | • BOLT | aa-aj/03 | 40 | |
| -500 | 72-32-85 | CASE - FAN | aa-aj/03 | REF | |
| 520 | AS27824 | • NUT - .3125 DIA U1653 | aa-aj/03 | 20 | |
| 525 | AS32319 | • BOLT - CLOSE TOL DEE HEAD U1653 | aa-aj/03 | 20 | |
| 535 | AS21113 | • BOLT - 0.3125 DIA X 0.812 U1653 PRE SBE72-0435 | aa-ag/03 | 70 | |
| 535A | AS21113 | • BOLT - 0.3125 DIA X 0.812 U1653 POST SBE72-0435 | ah-aj/03 | 68 | |
| 540 | AS21118 | • BOLT - 0.3125 DIA X 1.125 U1653 | aa-aj/03 | 6 | |
| 543 | 5A1884 | • BRACKET - ASSEMBLY OF POST SBE72-0435 | ah-aj/03 | 1 | |
| 548 | AS21118 | • BOLT - 0.3125 DIA X 1.125 U1653 POST SBE72-0435 | ah-aj/03 | 2 | |
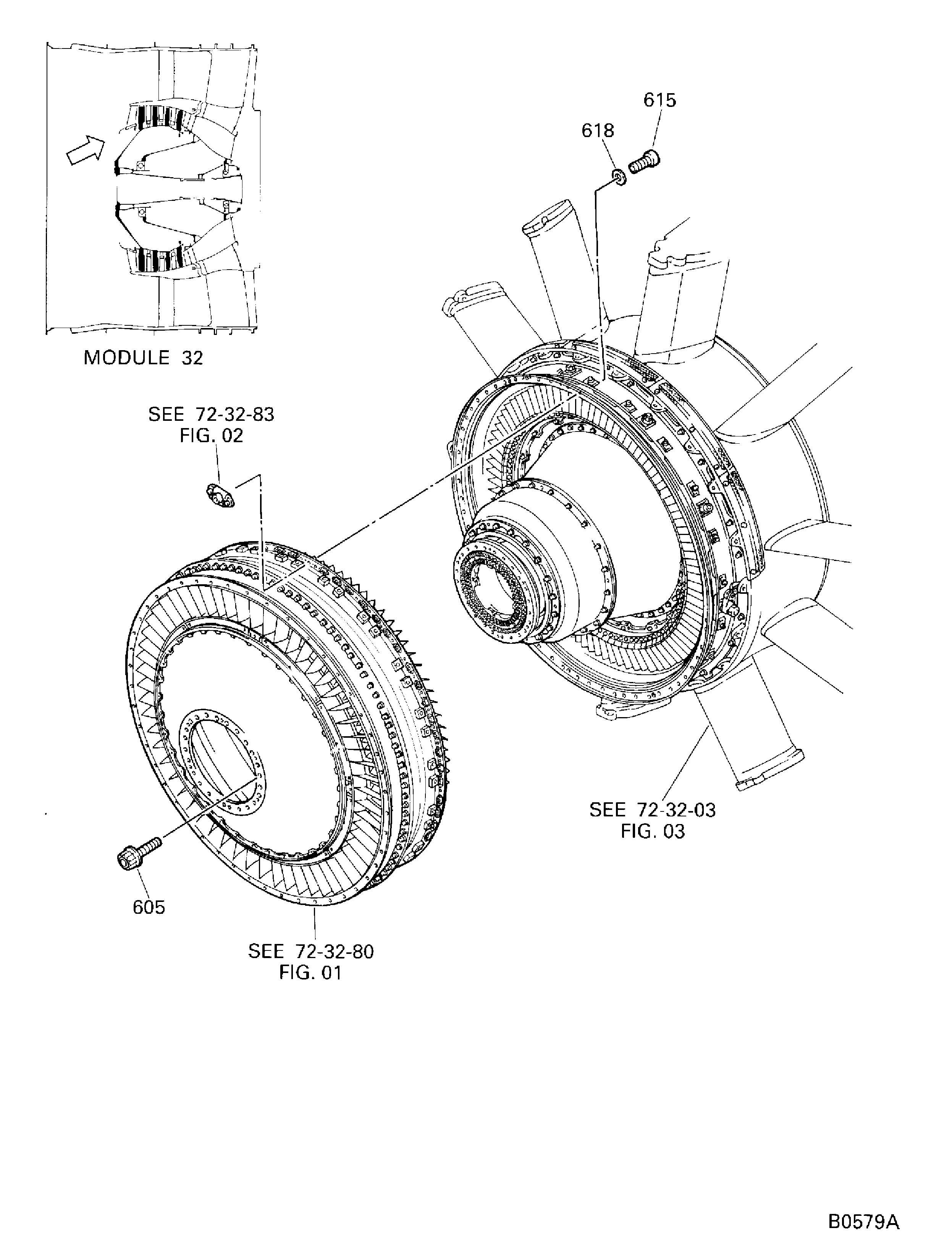
| 605 | AS21128 | • BOLT - MACHINE, DOUBLE HEXAGON U1653 | aa-aj/03 | 24 | |
| 615 | 4W0108 | • BOLT, MACHINE DOUBLE HEX - .190 DIA X .812 (SEE APPENDIX 5) | aa-aj/03 | 62 | |
| 618 | 4W2621 | • WASHER (SEE APPENDIX 5) | aa-aj/03 | 62 | |
| -650 | 72-32-76 | LPC - STAGE 2.5 VANES | aa-aj/03 | REF | |
| 660 | 4W0169 | • BOLT, MACHINE DOUBLE HEX - .250 DIA X .938 | aa-aj/03 | 20 | |
| 670 | 5A0483 | • BUSHING | aa-aj/03 | 20 | |
| 675 | 4W0165 | • BOLT, MACHINE DOUBLE HEX - .250 DIA X .688 | aa-aj/03 | 18 | |
| 680 | 4W2622 | • WASHER OPTION | aa-aj/03 | 18 | |
| -700 | 72-32-75 | ROD - BLEED VALVE ACTG, ASSEMBLY OF | aa-aj/03 | REF | |
| -750 | 72-32-70 | VALVE - BLEED AND ACTUATOR MECHANISM | aa-aj/03 | REF | |
| 760 | 4W0250 | • BOLT - 0.3125 DIA X 2.625 | aa-aj/03 | 20 | |
| 765 | 5A0482 | • BUSHING | aa-aj/03 | 20 | |
| -850 | 72-32-58 | TUBE - OIL NO. 1 BEARING SCAVENGE | aa-aj/03 | REF | |
| 860 | 4W0164 | • BOLT OPTION - .250 DIA X .625 | aa-aj/03 | 3 | |
| 865 | AS43013-119 | • RING - SEALING, TOROIDAL U1653 ALT MS9967-119 PRE SBE72-0442 PRE SBE72-0701 | aa-af/03 | 1 | |
| -865A | X | MS9967-119 | • RING 96906 ALT AS43013-119 PRE SBE72-0442 | aa-af/03 | REF |
| 865B | AS43013-119 | • RING - SEALING, TOROIDAL U1653 POST SBE72-0442 PRE SBE72-0701 | ag-ak/03 | 1 | |
| 865C | M83485-1-119 | • O-RING 96906 POST SBE72-0701 | al/03 | 1 | |
| 870 | AS43013-212 | • RING U1653 ALT MS9967-212 PRE SBE72-0442 PRE SBE72-0701 | aa-af/03 | 1 | |
| -870A | X | MS9967-212 | • RING 96906 ALT AS43013-212 PRE SBE72-0442 | aa-af/03 | REF |
| 870B | AS43013-212 | • RING U1653 POST SBE72-0442 PRE SBE72-0701 | ag-ak/03 | 1 | |
| 870C | M83485-1-212 | • O-RING 96906 POST SBE72-0701 | al/03 | 1 | |
| -950 | 72-32-56 | SEAL - AIR | aa-aj/03 | REF | |
| - ITEM NOT ILLUSTRATED, ***** EFFECTIVITY NOT AVAILABLE | |||||
Figure: LP Compressor (LPC) - Intermediate Structure Module
LP Compressor (LPC) - Intermediate Structure Module

LP Compressor (LPC) - Intermediate Structure Module

LP Compressor (LPC) - Intermediate Structure Module

LP Compressor (LPC) - Intermediate Structure Module

LP Compressor (LPC) - Intermediate Structure Module

LP Compressor (LPC) - Intermediate Structure Module

LP Compressor (LPC) - Intermediate Structure Module

