DMC:V2500-A5-72-32-53-01A-941A-DIssue No:002.00Issue Date:2014-08-01
Export Control
EAR Export Classification: Not subject to the EAR per 15 C.F.R. Chapter 1, Part 734.3(b)(3), except for the following Service Bulletins which are currently published as EAR Export Classification 9E991: SBE70-0992, SBE72-0483, SBE72-0580, SBE72-0588, SBE72-0640, SBE73-0209, SBE80-0024 and SBE80-0025.Copyright
© IAE International Aero Engines AG (2001, 2014 - 2021) The information contained in this document is the property of © IAE International Aero Engines AG and may not be copied or used for any purpose other than that for which it is supplied without the express written authority of © IAE International Aero Engines AG. (This does not preclude use by engine and aircraft operators for normal instructional, maintenance or overhaul purposes.).Applicability
V2500-A5
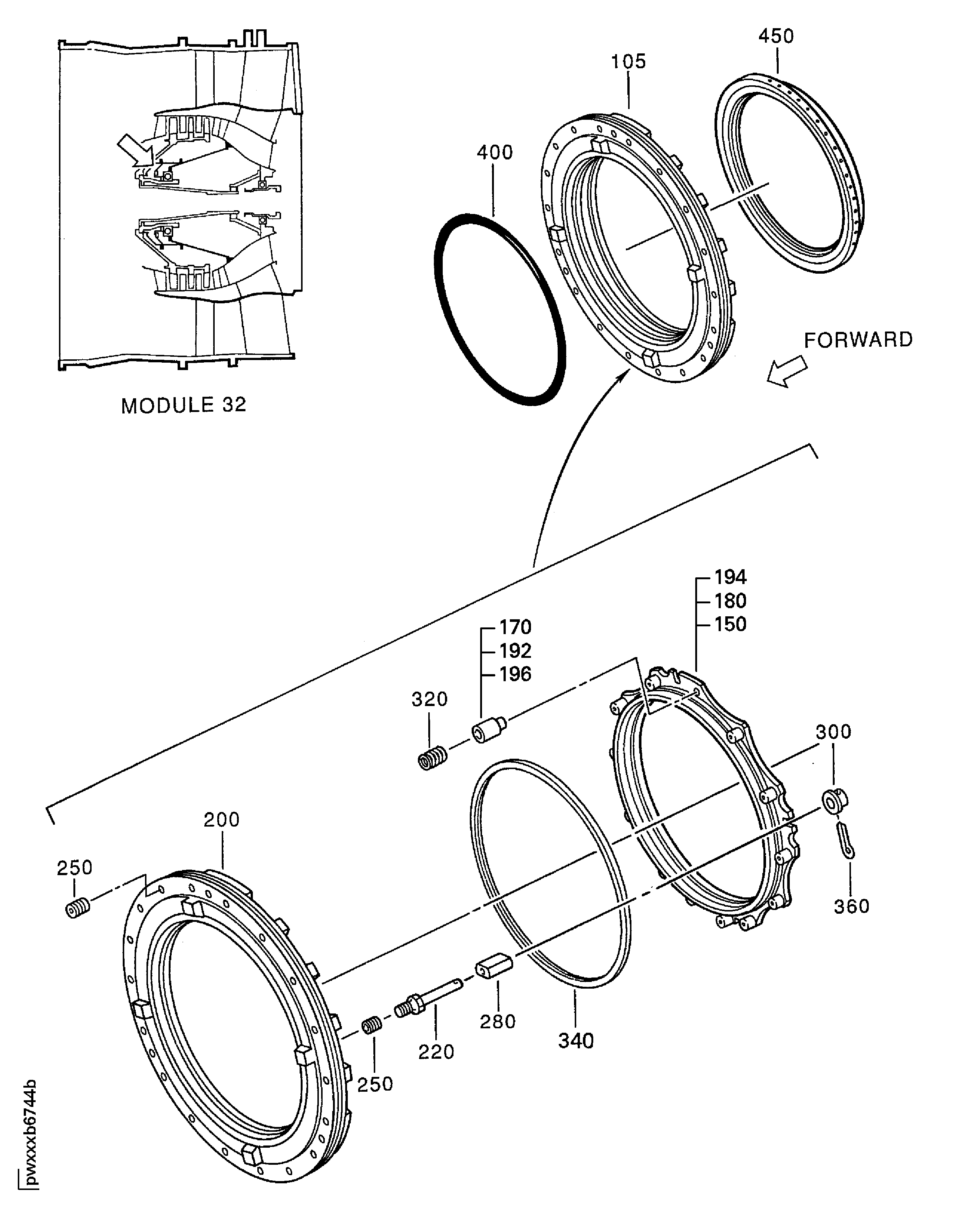
| Fig. Item | Part No. | Description | Effect/Model Applic. | UPA |
|---|---|---|---|---|
| 01 | ||||
| - | B72325301 | ENGINE-NO.1 BEARING FRONT SEAL, PRE SBE70-0115 | aa | |
| - | SBE0115-01 | ENGINE-NO.1 BEARING FRONT SEAL, PRE SBE70-0857 | ab | |
| - | SBE0857-01 | ENGINE-NO.1 BEARING FRONT SEAL | ac | |
| 105 | 2A1065 | • SEAL, NO. 1 BEARING, ASSEMBLY PRE SBE70-0115 | aa-ac/02 | 1 |
| 105A | 2A2917 | • SEAL - OPTION, ASSEMBLY | aa-ac/02 | 1 |
| 105B | 2A2203-001 | • SEAL, NO. 1, ASSEMBLY 77445 ALT 2A2917 POST SBE70-0115 | ab-ac/02 | 1 |
| 105C | 2A2036-001 | • SEAL, NO. 1 BEARING, ASSEMBLY 77445 ALT 2A2203-001 POST SBE70-0115 | ab-ac/02 | 1 |
| 105D | 2A2917 | • SEAL - OPTION, ASSEMBLY ALT 2A2036-001 POST SBE70-0115 | ab-ac/03 | 1 |
| 150 | 2A2199 | • SEAL, FACE, NO. 1 BEARING, ASSEMBLY PRE SBE70-0115 | aa-ac/02 | 1 |
| 150A | 2A2915 | • SEAL - OPTION, ASSEMBLY POST SBE70-0115 | ab-ac/02 | 1 |
| 150B | 2A2915 | • SEAL - OPTION, ASSEMBLY | aa-ac/03 | 1 |
| 170 | 2A1770 | • GUIDE, SEAL SPRING PRE SBE70-0115 | aa/05 | 12 |
| 180 | 2A2924 | • SEAL, FACE POST SBE70-0115 | ab-ac/01 | 1 |
| 192 | 2A1770 | • GUIDE, SEAL SPRING POST SBE70-0115 | ab-ac/02 | 12 |
| 192A | 2A1770 | • GUIDE, SEAL SPRING | aa-ac/03 | 12 |
| -194 | 2A2916 | • SEAL, FACE POST SBE70-0115 | ab-ac/01 | REF |
| -196 | 2A1770 | • GUIDE, SEAL SPRING POST SBE70-0115 | ab-ac/02 | REF |
| -196A | 2A1770 | • GUIDE, SEAL SPRING | aa-ac/03 | REF |
| 200 | 2A1066 | • SUPPORT, NO. 1 BEARING SEAL | aa-ac/02 | 1 |
| 200A | 2A1066 | • SUPPORT, NO. 1 BEARING SEAL | aa-ac/03 | 1 |
| 220 | 2A1639 | • PIN, NO. 1 BEARING SEAL | aa-ac/01 | 4 |
| 250 | MS21209F4-15 | • INSERT - WIRE THREAD, .250 DIA 96906 | aa-ac/02 | 25 |
| 250A | MS21209F4-15 | • INSERT - WIRE THREAD, .250 DIA 96906 | aa-ac/03 | 25 |
| 280 | 2A2057 | • SPACER, SLEEVE | aa-ac/02 | 2 |
| 280A | 2A2057 | • SPACER, SLEEVE | aa-ac/03 | 2 |
| 300 | 2A2035 | • COLLAR, RETAINING, 0.203 X 0.5 | aa-ac/02 | 4 |
| 300A | 2A2035 | • COLLAR, RETAINING, 0.203 X 0.5 | aa-ac/03 | 4 |
| 320 | 2A1780 | • SPRING, HELICAL | aa-ac/01 | 12 |
| 340 | 2A1941 | • SEAL, PLAIN | aa-ac/01 | 1 |
| 360 | MS9245-25 | • PIN, COTTER SPLIT 96906 | aa-ac/01 | 4 |
| 400 | AS3209-279 | • PACKING, PREFORMED U1653 PRE SBE70-0857 | aa-ab/02 | 1 |
| 400A | AS3209-279 | • PACKING, PREFORMED U1653 PRE SBE70-0857 | aa/03 | 1 |
| 400B | ST1946-279 | • PACKING, PREFORMED 77445 POST SBE70-0857 | ac/01 | 1 |
| 450 | 2A2058 | • SEAL, NO. 1 BEARING SEAT | aa-ac/02 | 1 |
| 450A | 2A2058 | • SEAL, NO. 1 BEARING SEAT | aa-ac/03 | 1 |
| - ITEM NOT ILLUSTRATED, ***** EFFECTIVITY NOT AVAILABLE | ||||
Figure: No. 1 Bearing Front Face Seal Assembly
No. 1 Bearing Front Face Seal Assembly

