DMC:V2500-A5-72-32-85-02A-941A-DIssue No:001.00Issue Date:2014-05-01
Export Control
EAR Export Classification: Not subject to the EAR per 15 C.F.R. Chapter 1, Part 734.3(b)(3), except for the following Service Bulletins which are currently published as EAR Export Classification 9E991: SBE70-0992, SBE72-0483, SBE72-0580, SBE72-0588, SBE72-0640, SBE73-0209, SBE80-0024 and SBE80-0025.Copyright
© IAE International Aero Engines AG (2001, 2014 - 2021) The information contained in this document is the property of © IAE International Aero Engines AG and may not be copied or used for any purpose other than that for which it is supplied without the express written authority of © IAE International Aero Engines AG. (This does not preclude use by engine and aircraft operators for normal instructional, maintenance or overhaul purposes.).Applicability
V2500-A5
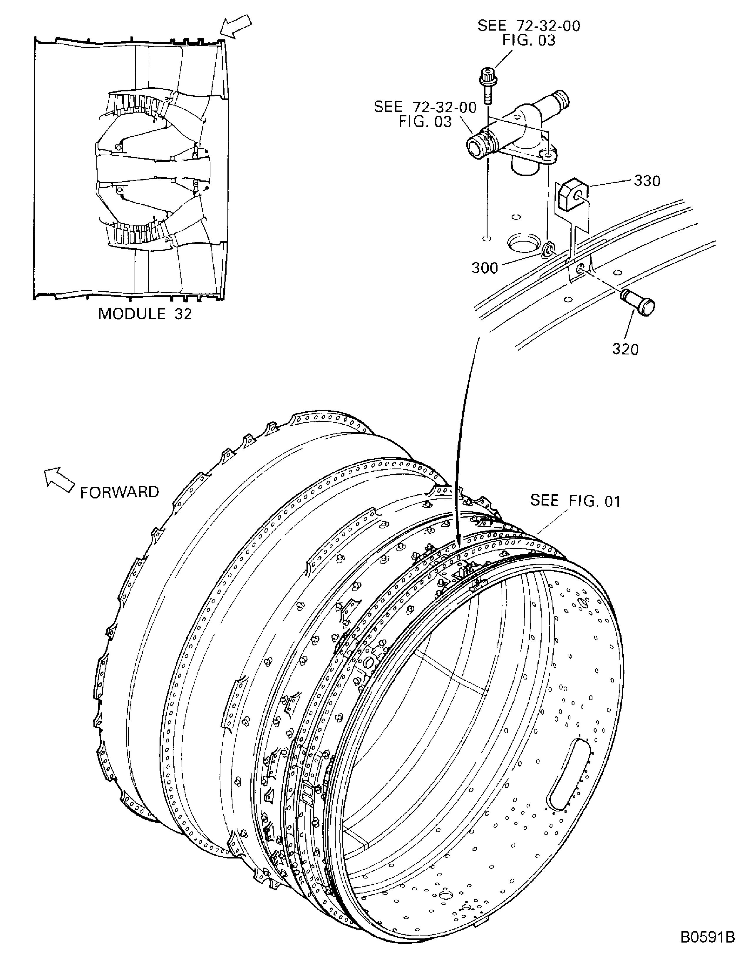
| Fig. Item | Part No. | Description | Effect/Model Applic. | UPA |
|---|---|---|---|---|
| 02 | ||||
| - | B72328502 | ENGINE-FAN CASE | aa | |
| 270 | AS15825 | • NUT - ASSY,TUBE CLOSURE U1653 | aa/01 | 1 |
| 300 | MS3215-2031 | • RING, RETAINING 96906 | aa/01 | 1 |
| 320 | 5A2108 | • PIN | aa/01 | 1 |
| 330 | 5A2107 | • BLOCK, TOP LOCATING | aa/01 | 1 |
| - ITEM NOT ILLUSTRATED, ***** EFFECTIVITY NOT AVAILABLE | ||||
Figure: Fan Case And Related Parts
Fan Case And Related Parts

