DMC:V2500-A5-72-38-25-01A-941A-DIssue No:005.00Issue Date:2019-11-01
Export Control
EAR Export Classification: Not subject to the EAR per 15 C.F.R. Chapter 1, Part 734.3(b)(3), except for the following Service Bulletins which are currently published as EAR Export Classification 9E991: SBE70-0992, SBE72-0483, SBE72-0580, SBE72-0588, SBE72-0640, SBE73-0209, SBE80-0024 and SBE80-0025.Copyright
© IAE International Aero Engines AG (2001, 2014 - 2021) The information contained in this document is the property of © IAE International Aero Engines AG and may not be copied or used for any purpose other than that for which it is supplied without the express written authority of © IAE International Aero Engines AG. (This does not preclude use by engine and aircraft operators for normal instructional, maintenance or overhaul purposes.).Applicability
V2500-A5
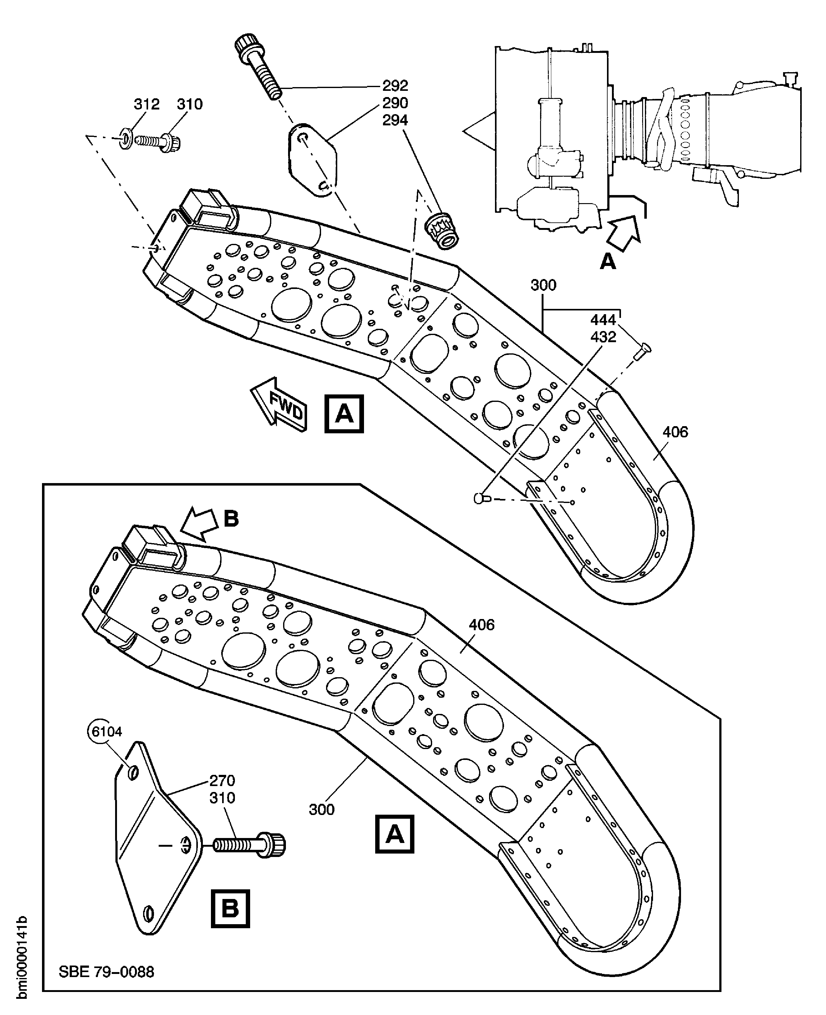
| Fig. Item | Part No. | Description | Effect/Model Applic. | UPA |
|---|---|---|---|---|
| 01 | ||||
| - | B72382501 | ENGINE - BIFURCATION PANEL AND SERVICES DISCONNECT, PRE SBE75-0081 | aa | |
| - | SBE0081-01 | ENGINE - BIFURCATION PANEL AND SERVICES DISCONNECT, PRE SBE79-0088 | ab | |
| - | SBE0088-01 | ENGINE-BIFURCATION PANEL AND SERVICES DISCONNECT, PRE SBE73-0219 | ac | |
| - | SBE0219-01 | ENGINE-BIFURCATION PANEL AND SERVICES DISCONNECT, PRE SBE73-0235 | ad | |
| - | SBE0235-01 | ENGINE-BIFURCATION PANEL AND SERVICES DISCONNECT | ae | |
| 270 | 6A8165 | • BRACKET POST SBE79-0088 | ac-ad/01 | 1 |
| 290 | LK62478 | • COVER PRE SBE75-0081 | aa/02 | 1 |
| 290A | LK62478 | • COVER POST SBE75-0081 PRE SBE73-0219 | ab-ac/03 | 1 |
| 290B | LK62478 | • COVER POST SBE73-0219 PRE SBE73-0235 | ad/01 | 1 |
| 290C | LK62478 | • COVER POST SBE73-0235 | ae/04 | 2 |
| 292 | 4W0163 | • BOLT, MACHINE DOUBLE HEX - .250 DIA X .562 PRE SBE75-0081 | aa/02 | 2 |
| 292A | 4W0163 | • BOLT, MACHINE DOUBLE HEX - .250 DIA X .562 POST SBE75-0081 PRE SBE73-0219 | ab-ac/03 | 2 |
| 292B | 4W0163 | • BOLT, MACHINE DOUBLE HEX - .250 DIA X .562 POST SBE73-0219 PRE SBE73-0235 | ad/01 | 2 |
| 292C | 4W0163 | • BOLT, MACHINE DOUBLE HEX - .250 DIA X .562 POST SBE73-0235 | ae/04 | 4 |
| 294 | 4W0002 | • NUT - SELF LOCKING, DOUBLE HEXAGON, .250 DIA PRE SBE75-0081 | aa/02 | 2 |
| 294A | 4W0002 | • NUT - SELF LOCKING, DOUBLE HEXAGON, .250 DIA POST SBE75-0081 PRE SBE73-0219 | ab-ac/03 | 2 |
| 294B | 4W0002 | • NUT - SELF LOCKING, DOUBLE HEXAGON, .250 DIA POST SBE73-0219 PRE SBE73-0235 | ad/01 | 2 |
| 294C | 4W0002 | • NUT - SELF LOCKING, DOUBLE HEXAGON, .250 DIA POST SBE73-0235 | ae/04 | 4 |
| 300 | 6A4624 | • PANEL - CORE TO FAN PRE SBE79-0088 | aa-ab/01 | 1 |
| 300A | 6A7930 | • PANEL - WHOLE, BIFURCATION, ASSEMBLY OF POST SBE79-0088 REF SBE72-0656 | ac-ad/01 | 1 |
| 310 | AS21010 | • BOLT - .250 DIA X .625 U1653 | aa-ad/01 | 2 |
| 312 | 4W2622 | • WASHER OPTION PRE SBE79-0088 | aa-ab/01 | 2 |
| 404 | ARM1315 | • • SEAL - BIFURCATION K1406 (VRS6536) POST SBE79-0088 REF SBE72-0656 | ***** | 1 |
| 405 | ARM1316 | • • SEAL - BIFURCATION K1406 (VRS6536) POST SBE79-0088 REF SBE72-0656 | ***** | 1 |
| 406 | ARM1317 | • • SEAL - BIFURCATION K1406 (VRS6669) POST SBE79-0088 | *****/01 | 1 |
| 432 | AS16087 | • • RIVET - SOLID UNIVERSAL HEAD U1653 PRE SBE79-0088 | *****/01 | 11 |
| 444 | AS16487 | • • RIVET, SOLID CSK HEAD U1653 PRE SBE79-0088 | *****/01 | 6 |
| 454 | 6A7931 | • • CLIP - LEFT HANDED (VRS6536) POST SBE79-0088 REF SBE72-0656 | ***** | 1 |
| 456 | 6A7932 | • • CLIP - RIGHT HANDED (VRS6536) POST SBE79-0088 REF SBE72-0656 | ***** | 1 |
| 458 | 6A7933 | • • CLIP - STRAIGHT (VRS6536) POST SBE79-0088 REF SBE72-0656 | ***** | 2 |
| -462 | 6A7934 | • • CLIP - U SHAPE (VRS6669) POST SBE79-0088 | *****/01 | 1 |
| - ITEM NOT ILLUSTRATED, ***** EFFECTIVITY NOT AVAILABLE | ||||
Figure: Bifurcation Panel Assembly
Bifurcation Panel Assembly

