DMC:V2500-A5-72-41-12-01A-941A-DIssue No:002.00Issue Date:2017-05-01
Export Control
EAR Export Classification: Not subject to the EAR per 15 C.F.R. Chapter 1, Part 734.3(b)(3), except for the following Service Bulletins which are currently published as EAR Export Classification 9E991: SBE70-0992, SBE72-0483, SBE72-0580, SBE72-0588, SBE72-0640, SBE73-0209, SBE80-0024 and SBE80-0025.Copyright
© IAE International Aero Engines AG (2001, 2014 - 2021) The information contained in this document is the property of © IAE International Aero Engines AG and may not be copied or used for any purpose other than that for which it is supplied without the express written authority of © IAE International Aero Engines AG. (This does not preclude use by engine and aircraft operators for normal instructional, maintenance or overhaul purposes.).Applicability
V2500-A5
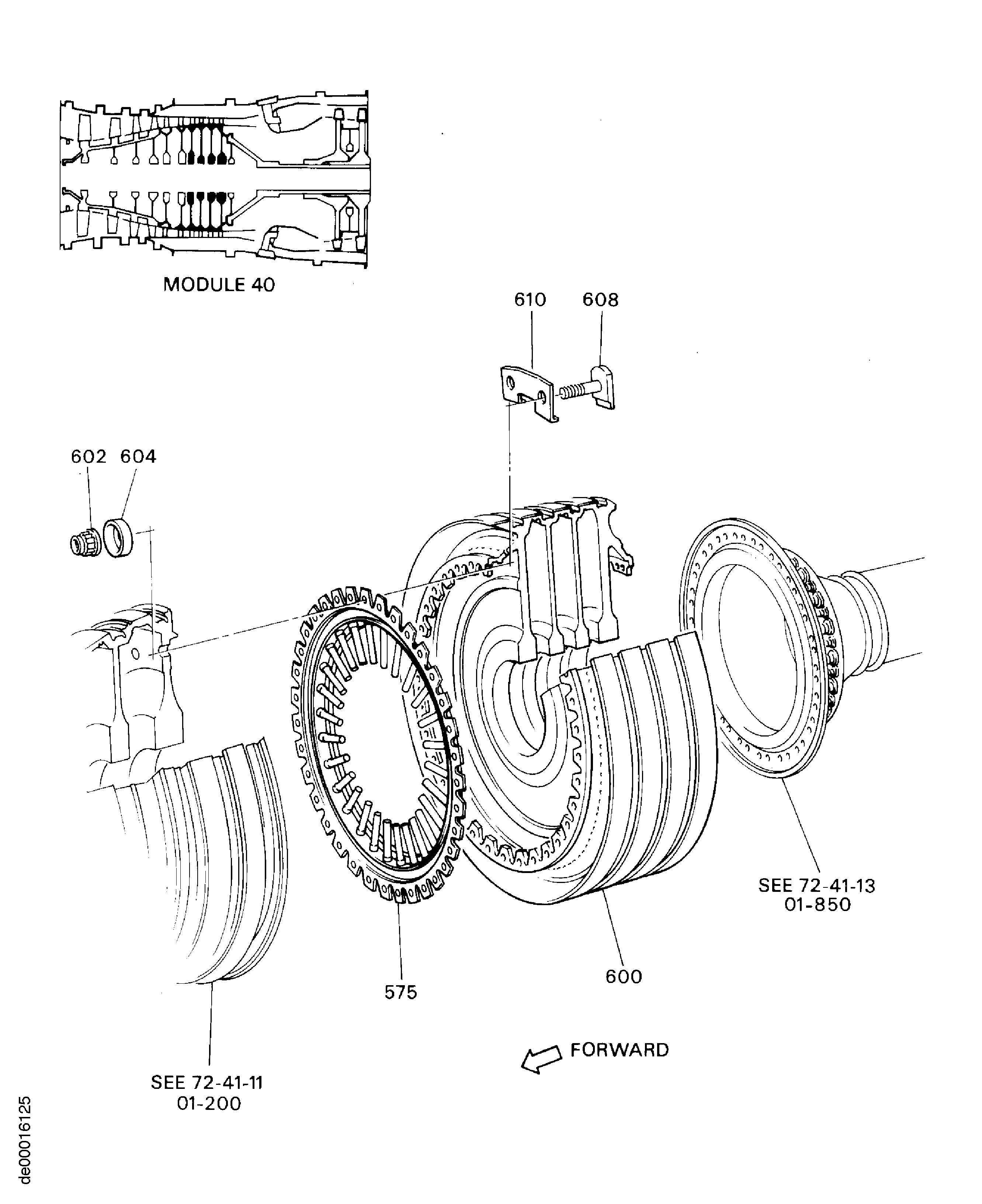
| Fig. Item | Part No. | Description | Effect/Model Applic. | UPA |
|---|---|---|---|---|
| 01 | ||||
| - | B72411201 | ENGINE-HP COMPRESSOR DISCS (STAGES 9-12), PRE SBE72-0273 | ||
| - | SBE0273-01 | ENGINE-HP COMPRESSOR DISCS (STAGES 9-12), PRE SBE72-0293 | ||
| - | SBE0293-01 | ENGINE-HP COMPRESSOR DISCS (STAGES 9-12), PRE SBE72-0347 | ||
| - | SBE0347-01 | ENGINE-HP COMPRESSOR DISCS (STAGES 9-12), PRE SBE72-0596 | ||
| - | SBE0596-01 | ENGINE-HP COMPRESSOR DISCS (STAGES 9-12), PRE SBE72-0632 | ||
| - | SBE0632-01 | ENGINE-HP COMPRESSOR DISCS (STAGES 9-12) | ||
| 575 | 6A3097 | • RING, VORTEX REDUCER, ASSEMBLY | aa-af/01 | 1 |
| 600 | 6A4156 | • DISC, A/O, STAGE 9 TO 12-HPC PRE SBE72-0273 REF SBE72-A0652 | aa-af/02 | 1 |
| 600A | 6A4156 | • DISC, A/O, STAGE 9 TO 12-HPC PRE SBE72-0293 REF SBE72-A0652 | aa-ab/03 | 1 |
| 600B | 6A6546 | • DISC, ASSY OF POST SBE72-0273 PRE SBE72-0347 REF SBE72-A0652 | ab-ac/04 | 1 |
| 600C | 6A4156 | • DISC, A/O, STAGE 9 TO 12-HPC POST SBE72-0293 PRE SBE72-0347 REF SBE72-A0652 | ac/04 | 1 |
| 600D | 6A7546 | • DISC, ASSY ALT 6A7547 POST SBE72-0347 REF SBE72-A0652 | ad-af/01 | 1 |
| 600E | 6A7547 | • DISC, ASSY ALT 6A7546 POST SBE72-0347 REF SBE72-A0652 | ad-af/01 | 1 |
| 600F | 6A7547 | • DISC, ASSY POST SBE72-0347 REF SBE72-A0652 | ad-af/01 | 1 |
| 602 | AS44862 | • NUT, .250 DIA U1653 PRE SBE72-0596 | aa-ad/01 | 34 |
| 602A | AS64367 | • NUT, .250-28UNJF-3B U1653 POST SBE72-0596 PRE SBE72-0632 | ae/01 | 34 |
| 602B | U755872 | • NUT, UNCOATED, SPLINE POST SBE72-0632 | af/01 | 34 |
| 604 | UP10894 | • PLATE PRE SBE72-0632 | aa-af/01 | 34 |
| 604A | UP10894 | • PLATE POST SBE72-0632 | af/01 | 34 |
| 608 | BLT5368 | • BOLT PRE SBE72-0632 | aa-af/01 | 34 |
| 608A | BLT5368 | • BOLT POST SBE72-0632 | af/01 | 34 |
| 610 | 6A3795 | • PLATE PRE SBE72-0632 | aa-af/01 | 17 |
| 610A | 6A3795 | • PLATE POST SBE72-0632 | af/01 | 17 |
| - ITEM NOT ILLUSTRATED, ***** EFFECTIVITY NOT AVAILABLE | ||||
Figure: HPC Stage 9 - 12 Drum Disk And Vortex Reducer Ring
HPC Stage 9 - 12 Drum Disk And Vortex Reducer Ring

