DMC:V2500-A5-72-41-13-01A-941A-DIssue No:008.00Issue Date:2020-11-01
Export Control
EAR Export Classification: Not subject to the EAR per 15 C.F.R. Chapter 1, Part 734.3(b)(3), except for the following Service Bulletins which are currently published as EAR Export Classification 9E991: SBE70-0992, SBE72-0483, SBE72-0580, SBE72-0588, SBE72-0640, SBE73-0209, SBE80-0024 and SBE80-0025.Copyright
© IAE International Aero Engines AG (2001, 2014 - 2021) The information contained in this document is the property of © IAE International Aero Engines AG and may not be copied or used for any purpose other than that for which it is supplied without the express written authority of © IAE International Aero Engines AG. (This does not preclude use by engine and aircraft operators for normal instructional, maintenance or overhaul purposes.).Applicability
V2500-A5
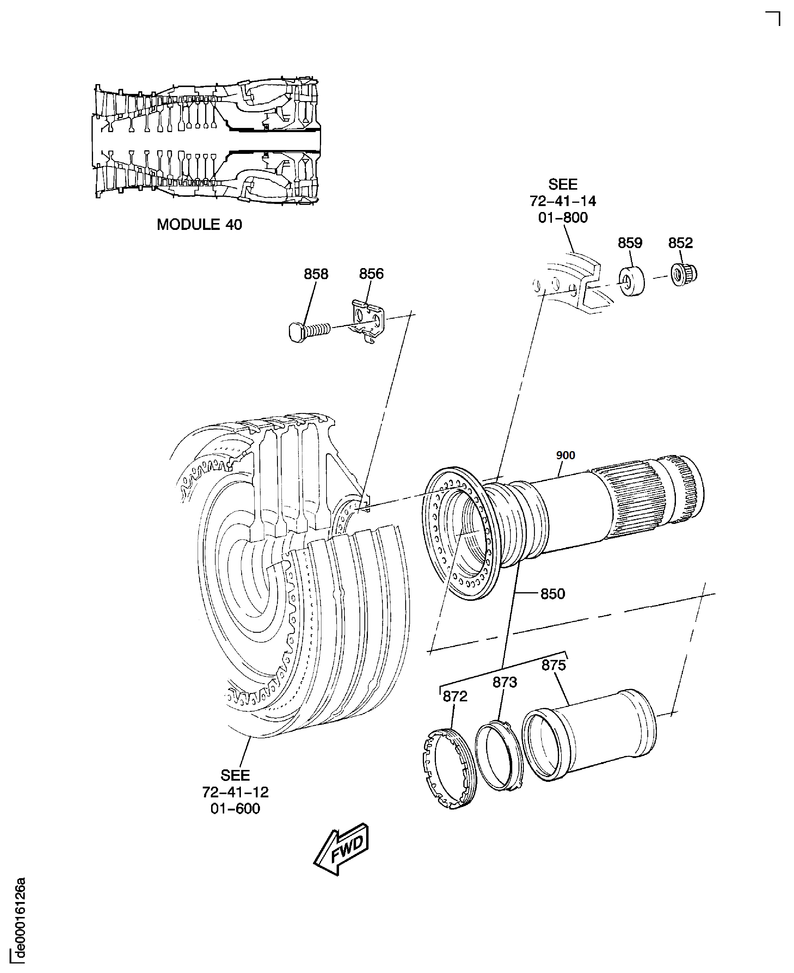
| Fig. Item | Part No. | Description | Effect/Model Applic. | UPA |
|---|---|---|---|---|
| 01 | ||||
| - | B72411301 | ENGINE - HP COMPRESSOR SHAFT, PRE SBE72-0202 | aa | |
| - | SBE0202-01 | ENGINE - HP COMPRESSOR SHAFT, PRE SBE72-0311 | ab | |
| - | SBE0311-01 | ENGINE - HP COMPRESSOR SHAFT, PRE SBE72-0403 | ac | |
| - | SBE0403-01 | ENGINE - HP COMPRESSOR SHAFT, PRE SBE72-0614 | ad | |
| - | SBE0614-01 | ENGINE - HP COMPRESSOR SHAFT, PRE SBE72-0613 | ae | |
| - | SBE0613-01 | ENGINE - HP COMPRESSOR SHAFT, PRE SBE72-0687 | af | |
| - | SBE0687-01 | ENGINE - HP COMPRESSOR SHAFT | ag | |
| 850 | 6A4157 | • SHAFT - HPC, ASSEMBLY OF PRE SBE72-0202 REF SBE72-0639 | aa/01 | 1 |
| 850A | 6A5867 | • SHAFT - HPC REAR, ASSEMBLY OF POST SBE72-0202 PRE SBE72-0403 REF SBE72-0639 | ab-ac/02 | 1 |
| 850B | 6A5867 | • SHAFT - HPC REAR, ASSEMBLY OF PRE SBE72-0403 REF SBE72-0639 | aa-ac/03 | 1 |
| 850C | 6A7711 | • SHAFT - ASSEMBLY OF POST SBE72-0403 PRE SBE72-0614 REF SBE72-0639 | aa-ad/04 | 1 |
| 850D | 6A7713 | • SHAFT - ASSEMBLY OF POST SBE72-0403 PRE SBE72-0614 REF SBE72-0639 | aa-ad/02 | 1 |
| 850E | 6B1419 | • SHAFT - ASSEMBLY OF POST SBE72-0614 | ae-af/04 | 1 |
| 850F | 6B1426 | • SHAFT - ASSEMBLY OF POST SBE72-0614 REF SBE72-0639 | ae-af/02 | 1 |
| 852 | U755144 | • NUT - REDUCED, DOUBLE HEXAGON, 0.375 UNJF PRE SBE72-0613 | aa-ae/04 | 28 |
| 852A | U780603 | • NUT - REDUCED, DOUBLE HEXAGON POST SBE72-0613 | af/04 | 28 |
| 856 | 6A4159 | • WASHER PRE SBE72-0687 | aa-af/04 | 14 |
| 856A | 6C6658 | • WASHER, RETAINING,DOUBLE POST SBE72-0687 | ag/04 | 14 |
| 858 | AS58020 | • BOLT - 0.375 DIA X 1.25 LGTH U1653 PRE SBE72-0202 | aa/01 | 28 |
| 858A | AS58021 | • BOLT U1653 POST SBE72-0202 | ab-af/04 | 28 |
| 858B | AS58021 | • BOLT U1653 | aa-af/02 | 28 |
| 859 | AS44523 | • WEIGHT - BALANCE U1653 | aa-af/04 | A/R |
| 859A | AS44523-100 | • WEIGHT - BALANCE U1653 | aa-af/04 | 1 |
| 872 | UP10896 | • • NUT - RING PRE SBE72-0614 | aa-ad/04 | 1 |
| 872A | 6B1413 | • • NUT - RING POST SBE72-0614 | ae-af/04 | 1 |
| 873 | UP10897 | • • WASHER | aa-af/04 | 1 |
| 875 | 6A1494 | • • HEATSHIELD PRE SBE72-0311 | aa-af/04 | 1 |
| 875A | 6A7400 | • • SHIELD - HEAT, HPC, REAR SHAFT, ASSEMBLY OF ALT 6A1494 POST SBE72-0311 | ac-af/04 | 1 |
| 875B | 6A1494 | • • HEATSHIELD ALT 6A7400 POST SBE72-0311 | ac-af/04 | 1 |
| 900 | 6A4158 | • • SHAFT - HPC PRE SBE72-0202 | aa/01 | 1 |
| -900A | 6A5868 | • • SHAFT - HPC PRE SBE72-0403 | aa-ac/02 | 1 |
| -900B | 6A5868 | • • SHAFT - HPC POST SBE72-0202 PRE SBE72-0403 | ab-ac/03 | 1 |
| -900C | 6A7712 | • • SHAFT POST SBE72-0403 | ad-af/04 | 1 |
| -900D | 6A7714 | • • SHAFT POST SBE72-0403 | ad-af/02 | 1 |
| - ITEM NOT ILLUSTRATED, ***** EFFECTIVITY NOT AVAILABLE | ||||
Figure: HPC Rear Shaft And Heatshield Assembly
HPC Rear Shaft And Heatshield Assembly

