Export Control
EAR Export Classification: Not subject to the EAR per 15 C.F.R. Chapter 1, Part 734.3(b)(3), except for the following Service Bulletins which are currently published as EAR Export Classification 9E991: SBE70-0992, SBE72-0483, SBE72-0580, SBE72-0588, SBE72-0640, SBE73-0209, SBE80-0024 and SBE80-0025.Copyright
© IAE International Aero Engines AG (2001, 2014 - 2021) The information contained in this document is the property of © IAE International Aero Engines AG and may not be copied or used for any purpose other than that for which it is supplied without the express written authority of © IAE International Aero Engines AG. (This does not preclude use by engine and aircraft operators for normal instructional, maintenance or overhaul purposes.).Applicability
V2500-A5
Common Information
TASK 72-41-13-040-001-B00 HPC Rear Shaft And Heatshield Assembly - Disassemble The Heatshield From The Shaft, Disassembly-001
General
Fig/item numbers in parentheses in the procedure agree with those used in the IPC. Only the primary Fig/item numbers are used. For the service bulletin alpha variants refer to the IPC.
For all parts identified in a different Chapter/Section/Subject the applicable Chapter/Section/Subject comes before the Fig/item number.
Apply the approved CoMat 10-058 PENETRATING OIL before the removal of threaded parts. Let the parts soak before removal.
NOTE
NOTE
Preliminary Requirements
Pre-Conditions
NONESupport Equipment
| Name | Manufacturer | Part Number / Identification | Quantity | Remark |
|---|---|---|---|---|
| IAE 1F10019 Mechanical wrench | 0AM53 | IAE 1F10019 | 1 | |
| IAE 1R19787 Sling | 0AM53 | IAE 1R19787 | 1 | (use with IAE 1F10019) |
| IAE 1F10026 Hydraulic hand pump | 0AM53 | IAE 1F10026 | 1 | |
| IAE 1R18640 Immobilizer stand | 0AM53 | IAE 1R18640 | 1 | |
| IAE 1R18641 Locking plate | 0AM53 | IAE 1R18641 | 1 | |
| IAE 1R18642 Spanner | 0AM53 | IAE 1R18642 | 1 | |
| IAE 1R18688 Lifting tool | 0AM53 | IAE 1R18688 | 1 | |
| IAE 1R18689 Extractor | 0AM53 | IAE 1R18689 | 1 | |
| Hydraulic jack | 0AM53 | ENERPAC 102 | 1 |
Consumables, Materials and Expendables
| Name | Manufacturer | Part Number / Identification | Quantity | Remark |
|---|---|---|---|---|
| CoMat 10-058 PENETRATING OIL | 0AM53 | CoMat 10-058 |
Spares
NONESafety Requirements
NONEProcedure
Refer to: Figure
Install IAE 1R18688 Lifting tool 1 off to the front of the HP compressor rear shaft assembly.
Install the HP compressor rear shaft assembly in to IAE 1R18640 Immobilizer stand 1 off.
SUBTASK 72-41-13-040-054 Install the HP Compressor Rear Shaft Assembly in to the Immobilizer Stand
Release and remove the four nuts and washers, part of IAE 1R18640 Immobilizer stand.
Install IAE 1R18641 Locking plate 1 off on to the top of the immobilizer stand.
Install IAE 1F10019 Mechanical wrench 1 off on to the locking plate. Make sure the two dowels of the mechanical wrench are installed in the two holes in the locking plate.
Align the splines of IAE 1R18642 Spanner 1 off with the splines in the mechanical wrench, then install the spanner in to the torque multiplier. Make sure that the teeth of the spanner engage in the slots in the ring nut.
Install the tools necessary to remove the ring nut.
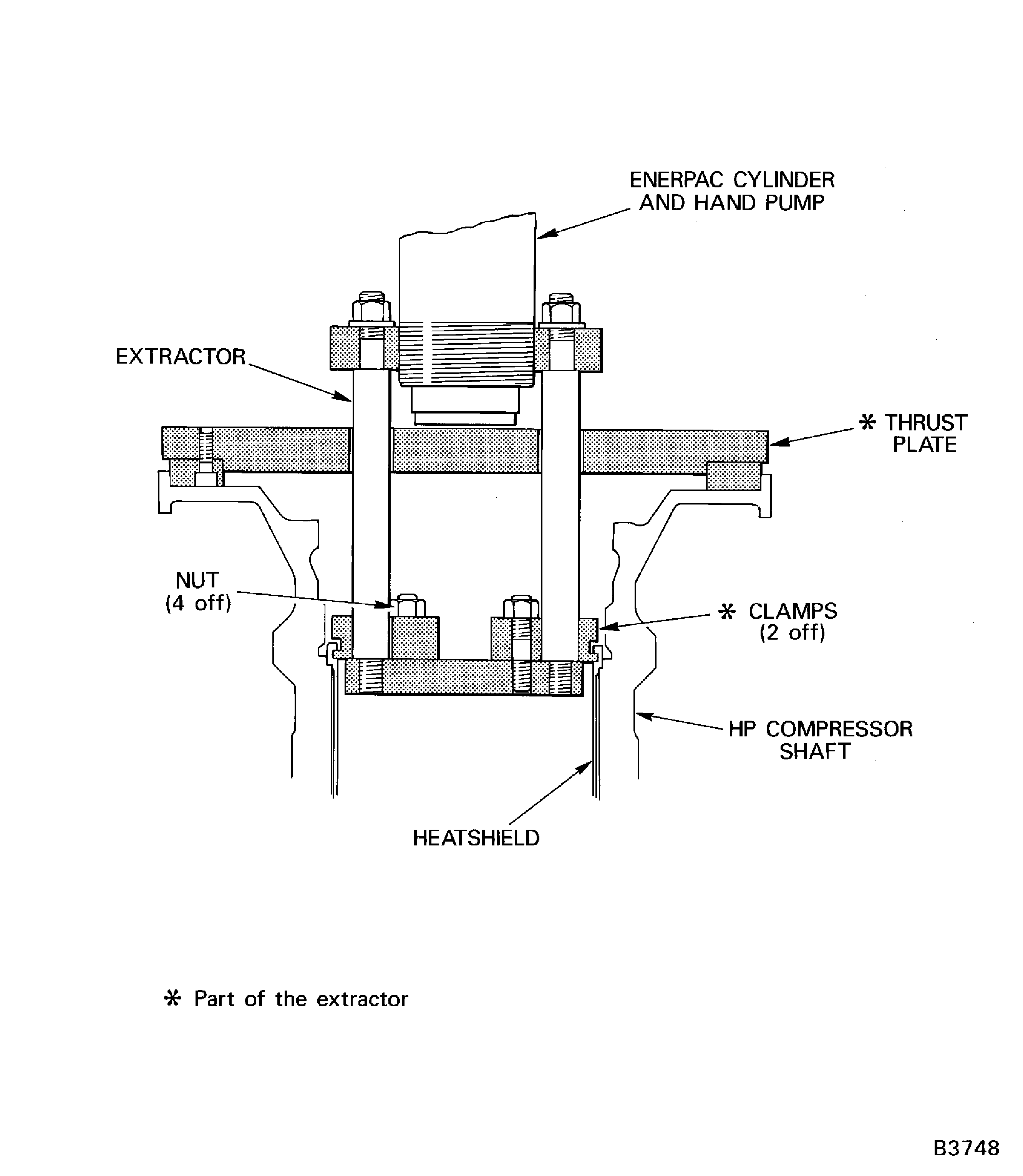
Install IAE 1R18689 Extractor 1 off to the front of the HP compressor rear shaft.
Install Hydraulic jack 1 off and IAE 1F10026 Hydraulic hand pump 1 off to the extractor.
SUBTASK 72-41-13-040-055 Remove the Ring Nut, Washer and Heatshield from the HP Compressor Rear Shaft
Refer to: Figure
Install IAE 1R18688 Lifting tool 1 off to the HP compressor rear shaft. Refer to Step.
Remove the lifting tool from the HP compressor rear shaft. Refer to Step.
SUBTASK 72-41-13-040-056 Remove the HP Compressor Rear Shaft from the Immobilizer Stand
Figure: Install the HP compressor rear shaft assembly in to the immobilizer stand
Install the HP compressor rear shaft assembly in to the immobilizer stand

Figure: Install the tools necessary to remove the ring nut
Install the tools necessary to remove the ring nut

Figure: Remove the heatshield from the HP compressor rear shaft
Remove the heatshield from the HP compressor rear shaft

