DMC:V2500-A5-72-41-15-02A-941A-DIssue No:005.00Issue Date:2019-02-01
Export Control
EAR Export Classification: Not subject to the EAR per 15 C.F.R. Chapter 1, Part 734.3(b)(3), except for the following Service Bulletins which are currently published as EAR Export Classification 9E991: SBE70-0992, SBE72-0483, SBE72-0580, SBE72-0588, SBE72-0640, SBE73-0209, SBE80-0024 and SBE80-0025.Copyright
© IAE International Aero Engines AG (2001, 2014 - 2021) The information contained in this document is the property of © IAE International Aero Engines AG and may not be copied or used for any purpose other than that for which it is supplied without the express written authority of © IAE International Aero Engines AG. (This does not preclude use by engine and aircraft operators for normal instructional, maintenance or overhaul purposes.).Applicability
V2500-A5
| Fig. Item | Part No. | Description | Effect/Model Applic. | UPA |
|---|---|---|---|---|
| 02 | ||||
| - | B72411502 | ENGINE - HP COMPRESSOR BLADES, PRE SBE72-0172 | aa | |
| - | SBE0172-01 | ENGINE - HP COMPRESSOR BLADES, PRE SBE72-0204 | ab | |
| - | SBE0204-01 | ENGINE - HP COMPRESSOR BLADES, PRE SBE72-0252 | ac | |
| - | SBE0252-01 | ENGINE - HP COMPRESSOR BLADES, PRE SBE72-0284 | ad | AR |
| - | SBE0284-01 | ENGINE - HP COMPRESSOR BLADES, PRE SBE72-0332 | ae | |
| - | SBE0332-01 | ENGINE - HP COMPRESSOR BLADES, PRE SBE70-0714 | af | |
| - | SBE0714-01 | ENGINE - HP COMPRESSOR BLADES, PRE SBE70-0726 | ag | |
| - | SBE0726-01 | ENGINE - HP COMPRESSOR BLADES, PRE SBE72-0471 AND PRE SBE72-0560 | ah | |
| - | SBE0471-01 | ENGINE - HP COMPRESSOR BLADES | ai | |
| - | SBE0560-01 | ENGINE - HP COMPRESSOR BLADES, PRE SBE72-0561 | aj | |
| - | SBE0561-01 | ENGINE - HP COMPRESSOR BLADES, PRE SBE70-1006 | ak | |
| - | SBE1006-01 | ENGINE - HP COMPRESSOR BLADES | al | |
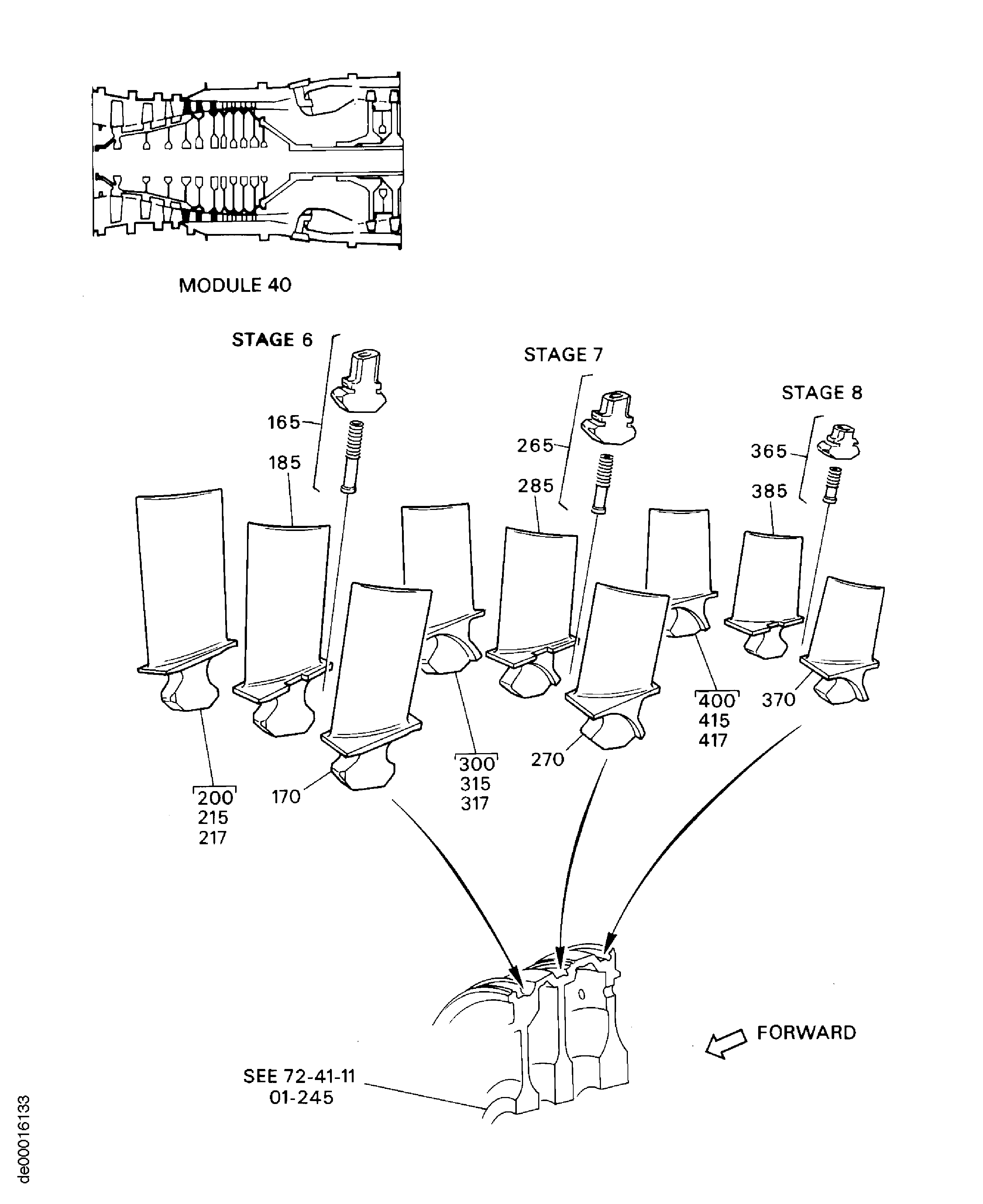
| 165 | 6A4108 | • NUT - SCREW, LOCK, ASSEMBLY OF | aa-al/01 | 2 |
| 170 | 6A4902 | • BLADE - LOCKING, LEFT HAND - COMPRESS PRE SBE72-0332 | aa-ae/02 | 2 |
| 170A | 6A4902 | • BLADE - LOCKING, LEFT HAND - COMPRESS PRE SBE72-0332 | aa-ae/03 | 2 |
| 170B | 6A7406 | • BLADE - HPC, 6TH STAGE, LOCKING, LEFT HAND POST SBE72-0332 PRE SBE70-0714 | af/04 | 2 |
| 170C | 6A7508 | • BLADE - HPC, 6TH STAGE, LOCKING, LEFT HAND POST SBE70-0714 PRE SBE70-0726 | ag/04 | 2 |
| 170D | 6A7406 | • BLADE - HPC, 6TH STAGE, LOCKING, LEFT HAND POST SBE70-0726 PRE SBE72-0471 | ah/04 | 2 |
| 170E | 6A8322 | • BLADE - HPC, 6TH STAGE, LOCKING, LEFT HAND POST SBE72-0471 PRE SBE72-0560 | ai/04 | 2 |
| 170F | 6A8797 | • BLADE - HPC, 6TH STAGE, LOCKING, LEFT HAND POST SBE72-0560 | aj-al/05 | 2 |
| 185 | 6A4903 | • BLADE - HPC, LOCKING, LEFT H AND PRE SBE72-0332 | aa-ae/02 | 2 |
| 185A | 6A4903 | • BLADE - HPC, LOCKING, LEFT H AND PRE SBE72-0332 | aa-ae/03 | 2 |
| 185B | 6A7407 | • BLADE - HPC, 6TH STAGE, LOCKING, RIGHT HAND POST SBE72-0332 PRE SBE70-0714 | af/04 | 2 |
| 185C | 6A7509 | • BLADE - HPC, 6TH STAGE, LOCKING, RIGHT HAND POST SBE70-0714 PRE SBE70-0726 | ag/04 | 2 |
| 185D | 6A7407 | • BLADE - HPC, 6TH STAGE, LOCKING, RIGHT HAND POST SBE70-0726 PRE SBE72-0471 | ah/04 | 2 |
| 185E | 6A8323 | • BLADE - HPC, 6TH STAGE, LOCKING, RIGHT HAND POST SBE72-0471 PRE SBE72-0560 | ai/04 | 2 |
| 185F | 6A8798 | • BLADE - HPC, 6TH STAGE, LOCKING, RIGHT HAND POST SBE72-0560 | aj-al/05 | 2 |
| 200 | 6A4904C01 | • BLADE - HPC, 6TH STAGE, NOMINAL PRE SBE72-0332 | aa-ae/02 | 52 |
| 200A | 6A4904C01 | • BLADE - HPC, 6TH STAGE, NOMINAL PRE SBE72-0332 | aa-ae/03 | 52 |
| 200B | 6A7405C01 | • BLADE - HPC, 6TH STAGE, NOMINAL POST SBE72-0332 PRE SBE70-0714 | af/04 | 52 |
| 200C | 6A7510C01 | • BLADE - HPC, 6TH STAGE, NOMINAL POST SBE70-0714 PRE SBE70-0726 | ag/04 | 52 |
| 200D | 6A7405C01 | • BLADE - HPC, 6TH STAGE, NOMINAL POST SBE70-0726 PRE SBE72-0471 | ah/04 | 52 |
| 200E | 6A8320 | • BLADE - HPC, 6TH STAGE, NOMINAL POST SBE72-0471 PRE SBE72-0560 | ai/04 | 52 |
| 200F | 6A8732 | • BLADE - HPC, 6TH STAGE, NOMINAL POST SBE72-0560 | aj-al/05 | 52 |
| 215 | 6A4904C01 | • BLADE - HPC, 6TH STAGE, NOMINAL PRE SBE72-0332 | aa-ae/02 | 23 |
| 215A | 6A4904C01 | • BLADE - HPC, 6TH STAGE, NOMINAL PRE SBE72-0332 | aa-ae/04 | 23 |
| 215B | 6A7405C01 | • BLADE - HPC, 6TH STAGE, NOMINAL POST SBE72-0332 PRE SBE70-0714 | af/04 | 23 |
| 215C | 6A7510C01 | • BLADE - HPC, 6TH STAGE, NOMINAL POST SBE70-0714 PRE SBE70-0726 | ag/04 | 23 |
| 215D | 6A7405C01 | • BLADE - HPC, 6TH STAGE, NOMINAL POST SBE70-0726 PRE SBE72-0471 | ah/04 | 23 |
| 215E | 6A8320 | • BLADE - HPC, 6TH STAGE, NOMINAL POST SBE72-0471 PRE SBE72-0560 | ai/04 | 23 |
| 215F | 6A8732 | • BLADE - HPC, 6TH STAGE, NOMINAL POST SBE72-0560 | aj-al/05 | 23 |
| 216 | 6B1494 | • BLADE - ADJUSTMENT U/S, 6TH STAGE, UNDERSIZE POST SBE70-1006 | al/05 | 1 |
| 217 | 6A4904C02 | • BLADE - HPC, 6TH STAGE, UNDERSIZE PRE SBE72-0332 | aa-ae/02 | 23 |
| 217A | 6A4904C02 | • BLADE - HPC, 6TH STAGE, UNDERSIZE PRE SBE72-0332 | aa-ae/04 | 23 |
| 217B | 6A7405C02 | • BLADE - HPC, 6TH STAGE, UNDERSIZE POST SBE72-0332 PRE SBE70-0714 | af/04 | 23 |
| 217C | 6A7510C02 | • BLADE - HPC, 6TH STAGE, UNDERSIZE POST SBE70-0714 PRE SBE70-0726 | ag/04 | 23 |
| 217D | 6A7405C02 | • BLADE - HPC, 6TH STAGE, UNDERSIZE POST SBE70-0726 PRE SBE72-0471 | ah/04 | 23 |
| 217E | 6A8733 | • BLADE - HPC, 6TH STAGE, UNDERSIZE POST SBE72-0560 PRE SBE70-1006 | aj-ak/05 | 23 |
| 217F | 6A8321 | • BLADE - HPC, 6TH STAGE, UNDERSIZE POST SBE72-0471 PRE SBE72-0560 | ai/04 | 23 |
| 217G | 6A8733 | • BLADE - HPC, 6TH STAGE, UNDERSIZE POST SBE70-1006 POST SBE72-0560 | aj-al/05 | 22 |
| 265 | 6A4304 | • NUT -SCREW LOCK, 7TH STAGE, ASSEMBLY OF | aa-al/01 | 2 |
| 270 | 6A4302 | • BLADE | aa-al/02 | 2 |
| 270A | 6A4905 | • BLADE PRE SBE72-0252 | aa-ac/02 | 2 |
| 270B | 6A6462 | • BLADE - HPC 7TH STAGE, LOCKING, LEFT HAND PRE SBE70-0714 | aa-af/02 | 2 |
| 270C | 6A6462 | • BLADE - HPC 7TH STAGE, LOCKING, LEFT HAND POST SBE72-0252 PRE SBE70-0714 | ad-af/03 | 2 |
| 270D | 6A7511 | • BLADE - HPC, 7TH STAGE, LOCKING, LEFT HAND POST SBE70-0714 PRE SBE70-0726 | ag/04 | 2 |
| 270E | 6A6462 | • BLADE - HPC 7TH STAGE, LOCKING, LEFT HAND POST SBE70-0726 PRE SBE72-0471 | ah/04 | 2 |
| 270F | 6A8314 | • BLADE - HPC, 7TH STAGE, LOCKING, LEFT HAND POST SBE72-0471 PRE SBE72-0560 | ai/04 | 2 |
| 270G | 6A8743 | • BLADE - HPC, 7TH STAGE, LOCKING, LEFT HAND POST SBE72-0560 | aj-al/05 | 2 |
| 285 | 6A4906 | • BLADE PRE SBE72-0252 | aa-ac/02 | 2 |
| 285A | 6A6463 | • BLADE - HPC 7TH STAGE, LOCKING, RIGHT HAND PRE SBE70-0714 | aa-af/02 | 2 |
| 285B | 6A6463 | • BLADE - HPC 7TH STAGE, LOCKING, RIGHT HAND POST SBE72-0252 PRE SBE70-0714 | ad-af/04 | 2 |
| 285C | 6A7512 | • BLADE - HPC, 7TH STAGE, LOCKING, RIGHT HAND POST SBE70-0714 PRE SBE70-0726 | ag/04 | 2 |
| 285D | 6A6463 | • BLADE - HPC 7TH STAGE, LOCKING, RIGHT HAND POST SBE70-0726 PRE SBE72-0471 | ah/04 | 2 |
| 285E | 6A8315 | • BLADE - HPC, 7TH STAGE, LOCKING, RIGHT HAND POST SBE72-0471 PRE SBE72-0560 | ai/04 | 2 |
| 285F | 6A8744 | • BLADE - HPC, 7TH STAGE, LOCKING, RIGHT HAND POST SBE72-0560 | aj-al/05 | 2 |
| 300 | 6A4907C01 | • BLADE PRE SBE72-0252 | aa-ac/02 | 63 |
| 300A | 6A6469C01 | • BLADE - HPC, 7TH STAGE, NOMINAL PRE SBE70-0714 | aa-af/04 | 63 |
| 300B | 6A6469C01 | • BLADE - HPC, 7TH STAGE, NOMINAL POST SBE72-0252 PRE SBE70-0714 | ad-af/04 | 63 |
| 300C | 6A7513C01 | • BLADE - HPC, 7TH STAGE, NOMINAL POST SBE70-0714 PRE SBE70-0726 | ag/04 | 63 |
| 300D | 6A6469C01 | • BLADE - HPC, 7TH STAGE, NOMINAL POST SBE70-0726 PRE SBE72-0471 | ah/04 | 63 |
| 300E | 6A8312 | • BLADE - HPC, 7TH STAGE, NOMINAL POST SBE72-0471 PRE SBE72-0560 | ai/04 | 63 |
| 300F | 6A8741 | • BLADE - HPC, 7TH STAGE, NOMINAL POST SBE72-0560 | aj-al/05 | 63 |
| 315 | 6A4907C01 | • BLADE PRE SBE72-0252 | aa-ac/02 | 26 |
| 315A | 6A6469C01 | • BLADE - HPC, 7TH STAGE, NOMINAL PRE SBE70-0714 | aa-af/02 | 26 |
| 315B | 6A6469C01 | • BLADE - HPC, 7TH STAGE, NOMINAL POST SBE72-0252 PRE SBE70-0714 | ad-af/04 | 26 |
| 315C | 6A7513C01 | • BLADE - HPC, 7TH STAGE, NOMINAL POST SBE70-0714 PRE SBE70-0726 | ag/04 | 26 |
| 315D | 6A6469C01 | • BLADE - HPC, 7TH STAGE, NOMINAL POST SBE70-0726 PRE SBE72-0471 | ah/04 | 26 |
| 315E | 6A8312 | • BLADE - HPC, 7TH STAGE, NOMINAL POST SBE72-0471 PRE SBE72-0560 | ai/04 | 26 |
| 315F | 6A8741 | • BLADE - HPC, 7TH STAGE, NOMINAL POST SBE72-0560 | aj-al/05 | 26 |
| 316 | 6B1495 | • BLADE - ADJUSTMENT U/S 7TH STAGE, UNDERSIZE POST SBE70-1006 | al/05 | 1 |
| 317 | 6A4907C02 | • BLADE PRE SBE72-0252 | aa-ac/02 | 26 |
| 317A | 6A6469C02 | • BLADE - HPC, 7TH STAGE, UNDERSIZE PRE SBE70-0714 | aa-af/02 | 26 |
| 317B | 6A6469C02 | • BLADE - HPC, 7TH STAGE, UNDERSIZE POST SBE72-0252 PRE SBE70-0714 | ad-af/04 | 26 |
| 317C | 6A7513C02 | • BLADE - HPC, 7TH STAGE, UNDERSIZE POST SBE70-0714 PRE SBE70-0726 | ag/04 | 26 |
| 317D | 6A6469C02 | • BLADE - HPC, 7TH STAGE, UNDERSIZE POST SBE70-0726 PRE SBE72-0471 | ah/04 | 26 |
| 317E | 6A8313 | • BLADE - HPC, 7TH STAGE, UNDERSIZE POST SBE72-0471 PRE SBE72-0560 | ai/04 | 26 |
| 317F | 6A8742 | • BLADE - HPC, 7TH STAGE, UNDERSIZE POST SBE72-0560 PRE SBE70-1006 | aj-ak/05 | 26 |
| 317G | 6A8742 | • BLADE - HPC, 7TH STAGE, UNDERSIZE POST SBE70-1006 POST SBE72-0560 | aj-al/05 | 25 |
| 365 | 6A4110 | • NUT - SCREW, LOCK, ASSEMBLY OF PRE SBE72-0560 | aa-ai/04 | 2 |
| 365A | 6B1088 | • NUT - ASSEMBLY, LOCKING POST SBE72-0560 | aj-al/05 | 2 |
| 370 | 6A4908 | • BLADE PRE SBE72-0252 | aa-ac/02 | 2 |
| 370A | 6A6464 | • BLADE - HPC 8TH STAGE, LOCKING, LEFT HAND PRE SBE70-0714 | aa-af/02 | 2 |
| 370B | 6A6464 | • BLADE - HPC 8TH STAGE, LOCKING, LEFT HAND POST SBE72-0252 PRE SBE70-0714 | ad-af/03 | 2 |
| 370C | 6A7514 | • BLADE - HPC, 8TH STAGE, LOCKING, LEFT HAND POST SBE70-0714 PRE SBE70-0726 | ag/04 | 2 |
| 370D | 6A6464 | • BLADE - HPC 8TH STAGE, LOCKING, LEFT HAND POST SBE70-0726 PRE SBE72-0560 | ah-ai/04 | 2 |
| 370E | 6A8747 | • BLADE - HPC, 8TH STAGE, LOCKING, LEFT HAND POST SBE72-0560 | aj-al/05 | 2 |
| 385 | 6A4909 | • BLADE PRE SBE2-0252 | aa-ac/02 | 2 |
| 385A | 6A6465 | • BLADE - HPC 8TH STAGE, LOCKING, RIGHT HAND PRE SBE70-0714 | aa-af/02 | 2 |
| 385B | 6A6465 | • BLADE - HPC 8TH STAGE, LOCKING, RIGHT HAND POST SBE72-0252 PRE SBE70-0714 | ad-af/03 | 2 |
| 385C | 6A7515 | • BLADE - HPC, 8TH STAGE, LOCKING, RIGHT HAND POST SBE70-0714 PRE SBE70-0726 | ag/04 | 2 |
| 385D | 6A6465 | • BLADE - HPC 8TH STAGE, LOCKING, RIGHT HAND POST SBE70-0726 PRE SBE72-0560 | ah-ai/04 | 2 |
| 385E | 6A8748 | • BLADE - HPC, 8TH STAGE, LOCKING, RIGHT HAND POST SBE72-0560 | aj-al/05 | 2 |
| 400 | 6A4910C01 | • BLADE PRE SBE72-0252 | aa-ac/02 | 56 |
| 400A | 6A6470C01 | • BLADE - HPC, 8TH STAGE, NOMINAL PRE SBE70-0714 | aa-af/02 | 56 |
| 400B | 6A6470C01 | • BLADE - HPC, 8TH STAGE, NOMINAL POST SBE72-0252 PRE SBE70-0714 | ad-af/03 | 56 |
| 400C | 6A7516C01 | • BLADE - HPC, 8TH STAGE, NOMINAL POST SBE70-0714 PRE SBE70-0726 | ag/04 | 56 |
| 400D | 6A6470C01 | • BLADE - HPC, 8TH STAGE, NOMINAL POST SBE70-0726 PRE SBE72-0560 | ah-ai/04 | 56 |
| 400E | 6A8745 | • BLADE - HPC, 8TH STAGE, NOMINAL POST SBE72-0560 | aj-al/05 | 56 |
| 415 | 6A4910C01 | • BLADE PRE SBE72-0252 | aa-ac/02 | 24 |
| 415A | 6A6470C01 | • BLADE - HPC, 8TH STAGE, NOMINAL PRE SBE70-0714 | aa-af/02 | 24 |
| 415B | 6A6470C01 | • BLADE - HPC, 8TH STAGE, NOMINAL POST SBE72-0252 PRE SBE70-0714 | ad-af/03 | 24 |
| 415C | 6A7516C01 | • BLADE - HPC, 8TH STAGE, NOMINAL POST SBE70-0714 PRE SBE70-0726 | ag/04 | 24 |
| 415D | 6A6470C01 | • BLADE - HPC, 8TH STAGE, NOMINAL POST SBE70-0726 PRE SBE72-0560 | ah-ai/04 | 24 |
| 415E | 6A8745 | • BLADE - HPC, 8TH STAGE, NOMINAL POST SBE72-0560 | aj-al/05 | 24 |
| 416 | 6B1496 | • BLADE - ADJUSTMENT U/S 8TH STAGE, UNDERSIZE POST SBE70-1006 | al/05 | 1 |
| 417 | 6A4910C02 | • BLADE PRE SBE72-0252 | aa-ac/02 | 24 |
| 417A | 6A6470C02 | • BLADE - HPC, 8TH STAGE, UNDERSIZE PRE SBE70-0714 | aa-af/02 | 24 |
| 417B | 6A6470C02 | • BLADE - HPC, 8TH STAGE, UNDERSIZE POST SBE72-0252 PRE SBE70-0714 | ad-af/03 | 24 |
| 417C | 6A7516C02 | • BLADE - HPC, 8TH STAGE, UNDERSIZE POST SBE70-0714 PRE SBE70-0726 | ag/04 | 24 |
| 417D | 6A6470C02 | • BLADE - HPC, 8TH STAGE, UNDERSIZE POST SBE70-0726 PRE SBE72-0560 | ah-ai/04 | 24 |
| 417E | 6A8746 | • BLADE - HPC, 8TH STAGE, UNDERSIZE POST SBE72-0560 PRE SBE70-1006 | aj-ak/05 | 24 |
| 417F | 6A8746 | • BLADE - HPC, 8TH STAGE, UNDERSIZE POST SBE70-1006 POST SBE72-0560 | aj-al/05 | 23 |
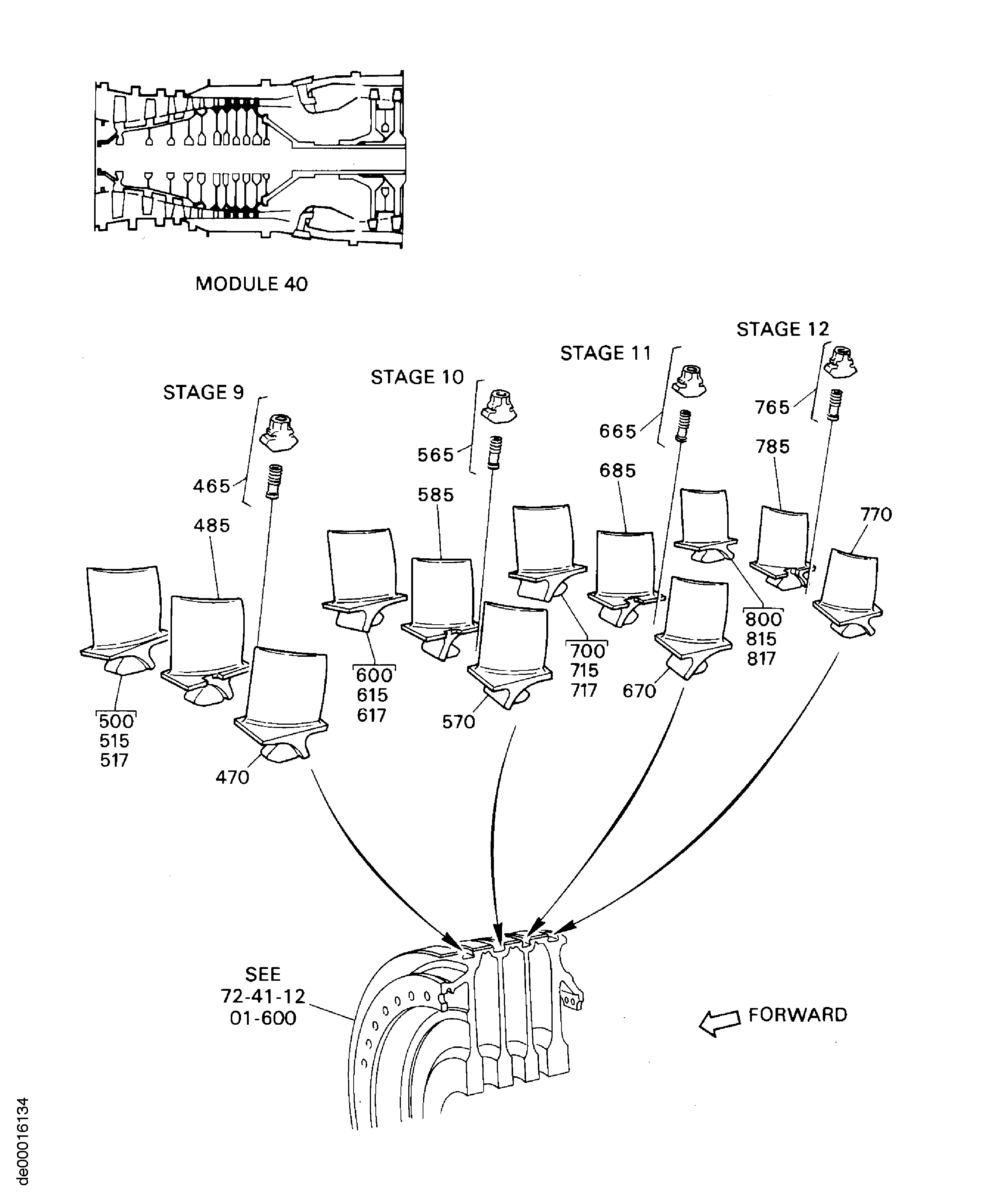
| 465 | 6A4110 | • NUT - SCREW, LOCK, ASSEMBLY OF | aa-al/01 | 2 |
| 470 | 6A4726 | • BLADE - HPC, 9TH STAGE, LOCKING, LEFT HAND PRE SBE72-0284 | aa-ad/02 | 2 |
| 470A | 6A4726 | • BLADE - HPC, 9TH STAGE, LOCKING, LEFT HAND PRE SBE72-0284 | aa-ad/03 | 2 |
| 470B | 6A6566 | • BLADE - HPC 9TH STAGE, LOCKING, LEFT H AND POST SBE72-0284 PRE SBE70-0714 | ae-af/04 | 2 |
| 470C | 6A7517 | • BLADE - HPC, 9TH STAGE, LOCKING, LEFT HAND POST SBE70-0714 PRE SBE70-0726 | ag/04 | 2 |
| 470D | 6A6566 | • BLADE - HPC 9TH STAGE, LOCKING, LEFT H AND POST SBE70-0726 | ah-al/04 | 2 |
| 470E | 6A6566 | • BLADE - HPC 9TH STAGE, LOCKING, LEFT H AND POST SBE70-0726 | ah-al/01 | 2 |
| 470F | 6A8751 | • BLADE - HPC, 9TH STAGE, LOCKING, LEFT HAND POST SBE72-0561 | ak-al/05 | 2 |
| 485 | 6A4846 | • BLADE - HPC, 9TH STAGE, LOCKING, RIGHT HAND PRE SBE72-0172 | aa/02 | 2 |
| 485A | 6A5645 | • BLADE - HPC, 9TH STAGE,LOCKING, RIGHT HAND PRE SBE70-0714 | aa-af/02 | 2 |
| 485B | 6A5645 | • BLADE - HPC, 9TH STAGE,LOCKING, RIGHT HAND POST SBE72-0172 PRE SBE70-0714 | ab-af/03 | 2 |
| 485C | 6A7518 | • BLADE - HPC, 9TH STAGE, LOCKING, RIGHT HAND POST SBE70-0714 PRE SBE70-0726 | ag/04 | 2 |
| 485D | 6A5645 | • BLADE - HPC, 9TH STAGE,LOCKING, RIGHT HAND POST SBE70-0726 | ah-al/01 | 2 |
| 485E | 6A8752 | • BLADE - HPC, 9TH STAGE, LOCKING, RIGHT HAND POST SBE72-0561 | ak-al/05 | 2 |
| 500 | 6A4211C01 | • BLADE PRE SBE70-0714 | aa-af/04 | 60 |
| 500A | 6A7519C01 | • BLADE - HPC, 9TH STAGE, NOMINAL POST SBE70-0714 PRE SBE70-0726 | ag/04 | 60 |
| 500B | 6A4211C01 | • BLADE POST SBE70-0726 | ah-al/01 | 60 |
| 500C | 6A8749 | • BLADE - HPC, 9TH STAGE, NOMINAL POST SBE72-0561 | ak-al/05 | 60 |
| 515 | 6A4211C01 | • BLADE PRE SBE70-0714 | aa-af/04 | 25 |
| 515A | 6A7519C01 | • BLADE - HPC, 9TH STAGE, NOMINAL POST SBE70-0714 PRE SBE70-0726 | ag/04 | 25 |
| 515B | 6A4211C01 | • BLADE POST SBE70-0726 | ah-al/01 | 25 |
| 515C | 6A8749 | • BLADE - HPC, 9TH STAGE, NOMINAL POST SBE72-0561 | ak-al/05 | 25 |
| 517 | 6A4211C02 | • BLADE PRE SBE70-0714 | aa-af/04 | 25 |
| 517A | 6A7519C02 | • BLADE - HPC, 9TH STAGE, UNDERSIZE POST SBE70-0714 PRE SBE70-0726 | ag/04 | 25 |
| 517B | 6A4211C02 | • BLADE POST SBE70-0726 | ah-al/01 | 25 |
| 517C | 6A8750 | • BLADE - HPC, 9TH STAGE, UNDERSIZE POST SBE72-0561 | ak-al/05 | 25 |
| 565 | 6A4110 | • NUT - SCREW, LOCK, ASSEMBLY OF | aa-al/01 | 2 |
| 570 | 6A4727 | • BLADE - HPC, 10TH STAGE, LOCKING, LEFT HAND PRE SBE72-0284 | aa-ad/02 | 2 |
| 570A | 6A4727 | • BLADE - HPC, 10TH STAGE, LOCKING, LEFT HAND PRE SBE72-0284 | aa-ad/03 | 2 |
| 570B | 6A6567 | • BLADE - HPC 10TH STAGE, LOCKING, LEFT H AND POST SBE72-0284 PRE SBE70-0714 | ae-af/04 | 2 |
| 570C | 6A7520 | • BLADE - HPC, 10TH STAGE, LOCKING, LEFT HAND POST SBE70-0714 PRE SBE70-0726 | ag/04 | 2 |
| 570D | 6A6567 | • BLADE - HPC 10TH STAGE, LOCKING, LEFT H AND POST SBE70-0726 | ah-al/01 | 2 |
| 570E | 6A8755 | • BLADE - HPC, 10TH STAGE, LOCKING, LEFT HAND POST SBE72-0561 | ak-al/05 | 2 |
| 585 | 6A4221 | • BLADE PRE SBE72-0172 | aa/02 | 2 |
| 585A | 6A5646 | • BLADE - HPC, 10TH STAGE,LOCKING, RIGHT HAND PRE SBE70-0714 | aa-af/02 | 2 |
| 585B | 6A5646 | • BLADE - HPC, 10TH STAGE,LOCKING, RIGHT HAND POST SBE72-0172 PRE SBE70-0714 | ab-af/03 | 2 |
| 585C | 6A7521 | • BLADE - HPC, 10TH STAGE, LOCKING, RIGHT HAND POST SBE70-0714 PRE SBE70-0726 | ag/04 | 2 |
| 585D | 6A5646 | • BLADE - HPC, 10TH STAGE,LOCKING, RIGHT HAND POST SBE70-0726 | ah-al/01 | 2 |
| 585E | 6A8756 | • BLADE - HPC, 10TH STAGE, LOCKING, RIGHT HAND POST SBE72-0561 | ak-al/05 | 2 |
| 600 | 6A4222C01 | • BLADE PRE SBE70-0714 | aa-af/04 | 57 |
| 600A | 6A7522C01 | • BLADE - HPC, 10TH STAGE, NOMINAL POST SBE70-0714 | ag-al/04 | 57 |
| 600B | 6A4222C01 | • BLADE POST SBE70-0726 | ah-al/01 | 57 |
| 600C | 6A8753 | • BLADE - HPC, 10TH STAGE, NOMINAL POST SBE72-0561 | ak-al/05 | 57 |
| 615 | 6A4222C01 | • BLADE PRE SBE70-0714 | aa-af/04 | 24 |
| 615A | 6A7522C01 | • BLADE - HPC, 10TH STAGE, NOMINAL POST SBE70-0714 PRE SBE70-0726 | ag/04 | 24 |
| 615B | 6A4222C01 | • BLADE POST SBE70-0726 | ah-al/01 | 24 |
| 615C | 6A8753 | • BLADE - HPC, 10TH STAGE, NOMINAL POST SBE72-0561 | ak-al/05 | 24 |
| 617 | 6A4222C02 | • BLADE - HPC, 10TH STAGE, UNDERSIZE PRE SBE70-0714 | aa-af/04 | 24 |
| 617A | 6A7522C02 | • BLADE - HPC, 10TH STAGE, UNDERSIZE POST SBE70-0714 PRE SBE70-0726 | ag/04 | 24 |
| 617B | 6A4222C02 | • BLADE - HPC, 10TH STAGE, UNDERSIZE POST SBE70-0726 | ah-al/01 | 24 |
| 617C | 6A8754 | • BLADE - HPC, 10TH STAGE, UNDERSIZE POST SBE72-0561 | ak-al/05 | 24 |
| 665 | 6A4110 | • NUT - SCREW, LOCK, ASSEMBLY OF | aa-al/01 | 2 |
| 670 | 6A4728 | • BLADE - HPC, 11TH STAGE, LOCKING, LEFT HAND PRE SBE72-0284 | aa-ad/02 | 2 |
| 670A | 6A4728 | • BLADE - HPC, 11TH STAGE, LOCKING, LEFT HAND PRE SBE72-0284 | aa-ad/03 | 2 |
| 670B | 6A6568 | • BLADE - HPC 11TH STAGE, LOCKING, LEFT H AND POST SBE72-0284 PRE SBE70-0714 | ae-af/04 | 2 |
| 670C | 6A7523 | • BLADE - HPC, 11TH STAGE, LOCKING, RIGHT HAND POST SBE70-0714 PRE SBE70-0726 | ag/04 | 2 |
| 670D | 6A6568 | • BLADE - HPC 11TH STAGE, LOCKING, LEFT H AND POST SBE70-0726 | ah-al/01 | 2 |
| 670E | 6A8759 | • BLADE - HPC, 11TH STAGE, LOCKING, LEFT HAND POST SBE72-0561 | ak-al/05 | 2 |
| 685 | 6A4253 | • BLADE PRE SBE72-0172 | aa/02 | 2 |
| 685A | 6A5647 | • BLADE - HPC, 11TH STAGE,LOCKING, RIGHT HAND PRE SBE70-0714 | aa-af/02 | 2 |
| 685B | 6A5647 | • BLADE - HPC, 11TH STAGE,LOCKING, RIGHT HAND POST SBE72-0172 PRE SBE70-0714 | ab-af/03 | 2 |
| 685C | 6A7524 | • BLADE - HPC, 11TH STAGE, LOCKING, RIGHT HAND POST SBE70-0714 PRE SBE70-0726 | ag/04 | 2 |
| 685D | 6A5647 | • BLADE - HPC, 11TH STAGE,LOCKING, RIGHT HAND POST SBE70-0726 | ah-al/01 | 2 |
| 685E | 6A8760 | • BLADE - HPC, 11TH STAGE, LOCKING, RIGHT HAND POST SBE72-0561 | ak-al/05 | 2 |
| 700 | 6A4251C01 | • BLADE PRE SBE70-0714 | aa-af/04 | 50 |
| 700A | 6A7525C01 | • BLADE - HPC, 11TH STAGE, NOMINAL POST SBE70-0714 PRE SBE70-0726 | ag/04 | 50 |
| 700B | 6A4251C01 | • BLADE POST SBE70-0726 | ah-al/01 | 50 |
| 700C | 6A8757 | • BLADE - HPC, 11TH STAGE, NOMINAL POST SBE72-0561 | ak-al/05 | 50 |
| 715 | 6A4251C01 | • BLADE PRE SBE70-0714 | aa-af/04 | 24 |
| 715A | 6A7525C01 | • BLADE - HPC, 11TH STAGE, NOMINAL POST SBE70-0714 PRE SBE70-0726 | ag/04 | 24 |
| 715B | 6A4251C01 | • BLADE POST SBE70-0726 | ah-al/01 | 24 |
| 715C | 6A8757 | • BLADE - HPC, 11TH STAGE, NOMINAL POST SBE72-0561 | ak-al/05 | 24 |
| 717 | 6A4251C02 | • BLADE PRE SBE70-0714 | aa-af/04 | 24 |
| 717A | 6A7525C02 | • BLADE - HPC, 11TH STAGE, UNDERSIZE POST SBE70-0714 PRE SBE70-0726 | ag/04 | 24 |
| 717B | 6A4251C02 | • BLADE POST SBE70-0726 | ah-al/01 | 24 |
| 717C | 6A8758 | • BLADE - HPC, 11TH STAGE, UNDERSIZE POST SBE72-0561 | ak-al/05 | 24 |
| 765 | 6A4110 | • NUT - SCREW, LOCK, ASSEMBLY OF | aa-al/01 | 2 |
| 770 | 6A4729 | • BLADE PRE SBE72-0204 | aa-ab/02 | 2 |
| 770A | 6A5947 | • BLADE - HPC STAGE 12 LOCKING, LEFT HAND PRE SBE70-0714 | aa-af/02 | 2 |
| 770B | 6A5947 | • BLADE - HPC STAGE 12 LOCKING, LEFT HAND POST SBE72-0204 PRE SBE70-0714 | ac-af/03 | 2 |
| 770C | 6A7526 | • BLADE - HPC, 12TH STAGE, LOCKING, LEFT HAND POST SBE70-0714 PRE SBE70-0726 | ag/04 | 2 |
| 770D | 6A5947 | • BLADE - HPC STAGE 12 LOCKING, LEFT HAND POST SBE70-0726 | ah-al/01 | 2 |
| 770E | 6A8763 | • BLADE - HPC, 12TH STAGE, LOCKING, LEFT HAND POST SBE72-0561 | ak-al/05 | 2 |
| 785 | 6A4206 | • BLADE PRE SBE72-0172 | aa/02 | 2 |
| 785A | 6A5648 | • BLADE - HPC, 12TH STAGE,LOCKING, RIGHT HAND PRE SBE70-0714 | aa-af/02 | 2 |
| 785B | 6A5648 | • BLADE - HPC, 12TH STAGE,LOCKING, RIGHT HAND POST SBE72-0172 PRE SBE70-0714 | ab-af/03 | 2 |
| 785C | 6A7527 | • BLADE - HPC, 12TH STAGE, LOCKING, RIGHT HAND POST SBE70-0714 PRE SBE70-0726 | ag/04 | 2 |
| 785D | 6A5648 | • BLADE - HPC, 12TH STAGE,LOCKING, RIGHT HAND POST SBE70-0726 | ah-al/01 | 2 |
| 785E | 6A8764 | • BLADE - HPC, 12TH STAGE, LOCKING, RIGHT HAND POST SBE72-0561 | ak-al/05 | 2 |
| 800 | 6A4207C01 | • BLADE PRE SBE70-0714 | aa-af/04 | 44 |
| 800A | 6A7528C01 | • BLADE - HPC, 12TH STAGE, NOMINAL POST SBE70-0714 PRE SBE70-0726 | ag/04 | 44 |
| 800B | 6A4207C01 | • BLADE POST SBE70-0726 | ah-al/01 | 44 |
| 800C | 6A8761 | • BLADE - HPC, 12TH STAGE, NOMINAL POST SBE72-0561 | ak-al/05 | 44 |
| 815 | 6A4207C01 | • BLADE PRE SBE70-0714 | aa-af/04 | 23 |
| 815A | 6A7528C01 | • BLADE - HPC, 12TH STAGE, NOMINAL POST SBE70-0714 PRE SBE70-0726 | ag/04 | 23 |
| 815B | 6A4207C01 | • BLADE POST SBE70-0726 | ah-al/01 | 23 |
| 815C | 6A8761 | • BLADE - HPC, 12TH STAGE, NOMINAL POST SBE72-0561 | ak-al/05 | 23 |
| 817 | 6A4207C02 | • BLADE PRE SBE70-0714 | aa-af/04 | 23 |
| 817A | 6A7528C02 | • BLADE - HPC, 12TH STAGE, UNDERSIZE POST SBE70-0714 PRE SBE70-0726 | ag/04 | 23 |
| 817B | 6A4207C02 | • BLADE POST SBE70-0726 | ah-al/01 | 23 |
| 817C | 6A8762 | • BLADE - HPC, 12TH STAGE, UNDERSIZE POST SBE72-0561 | ak-al/05 | 23 |
| - ITEM NOT ILLUSTRATED, ***** EFFECTIVITY NOT AVAILABLE | ||||
Figure: HPC Rotor Blades
HPC Rotor Blades

HPC Rotor Blades

