DMC:V2500-A5-72-42-20-02A-941A-DIssue No:002.00Issue Date:2015-08-01
Export Control
EAR Export Classification: Not subject to the EAR per 15 C.F.R. Chapter 1, Part 734.3(b)(3), except for the following Service Bulletins which are currently published as EAR Export Classification 9E991: SBE70-0992, SBE72-0483, SBE72-0580, SBE72-0588, SBE72-0640, SBE73-0209, SBE80-0024 and SBE80-0025.Copyright
© IAE International Aero Engines AG (2001, 2014 - 2021) The information contained in this document is the property of © IAE International Aero Engines AG and may not be copied or used for any purpose other than that for which it is supplied without the express written authority of © IAE International Aero Engines AG. (This does not preclude use by engine and aircraft operators for normal instructional, maintenance or overhaul purposes.).Applicability
V2500-A5
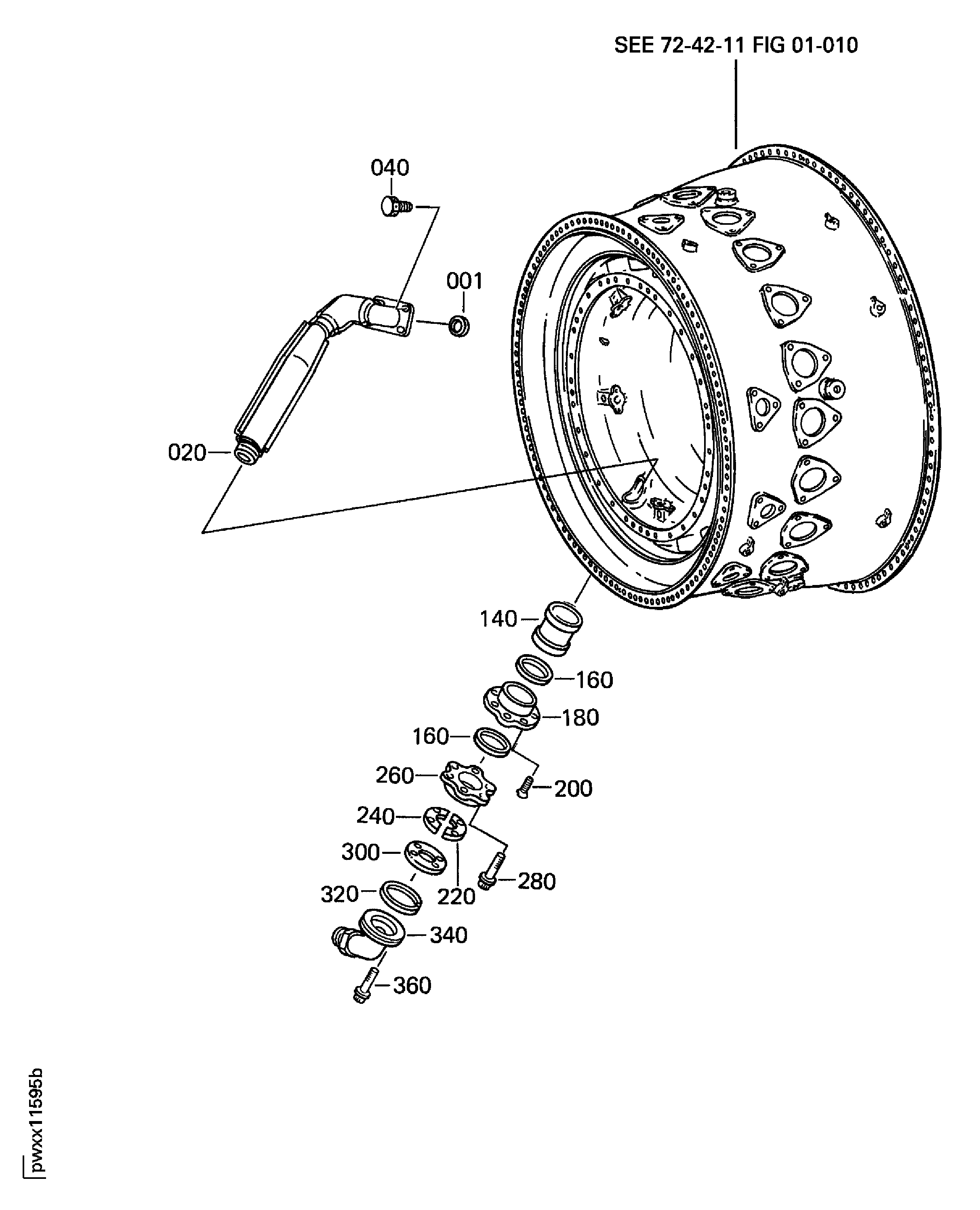
| Fig. Item | Part No. | Description | Effect/Model Applic. | UPA |
|---|---|---|---|---|
| 02 | ||||
| - | B72422002 | ENGINE-NO.4 BEARING COMPARTMENT TUBES, PRE SBE72-0167 | aa | |
| - | SBE0167-01 | ENGINE-NO.4 BEARING COMPARTMENT TUBES, PRE SBE79-0088 | ab | |
| - | SBE0088-01 | ENGINE-NO.4 BEARING COMPARTMENT TUBES, PRE SBE72-0650 | ac | |
| - | SBE0650-01 | ENGINE-NO.4 BEARING COMPARTMENT TUBES | ad | |
| 001 | 2A0557 | • GASKET ALT 2A0555 | aa-ac/01 | 1 |
| -001A | 2A0555 | • GASKET ALT 2A0556 | aa-ac/01 | REF |
| -001B | 2A0556 | • GASKET ALT 2A0557 | aa-ac/01 | REF |
| 020 | 2A2074-01 | • TUBE, SCAVENGE, NO. 4 BEARING, ASSEMBLY OF PRE SBE72-0650 | aa-ac/01 | 1 |
| 020A | 2A4379-01 | • TUBE, SCAVENGE, NO. 4 BEARING, ASSEMBLY OF POST SBE72-0650 | ad/04 | 1 |
| 040 | 2A0335 | • BOLT | aa-ac/01 | 4 |
| 140 | 2A0458 | • SHIELD HEAT NO. 4 BEARING SCAVENGE | aa-ac/01 | 1 |
| 160 | ST1141-52 | • GASKET - OPTION 77445 ALT ST1111-52 | aa-ac/01 | 2 |
| -160A | ST1111-52 | • GASKET 77445 ALT ST1121-52 | aa-ac/01 | REF |
| -160B | ST1121-52 | • GASKET 77445 ALT ST1141-52 | aa-ac/01 | REF |
| 180 | 2A0457 | • SLEEVE, SLG,NO4BRG SCAV TUBE | aa-ac/01 | 1 |
| 200 | 4W2386 | • SCREW - .250 DIA X .625 (SEE APPENDIX 5) | aa-ac/01 | 2 |
| 220 | 2A0346 | • LOCK, NO. 4 BEARING SCAVENGE TUBE PRE SBE79-0088 | aa-ab/01 | 1 |
| 220A | 2A3817 | • LOCK, SCAVENGE TUBE, NO. 4 BEARING POST SBE79-0088 | ac/01 | 1 |
| 240 | 2A0345 | • LOCK, NO. 4 BEARING SCAVENGE TUBE | aa-ac/01 | 1 |
| 260 | 2A1979 | • SLEEVE, SEALING, NO. 4 BEARING SCAVENGE TUBE | aa-ac/01 | 1 |
| 280 | MS9575-08 | • BOLT, MACHINE DOUBLE HEX 96906 | aa-ac/01 | 6 |
| 300 | 2A0347 | • GASKET, NO. 4 BEARING SCAVENGE TUBE PRE SBE72-0167 | aa/02 | 1 |
| 300A | 2A2927 | • GASKET, SCAVENGE, NO. 4 BEARING POST SBE72-0167 PRE SBE79-0088 | ab/02 | 1 |
| 300B | 2A2927 | • GASKET, SCAVENGE, NO. 4 BEARING PRE SBE79-0088 | aa-ab/03 | 1 |
| 300C | 2A3816 | • GASKET, SCAVENGE, NO. 4 BEARING POST SBE79-0088 | ac/01 | 1 |
| 320 | 2A1972 | • SEAL, RING, METAL, 2.354 OD X 0.0775 X 0.067 | aa-ac/01 | 1 |
| 340 | 2A1977 | • ELBOW, TUBE TO BOSS PRE SBE79-0088 | aa-ab/01 | 1 |
| 340A | 2A3818 | • ELBOW, TUBE TO BOSS, ASSEMBLY POST SBE79-0088 | ac/01 | 1 |
| 342 | MS9390-280 | • • PIN 96906 POST SBE79-0088 | ac/01 | 1 |
| 360 | ST1352-06 | • BOLT, MACHINE, 0.250 - 28, DH 77445 | aa-ac/01 | 4 |
| - ITEM NOT ILLUSTRATED, ***** EFFECTIVITY NOT AVAILABLE | ||||
Figure: No. 4 Bearing Compartment Tubes
No. 4 Bearing Compartment Tubes

