DMC:V2500-A5-72-45-21-01A-941A-DIssue No:001.00Issue Date:2014-05-01
Export Control
EAR Export Classification: Not subject to the EAR per 15 C.F.R. Chapter 1, Part 734.3(b)(3), except for the following Service Bulletins which are currently published as EAR Export Classification 9E991: SBE70-0992, SBE72-0483, SBE72-0580, SBE72-0588, SBE72-0640, SBE73-0209, SBE80-0024 and SBE80-0025.Copyright
© IAE International Aero Engines AG (2001, 2014 - 2021) The information contained in this document is the property of © IAE International Aero Engines AG and may not be copied or used for any purpose other than that for which it is supplied without the express written authority of © IAE International Aero Engines AG. (This does not preclude use by engine and aircraft operators for normal instructional, maintenance or overhaul purposes.).Applicability
V2500-A5
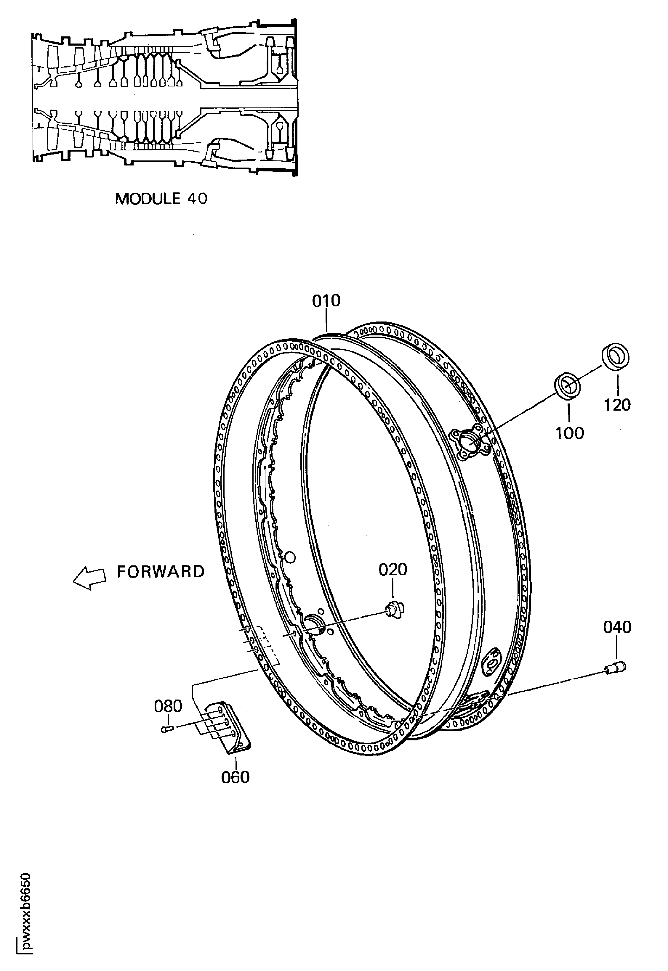
| Fig. Item | Part No. | Description | Effect/Model Applic. | UPA |
|---|---|---|---|---|
| 01 | ||||
| - | B72452101 | ENGINE-HP TURBINE CASE ASSEMBLY, PRE SBE72-0236 | aa | |
| - | SBE0236-01 | ENGINE-HP TURBINE CASE ASSEMBLY, PRE SBE72-0522 | ab | |
| - | SBE0522-01 | ENGINE-HP TURBINE CASE ASSEMBLY, PRE SBE70-0987 | ac | |
| - | SBE0987-01 | ENGINE-HP TURBINE CASE ASSEMBLY, PRE SBE72-0631 | ad | |
| - | SBE0631-01 | ENGINE-HP TURBINE CASE ASSEMBLY | ae | |
| 010 | 2A1600 | • CASE, TURBINE ASSY OF | aa-ae/01 | 1 |
| 020 | 1A3893 | • • NUT - OPTION 77445 ALT 774773 | aa-ae/01 | 19 |
| -020A | 774773 | • • NUT - SELF-LOCKING 77445 ALT 774774 CLINCH | aa-ae/02 | REF |
| -020B | 774774 | • • NUT - SELF-LOCKING 77445 ALT 774776 CLINCH | aa-ae/02 | REF |
| -020C | 774776 | • • NUT - SELF-LOCKING 77445 ALT 1A3893 CLINCH | aa-ae/02 | REF |
| -020D | 774773 | • • NUT - SELF-LOCKING 77445 ALT 774774 | aa-ae/03 | REF |
| -020E | 774774 | • • NUT - SELF-LOCKING 77445 ALT 774776 | aa-ae/03 | REF |
| -020F | 774776 | • • NUT - SELF-LOCKING 77445 ALT 1A3893 | aa-ae/03 | REF |
| 040 | 2A0256 | • • PIN, SHOULDER | aa-ae/01 | 1 |
| 060 | 2A1595 | • • BRACKET, TURBINE CASE | aa-ae/01 | 1 |
| 080 | MS20427M4-8 | • • RIVET, COUNTERSUNK HEAD 96906 PRE SBE70-0987 | aa-ac/01 | 2 |
| -080A | MS20427M4-8 | • • RIVET, COUNTERSUNK HEAD 96906 ALT MS20427M4-7 POST SBE70-0987 | ad-ae/01 | REF |
| 080B | MS20427M4-7 | • • RIVET 96906 POST SBE70-0987 | ad-ae/01 | 2 |
| 100 | 2A3692 | • PLATE, ORIFICE PRE SBE72-0236 | aa/02 | 4 |
| 100A | 2A3734 | • PLATE, ORIFICE POST SBE72-0236 PRE SBE72-0522 | ab/02 | 4 |
| 100B | 2A3734 | • PLATE, ORIFICE PRE SBE72-0522 | aa-ab/03 | 4 |
| 100C | 2A3738 | • PLATE, ORIFICE 77445 POST SBE72-0522 PRE SBE72-0631 | ac-ae/01 | 4 |
| 100D | 2A3739 | • PLATE, ORIFICE 77445 POST SBE72-0631 | ae/04 | 4 |
| 120 | 2A0259 | • RING, RETAINING SPIRAL | aa-ae/02 | 4 |
| 120A | 2A0259 | • RING, RETAINING SPIRAL | aa-ae/03 | 4 |
| - ITEM NOT ILLUSTRATED, ***** EFFECTIVITY NOT AVAILABLE | ||||
Figure: HPT Case And Related Parts
HPT Case And Related Parts

