DMC:V2500-A5-72-45-31-01A-941A-DIssue No:003.00Issue Date:2021-02-01
Export Control
EAR Export Classification: Not subject to the EAR per 15 C.F.R. Chapter 1, Part 734.3(b)(3), except for the following Service Bulletins which are currently published as EAR Export Classification 9E991: SBE70-0992, SBE72-0483, SBE72-0580, SBE72-0588, SBE72-0640, SBE73-0209, SBE80-0024 and SBE80-0025.Copyright
© IAE International Aero Engines AG (2001, 2014 - 2021) The information contained in this document is the property of © IAE International Aero Engines AG and may not be copied or used for any purpose other than that for which it is supplied without the express written authority of © IAE International Aero Engines AG. (This does not preclude use by engine and aircraft operators for normal instructional, maintenance or overhaul purposes.).Applicability
All
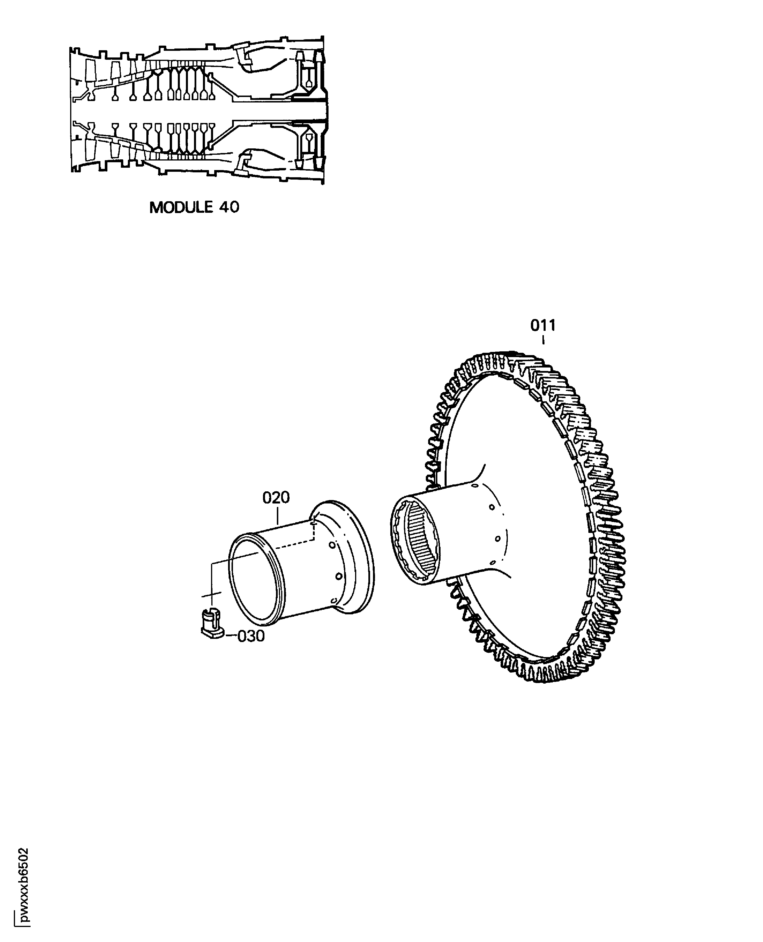
| Fig. Item | Part No. | Description | Effect/Model Applic. | UPA |
|---|---|---|---|---|
| 01 | ||||
| - | B72453101 | ENGINE - STAGE 2 TURBINE HUB, PRE SBE72-0145 | aa | |
| - | SBE0145-01 | ENGINE - STAGE 2 TURBINE HUB, PRE SBE72-0327 | ab | |
| - | SBE0327-01 | ENGINE - STAGE 2 TURBINE HUB, PRE SBE72-0562 | ac | |
| - | SBE0562-01 | ENGINE - STAGE 2 TURBINE HUB | ad | |
| 011 | 2A2302 | • HUB - TURBINE, 2ND STAGE, ASSEMBLY OF PRE SBE72-0145 | aa/01 | 1 |
| 011A | 2A3002 | • HUB - TURBINE, 2ND STAGE, ASSEMBLY OF POST SBE72-0145 | ab-ad/02 | 1 |
| 011B | 2A3002 | • HUB - TURBINE, 2ND STAGE, ASSEMBLY OF PRE SBE72-0327 | aa-ab/03 | 1 |
| 011C | 2A4802 | • HUB - TURBINE, 2ND STAGE, ASSEMBLY OF POST SBE72-0327 REF SBE72-0713 | ac-ad/04 | 1 |
| 011D | 2A4802 | • HUB - TURBINE, 2ND STAGE, ASSEMBLY OF POST SBE72-0562 REF SBE72-0713 | ad/05 | 1 |
| 011E | 2A3002 | • HUB - TURBINE, 2ND STAGE, ASSEMBLY OF POST SBE72-0562 | ad/05 | 1 |
| 020 | 2A2406 | • HEATSHIELD - HPT, 2ND STAGE | aa-ad/02 | 1 |
| 020A | 2A2406 | • HEATSHIELD - HPT, 2ND STAGE | aa-ad/03 | 1 |
| 030 | 2A2403 | • METERING PLUG - HPT, 2ND STAGE | aa-ad/02 | 4 |
| 030A | 2A2403 | • METERING PLUG - HPT, 2ND STAGE | aa-ad/03 | 4 |
| - ITEM NOT ILLUSTRATED, ***** EFFECTIVITY NOT AVAILABLE | ||||
Figure: ENGINE-STAGE 2 TURBINE HUB
ENGINE-STAGE 2 TURBINE HUB

