DMC:V2500-A5-72-50-33-01A-941A-DIssue No:002.00Issue Date:2014-08-01
Export Control
EAR Export Classification: Not subject to the EAR per 15 C.F.R. Chapter 1, Part 734.3(b)(3), except for the following Service Bulletins which are currently published as EAR Export Classification 9E991: SBE70-0992, SBE72-0483, SBE72-0580, SBE72-0588, SBE72-0640, SBE73-0209, SBE80-0024 and SBE80-0025.Copyright
© IAE International Aero Engines AG (2001, 2014 - 2021) The information contained in this document is the property of © IAE International Aero Engines AG and may not be copied or used for any purpose other than that for which it is supplied without the express written authority of © IAE International Aero Engines AG. (This does not preclude use by engine and aircraft operators for normal instructional, maintenance or overhaul purposes.).Applicability
V2500-A5
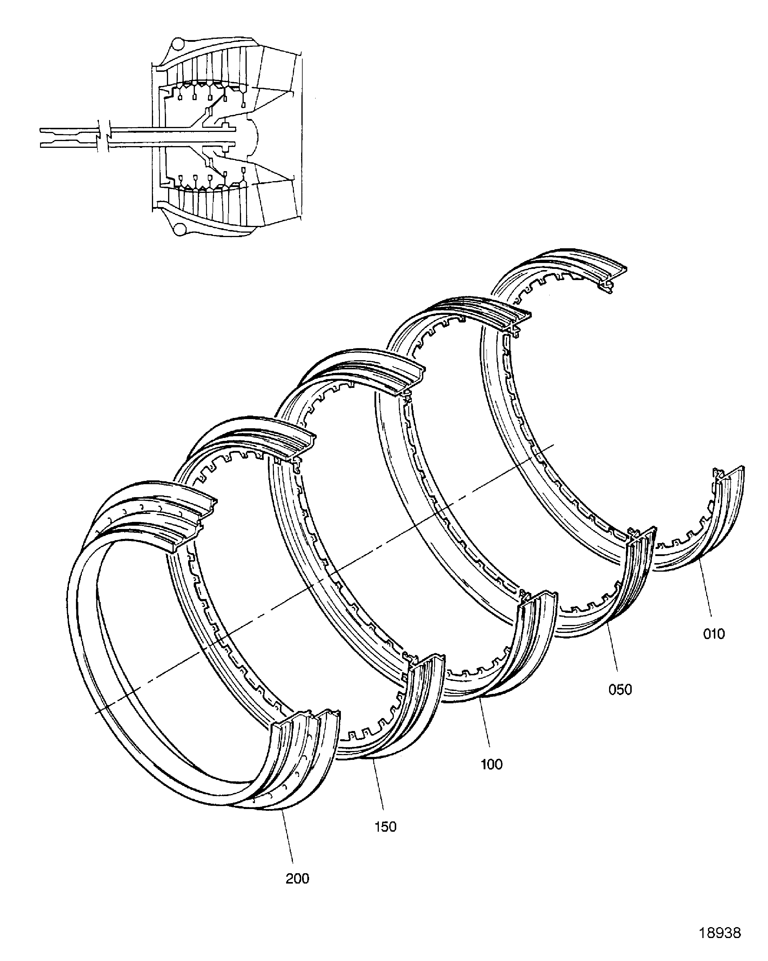
| Fig. Item | Part No. | Description | Effect/Model Applic. | UPA |
|---|---|---|---|---|
| 01 | ||||
| - | B72503301 | ENGINE-LP TURBINE ROTATING SEALS, PRE SBE70-0522 | aa | |
| - | SBE0522-01 | ENGINE-LP TURBINE ROTATING SEALS, PRE SBE70-0707 | ab | |
| - | SBE0707-01 | ENGINE-LP TURBINE ROTATING SEALS | ac | |
| 010 | 3A1741 | • SEAL, STAGE 7 AIR TURBINE PRE SBE70-0707 | aa-ab/01 | 1 |
| 010A | 3A2522 | • SEAL, STAGE 7 AIR TURBINE POST SBE70-0707 | ab-ac/01 | 1 |
| 050 | 3A1988 | • SEAL, STAGE 6 AIR TURBINE | aa-ac/01 | 1 |
| 100 | 3A1985 | • SEAL, STAGE 5 AIR TURBINE PRE SBE70-0522 | aa/02 | 1 |
| 100A | 3A2423 | • SEAL, AIR, TURBINE, STG 5 POST SBE70-0522 | ab-ac/01 | 1 |
| 150 | 3A1983 | • SEAL, STAGE 4 AIR TURBINE PRE SBE70-0522 | aa/02 | 1 |
| 150A | 3A2422 | • SEAL, AIR, TURBINE, STG 4 POST SBE70-0522 | ab-ac/01 | 1 |
| 200 | 3A0963 | • SEAL, TURBINE, STAGE 3, AIR | aa-ac/01 | 1 |
| - ITEM NOT ILLUSTRATED, ***** EFFECTIVITY NOT AVAILABLE | ||||
Figure: LPT Stage 3, 4, 5, 6, 7 Rotating Air Seals
LPT Stage 3, 4, 5, 6, 7 Rotating Air Seals

