DMC:V2500-A5-72-50-50-01A-941A-DIssue No:002.00Issue Date:2020-11-01
Export Control
EAR Export Classification: Not subject to the EAR per 15 C.F.R. Chapter 1, Part 734.3(b)(3), except for the following Service Bulletins which are currently published as EAR Export Classification 9E991: SBE70-0992, SBE72-0483, SBE72-0580, SBE72-0588, SBE72-0640, SBE73-0209, SBE80-0024 and SBE80-0025.Copyright
© IAE International Aero Engines AG (2001, 2014 - 2021) The information contained in this document is the property of © IAE International Aero Engines AG and may not be copied or used for any purpose other than that for which it is supplied without the express written authority of © IAE International Aero Engines AG. (This does not preclude use by engine and aircraft operators for normal instructional, maintenance or overhaul purposes.).Applicability
V2500-A5
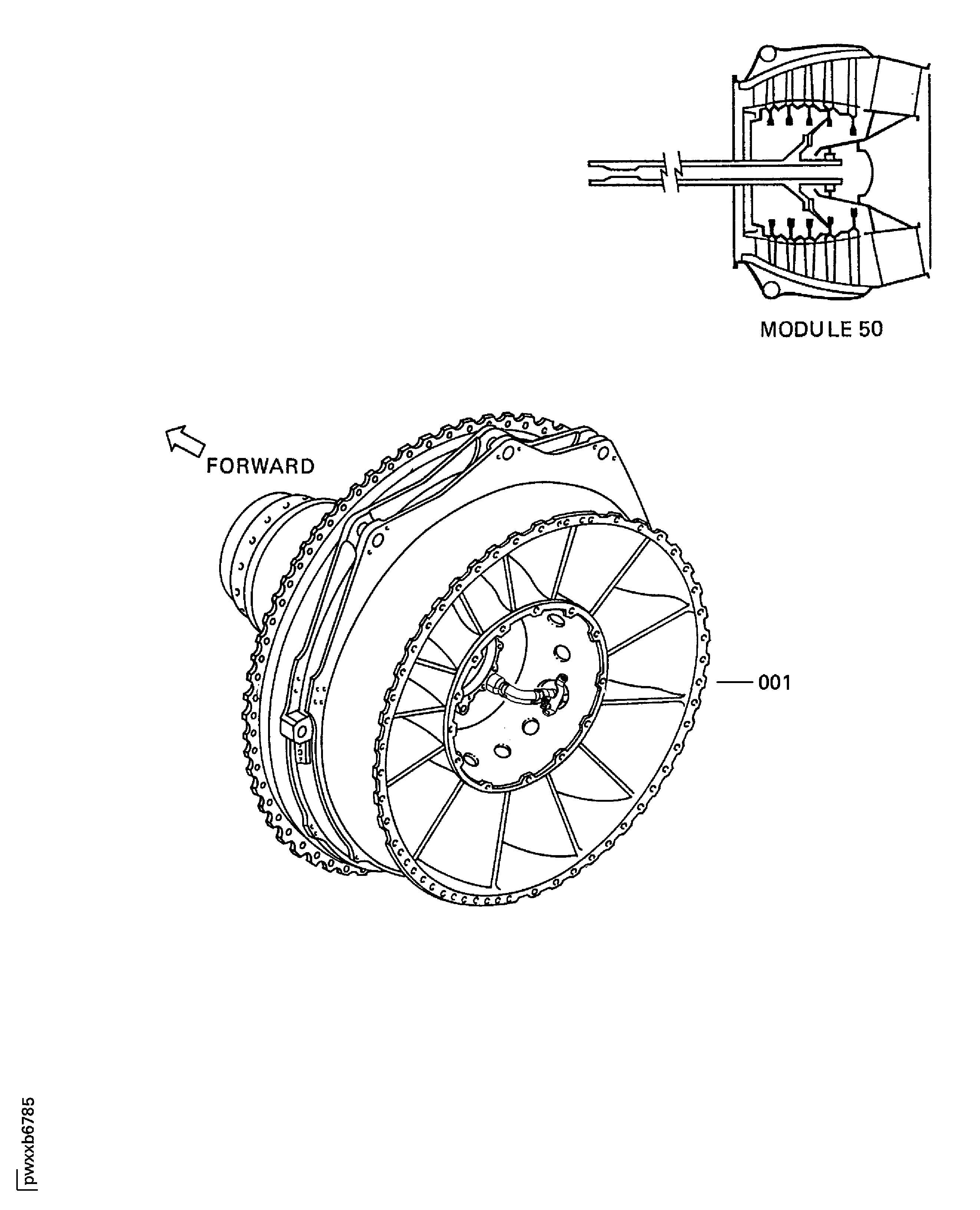
| Fig. Item | Part No. | Description | Effect/Model Applic. | UPA |
|---|---|---|---|---|
| 01 | ||||
| B72505001 | ENGINE - TURBINE EXHAUST CASE, ASSEMBLY, PRE SBE72-0063 | aa | ||
| SBE0063-01 | ENGINE - TURBINE EXHAUST CASE, ASSEMBLY, PRE SBE72-0590 | ab | ||
| SBE0590-01 | ENGINE - TURBINE EXHAUST CASE, ASSEMBLY, PRE SBE73-0202 | ac | ||
| SBE0202-01 | ENGINE - TURBINE EXHAUST CASE, ASSEMBLY | ad | ||
| 001 | 2A4700 | GROUP - TURBINE EXHAUSE CASE POST SBE72-0063 PRE SBE72-0590 PRE SBE73-0202 | ab | 1 |
| -001A | 2A8500 | GROUP - TURBINE EXHAUSE CASE PRE SBE72-0590 PRE SBE73-0202 | aa-ab | REF |
| 001B | 2A9500 | GROUP - TURBINE EXHAUSE CASE PRE SBE72-0590 PRE SBE73-0202 | aa-ab | 1 |
| 001C | 2B0600 | GROUP,TURBINE EXHAUST CASE 77445 | aa-ad | 1 |
| 001D | 2A8500-001 | GROUP,TURBINE EXHAUST CASE 77445 | aa-ad | 1 |
| 001E | 2A4700-004 | GROUP - TURBINE EXHAUSE CASE | aa-ad | 1 |
| 001F | 2A4260 | GROUP - TURBINE EXHAUSE CASE POST SBE72-0590 PRE SBE73-0202 | ac | 1 |
| 001G | 2A4261 | GROUP - TURBINE EXHAUSE CASE ALT 2A4260 POST SBE72-0590 PRE SBE73-0202 | ac | 1 |
| -001H | 2A8500-005 | GROUP,TURBINE EXHAUST CASE 77445 POST SBE72-0590 PRE SBE73-0202 | ac | REF |
| -001J | 2A1400 | GROUP,TURBINE EXHAUST CASE 77445 POST SBE73-0202 | ad | REF |
| -001K | 2A9500-004 | GROUP, TURBINE EXHAUST CASE 77445 POST SBE73-0202 | ad | REF |
| -001L | 2A8500-008 | GROUP, TURBINE EXHAUST CASE 77445 POST SBE73-0202 | ad | REF |
| -001M | 2A4700-005 | GROUP, TURBINE EXHAUST CASE 77445 POST SBE73-0202 | ad | REF |
| -001N | 2A4261-001 | GROUP, TURBINE EXHAUST CASE 77445 POST SBE73-0202 | ad | REF |
| -001P | 2A8500-007 | GROUP,TURBINE EXHAUST CASE 77445 POST SBE73-0202 | ad | REF |
| - ITEM NOT ILLUSTRATED, ***** EFFECTIVITY NOT AVAILABLE | ||||
Figure: ENGINE-TURBINE EXHAUST CASE ASSEMBLY
TURBINE EXHAUST CASE ASSEMBLY

