DMC:V2500-A5-72-58-01-20A-941A-DIssue No:001.00Issue Date:2014-05-01
Export Control
EAR Export Classification: Not subject to the EAR per 15 C.F.R. Chapter 1, Part 734.3(b)(3), except for the following Service Bulletins which are currently published as EAR Export Classification 9E991: SBE70-0992, SBE72-0483, SBE72-0580, SBE72-0588, SBE72-0640, SBE73-0209, SBE80-0024 and SBE80-0025.Copyright
© IAE International Aero Engines AG (2001, 2014 - 2021) The information contained in this document is the property of © IAE International Aero Engines AG and may not be copied or used for any purpose other than that for which it is supplied without the express written authority of © IAE International Aero Engines AG. (This does not preclude use by engine and aircraft operators for normal instructional, maintenance or overhaul purposes.).Applicability
V2500-A5
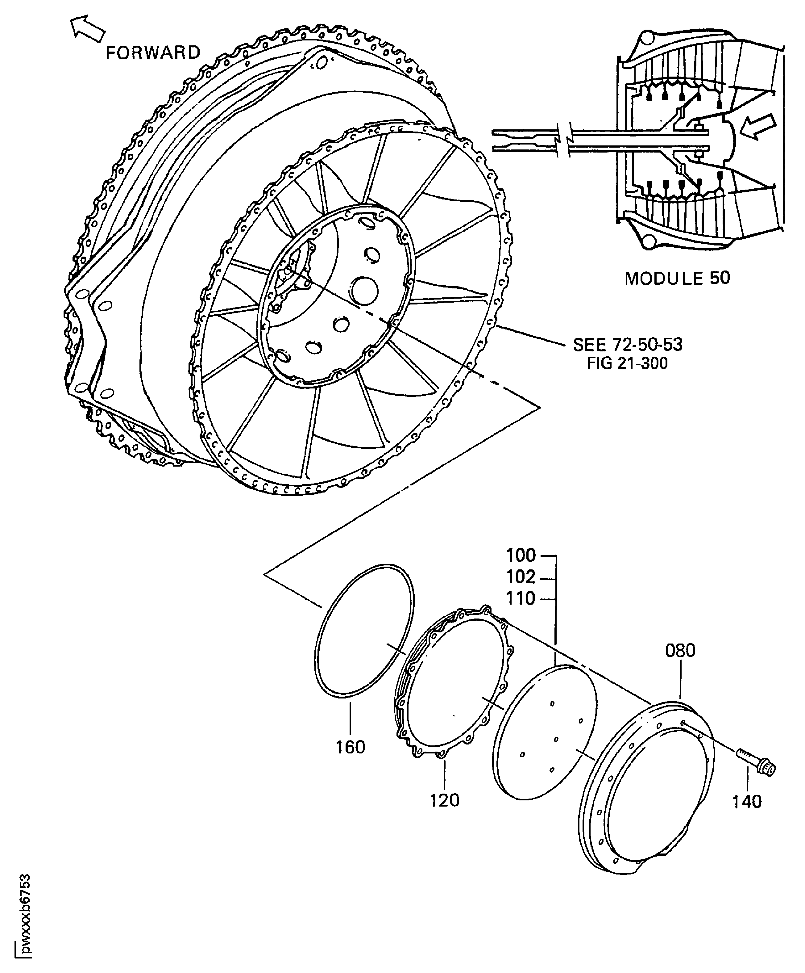
| Fig. Item | Part No. | Description | Effect/Model Applic. | UPA |
|---|---|---|---|---|
| 20 | ||||
| B72580120 | ENGINE-NO.5 BEARING COMPARTMENT COVER | aa | ||
| 080 | 2A1355 | • SHIELD - #5BRG | aa | 1 |
| 100 | 2A2098 | • SHIELD - OPTION | aa | 1 |
| -102 | 2A1353-01 | • SHIELD - HEAT #5BRG,ASSY OF | aa | REF |
| -110 | 2A2099-01 | • SHIELD - HEAT #5BRG,ASSY 0F | aa | REF |
| 120 | 2A1219 | • COVER - #5BRG | aa | 1 |
| 140 | MS9886-07 | • BOLT - MACH DBL HEX EXT 96906 | aa | 13 |
| 160 | 2A2899 | • SEAL - PLAIN 6.766X.096X.115 | aa | 1 |
| - ITEM NOT ILLUSTRATED, ***** EFFECTIVITY NOT AVAILABLE | ||||
Figure: ENGINE-NO.5 BEARING COMPARTMENT COVER
NO.5 BEARING COMPARTMENT COVER

