DMC:V2500-A5-73-11-48-01A-941A-DIssue No:002.00Issue Date:2019-11-01
Export Control
EAR Export Classification: Not subject to the EAR per 15 C.F.R. Chapter 1, Part 734.3(b)(3), except for the following Service Bulletins which are currently published as EAR Export Classification 9E991: SBE70-0992, SBE72-0483, SBE72-0580, SBE72-0588, SBE72-0640, SBE73-0209, SBE80-0024 and SBE80-0025.Copyright
© IAE International Aero Engines AG (2001, 2014 - 2021) The information contained in this document is the property of © IAE International Aero Engines AG and may not be copied or used for any purpose other than that for which it is supplied without the express written authority of © IAE International Aero Engines AG. (This does not preclude use by engine and aircraft operators for normal instructional, maintenance or overhaul purposes.).Applicability
V2500-A5
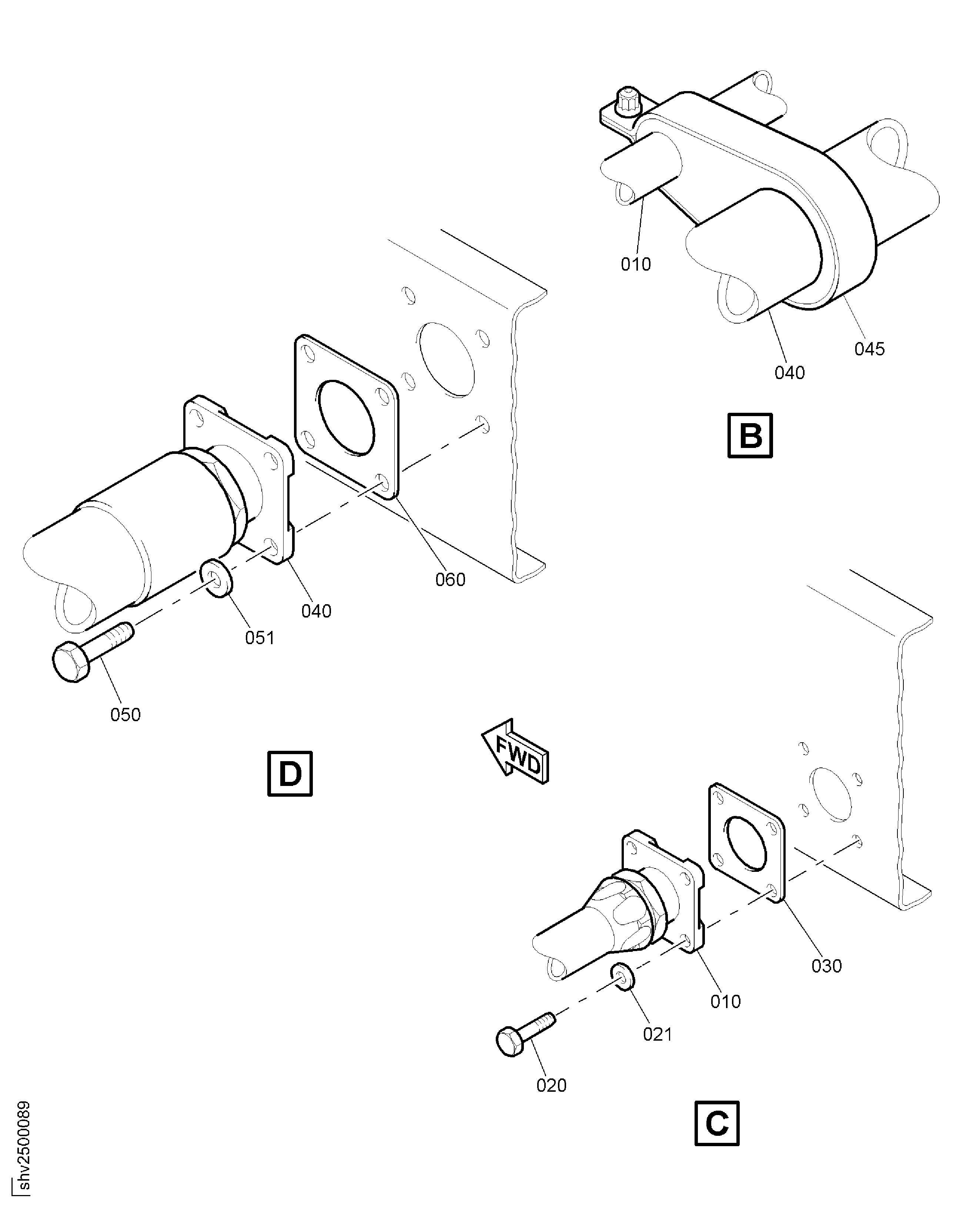
| Fig. Item | Part No. | Description | Effect/Model Applic. | UPA |
|---|---|---|---|---|
| 01 | ||||
| B73114801 | POWER PLANT - FUEL SYSTEM TUBES (FLEXIBLE) | aa | ||
| 010 | AE707631-1 | • HOSE - FLEXIBLE, ASSEMBLY OF 00624 | aa | 1 |
| 020 | NAS6303U9H | • BOLT 80205 | aa | 4 |
| 021 | SP148D | • WASHER K7766 | aa | 4 |
| 030 | 718115-08 | • GASKET 02697 | aa | 1 |
| 040 | AE707632-1 | • HOSE - FLEXIBLE, ASSEMBLY OF 00624 | aa | 1 |
| 045 | TA30700009-01 | • CLAMP - ASSEMBLY OF 84971 | aa | 1 |
| 050 | NAS6304U11H | • BOLT 80205 | aa | 4 |
| 051 | SP148E | • WASHER K7766 | aa | 4 |
| 060 | 718115-24 | • GASKET 02697 | aa | 1 |
| - ITEM NOT ILLUSTRATED, ***** EFFECTIVITY NOT AVAILABLE | ||||
Figure: FUEL SYSTEM TUBES (FLEXIBLE)-POWER PLANT
POWERPLANT FUEL TUBES

POWERPLANT FUEL TUBES

