DMC:V2500-A5-73-22-49-01A-941A-DIssue No:001.00Issue Date:2014-05-01
Export Control
EAR Export Classification: Not subject to the EAR per 15 C.F.R. Chapter 1, Part 734.3(b)(3), except for the following Service Bulletins which are currently published as EAR Export Classification 9E991: SBE70-0992, SBE72-0483, SBE72-0580, SBE72-0588, SBE72-0640, SBE73-0209, SBE80-0024 and SBE80-0025.Copyright
© IAE International Aero Engines AG (2001, 2014 - 2021) The information contained in this document is the property of © IAE International Aero Engines AG and may not be copied or used for any purpose other than that for which it is supplied without the express written authority of © IAE International Aero Engines AG. (This does not preclude use by engine and aircraft operators for normal instructional, maintenance or overhaul purposes.).Applicability
V2500-A5
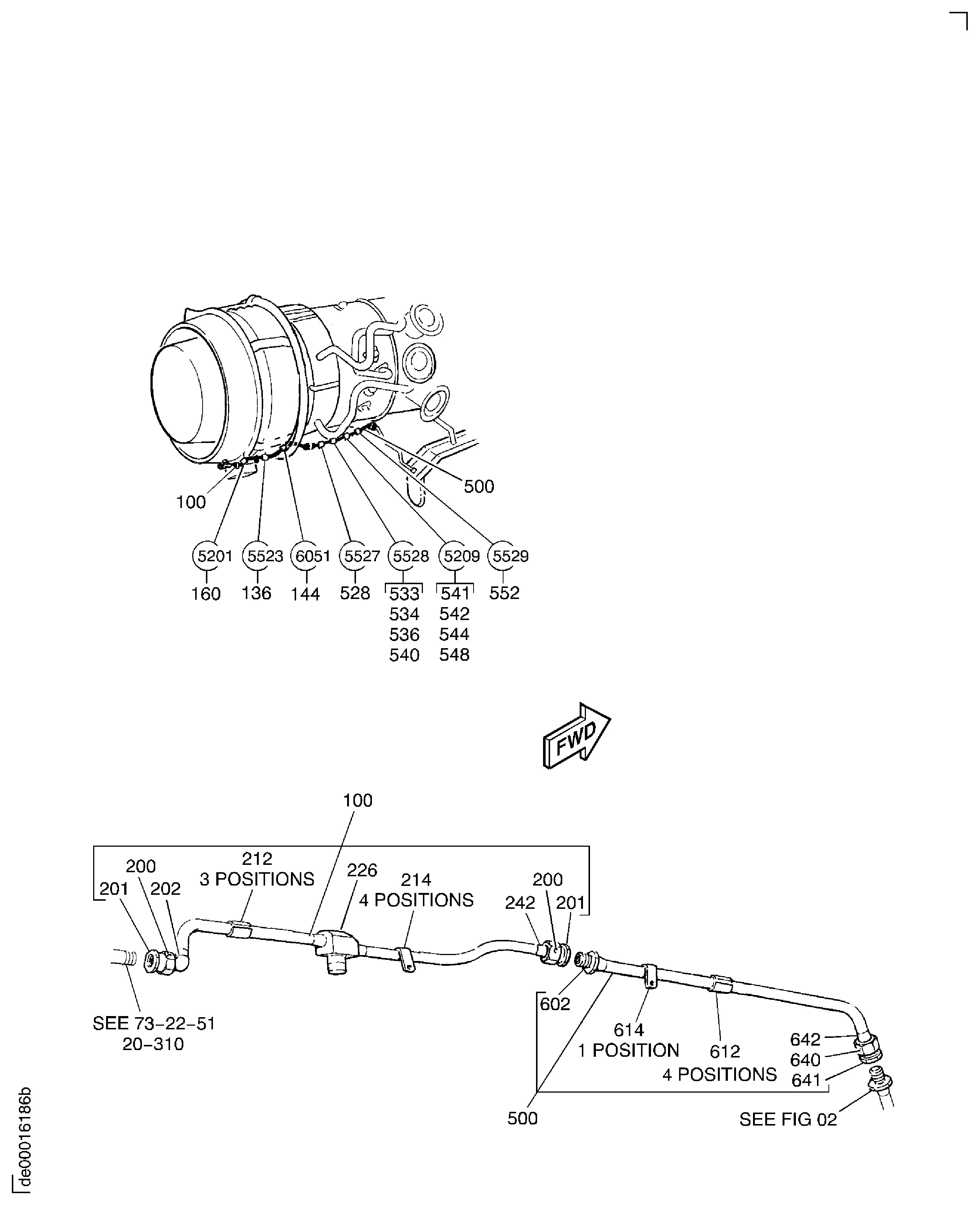
| Fig. Item | Part No. | Description | Effect/Model Applic. | UPA |
|---|---|---|---|---|
| 01 | ||||
| - | B73224901 | ENGINE FUEL AND CONTROL-FUEL SYSTEM AIR TUBES, PRE SBE70-0571 | aa | |
| - | SBE0571-01 | ENGINE FUEL AND CONTROL-FUEL SYSTEM AIR TUBES | ab | |
| 100 | 5A8793 | • TUBE | aa-ab/01 | 1 |
| 136 | 5W1109 | • CLIP | aa-ab/01 | 1 |
| 144 | 5W1109 | • CLIP | aa-ab/01 | 1 |
| 160 | 5W1109 | • CLIP | aa-ab/01 | 1 |
| 200 | AS15777 | • • WIRE - THRUST U1653 | aa-ab/01 | 2 |
| 201 | AS15701 | • • NUT - TUBE COUPLING U1653 | aa-ab/01 | 2 |
| 202 | 5W8143 | • • FERRULE, ELBOW | aa-ab/01 | 1 |
| 212 | 5W1097 | • • SLEEVE, HALF | aa-ab/01 | 6 |
| 214 | 5W1059 | • • LUG - BRAZED | aa-ab/01 | 4 |
| 226 | 5A9373 | • • TRAP, MOISTURE, ASSEMBLY OF ALT UP11197 POST SBE70-0571 | ab/02 | 1 |
| 226A | UP11197 | • • TRAP, MOISTURE, ASSEMBLY OF ALT 5A9373 POST SBE70-0571 | ab/02 | 1 |
| 226B | 5A9373 | • • TRAP, MOISTURE, ASSEMBLY OF ALT UP11197 | aa-ab/03 | 1 |
| 226C | UP11197 | • • TRAP, MOISTURE, ASSEMBLY OF ALT 5A9373 | aa-ab/03 | 1 |
| 226D | UP11197 | • • TRAP, MOISTURE, ASSEMBLY OF ALT 5A8373 | aa-ab/01 | 1 |
| 242 | AS15768 | • • FERRULE - ASSY U1653 | aa-ab/01 | 1 |
| 500 | 5A9060 | • TUBE, AIR TO P4.9 EEC, ASSEMBLY OF | aa-ab/01 | 1 |
| 528 | 5W1109 | • CLIP | aa-ab/01 | 1 |
| 533 | 4W0103 | • BOLT - .190 DIA X .500 | aa-ab/01 | 1 |
| 534 | 5W1086 | • WASHER | aa-ab/01 | 1 |
| 536 | 5W1109 | • CLIP | aa-ab/01 | 1 |
| 540 | 4W0001 | • NUT - .190 DIA | aa-ab/01 | 1 |
| 541 | 4W0104 | • BOLT - .190 DIA X .562 | aa-ab/01 | 1 |
| 542 | 5W1086 | • WASHER | aa-ab/01 | 1 |
| 544 | 5W1109 | • CLIP | aa-ab/01 | 1 |
| 548 | 4W0001 | • NUT - .190 DIA | aa-ab/01 | 1 |
| 552 | 5W1109 | • CLIP | aa-ab/01 | 1 |
| 602 | AS15802 | • • ADAPTOR U1653 | aa-ab/01 | 1 |
| 612 | 5W1097 | • • SLEEVE, HALF | aa-ab/01 | 8 |
| 614 | 5W1059 | • • LUG - BRAZED | aa-ab/01 | 1 |
| 640 | AS15777 | • • WIRE - THRUST U1653 | aa-ab/01 | 1 |
| 641 | AS15701 | • • NUT - TUBE COUPLING U1653 | aa-ab/01 | 1 |
| 642 | AS15768 | • • FERRULE - ASSY U1653 | aa-ab/01 | 1 |
| - ITEM NOT ILLUSTRATED, ***** EFFECTIVITY NOT AVAILABLE | ||||
Figure: Fuel System Air Tubes
Fuel System Air Tubes

