DMC:V2500-A5-75-23-52-01A-941A-DIssue No:001.00Issue Date:2014-05-01
Export Control
EAR Export Classification: Not subject to the EAR per 15 C.F.R. Chapter 1, Part 734.3(b)(3), except for the following Service Bulletins which are currently published as EAR Export Classification 9E991: SBE70-0992, SBE72-0483, SBE72-0580, SBE72-0588, SBE72-0640, SBE73-0209, SBE80-0024 and SBE80-0025.Copyright
© IAE International Aero Engines AG (2001, 2014 - 2021) The information contained in this document is the property of © IAE International Aero Engines AG and may not be copied or used for any purpose other than that for which it is supplied without the express written authority of © IAE International Aero Engines AG. (This does not preclude use by engine and aircraft operators for normal instructional, maintenance or overhaul purposes.).Applicability
V2500-A5
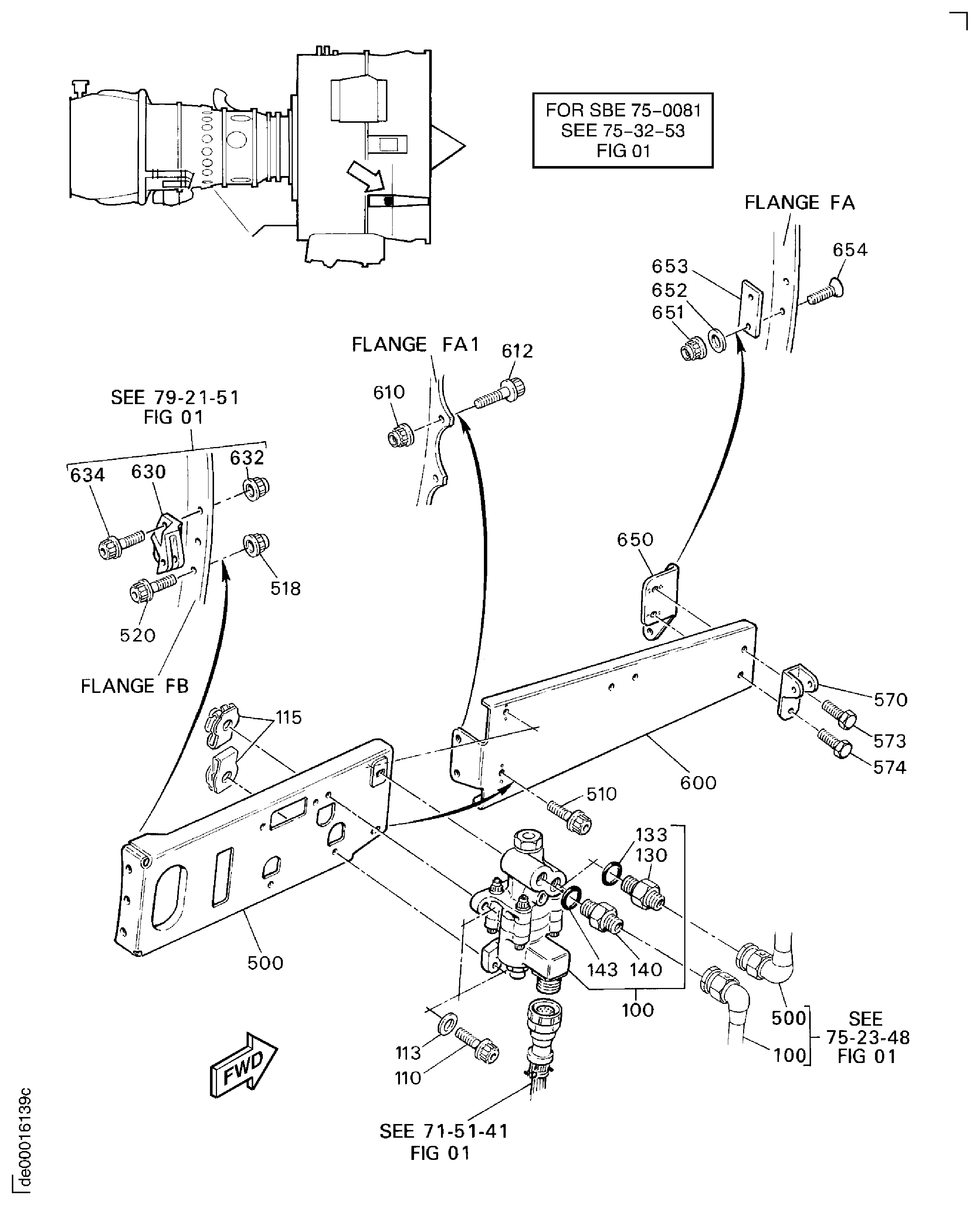
| Fig. Item | Part No. | Description | Effect/Model Applic. | UPA |
|---|---|---|---|---|
| 01 | ||||
| B75235201 | AIR-STAGE 10 AIR SOLENOID VALVE | aa | ||
| 100 | AC69674 | • VALVE - SOLENOID STAGE 10 88041 (REF NO 5L0035) | ***** | 1 |
| 110 | 4W0108 | • BOLT - .190 DIA X .812 PRE SBE75-0081 | ***** | 3 |
| 113 | 4W2621 | • WASHER PRE SBE75-0081 | ***** | 3 |
| 115 | 4W0043 | • NUT - .190 DIA PRE SBE75-0081 | ***** | 2 |
| 130 | AC045753 | • • UNION - DOUBLE ENDED 88041 PRE SBE75-0081 | ***** | 1 |
| 133 | AC045636 | • RING - SEAL TOROIDAL 88041 PRE SBE75-0081 | ***** | 1 |
| 140 | AC045752 | • • UNION - DOUBLE-ENDED 88041 PRE SBE75-0081 | ***** | 1 |
| 143 | AC045635 | • • UNION - SEALING TOROIDAL 88041 PRE SBE75-0081 | ***** | 1 |
| 500 | 5A0336 | • BRACKET - ASSY PRE SBE75-0081 | ***** | 1 |
| 510 | 4W0104 | • BOLT - .190 DIA X .562 PRE SBE75-0081 | ***** | 1 |
| 518 | 4W0002 | • NUT - .250 DIA PRE SBE75-0081 | ***** | 1 |
| 520 | 4W0164 | • BOLT - .250 DIA X .625 PRE SBE75-0081 | ***** | 1 |
| 570 | 745-5135-501 | • BRACKET - LINK 51563 PRE SBE75-0081 | ***** | 1 |
| 573 | NAS6303U5 | • BOLT 80205 PRE SBE75-0081 | ***** | 1 |
| 574 | NAS6303U4 | • BOLT 80205 PRE SBE75-0081 | ***** | 1 |
| -598 | 745-5143-501 | • PACKING - PIECE 51563 PRE SBE75-0081 | ***** | 1 |
| 600 | 745-5133-505 | • BRACKET - RAFT 51563 PRE SBE75-0081 | ***** | 1 |
| 610 | 4W0002 | • NUT - .250 DIA PRE SBE75-0081 | ***** | 2 |
| 612 | 4W0166 | • BOLT - .250 DIA X .750 PRE SBE75-0081 | ***** | 2 |
| 650 | 740-5134-503 | • BRACKET 51563 PRE SBE75-0081 | ***** | 1 |
| 651 | NAS1291C4M | • NUT 80205 PRE SBE75-0081 | ***** | 2 |
| 652 | SP155E | • WASHER K7766 PRE SBE75-0081 | ***** | 2 |
| 653 | 740-5139-501 | • PACKING - PIECE 51563 PRE SBE75-0081 | ***** | 1 |
| 654 | NAS7204U6 | • BOLT 80205 PRE SBE75-0081 | ***** | 2 |
| - ITEM NOT ILLUSTRATED, ***** EFFECTIVITY NOT AVAILABLE | ||||
Figure: AIR-STAGE 10 AIR SOLENOID VALVE
AIR-STAGE 10 AIR SOLENOID VALVE

