DMC:V2500-A5-77-21-43-01A-941A-DIssue No:005.00Issue Date:2017-05-01
Export Control
EAR Export Classification: Not subject to the EAR per 15 C.F.R. Chapter 1, Part 734.3(b)(3), except for the following Service Bulletins which are currently published as EAR Export Classification 9E991: SBE70-0992, SBE72-0483, SBE72-0580, SBE72-0588, SBE72-0640, SBE73-0209, SBE80-0024 and SBE80-0025.Copyright
© IAE International Aero Engines AG (2001, 2014 - 2021) The information contained in this document is the property of © IAE International Aero Engines AG and may not be copied or used for any purpose other than that for which it is supplied without the express written authority of © IAE International Aero Engines AG. (This does not preclude use by engine and aircraft operators for normal instructional, maintenance or overhaul purposes.).Applicability
V2500-A5
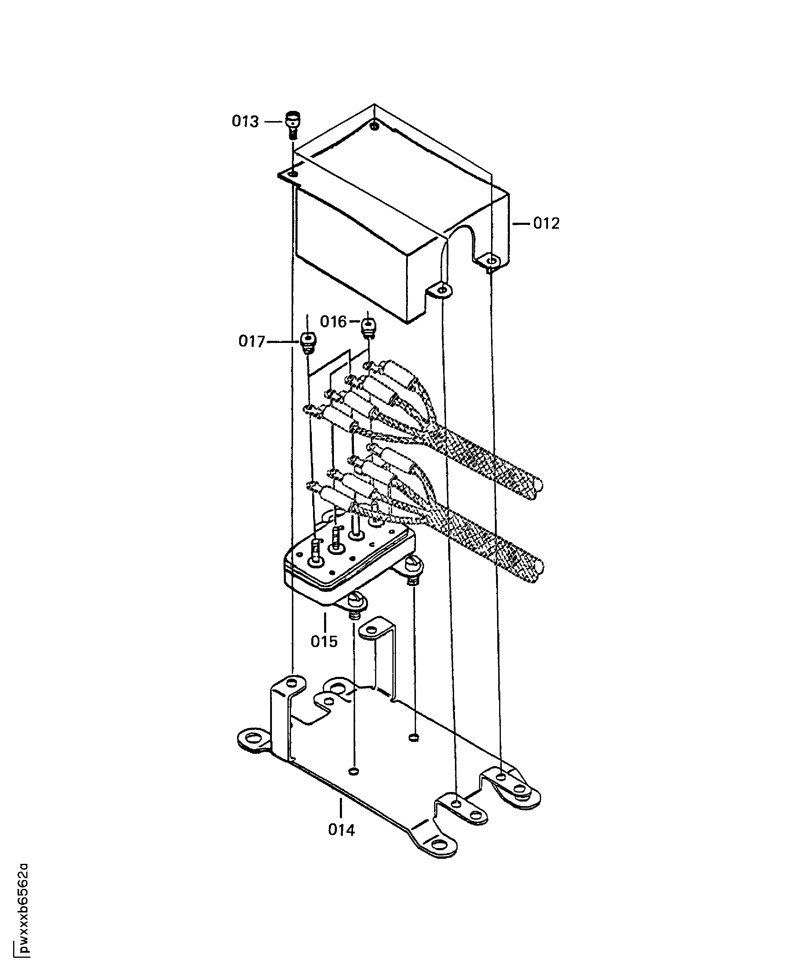
| Fig. Item | Part No. | Description | Effect/Model Applic. | UPA | |
|---|---|---|---|---|---|
| 01 | |||||
| - | B77214301 | ENGINE INDICATING-EGT HARNESS AND JUNCTION BOX, PRE SBE77-0009 | aa | ||
| - | SBE0009-01 | ENGINE INDICATING-EGT HARNESS AND JUNCTION BOX, PRE SBE73-0202 | ab | ||
| - | SBE0202-01 | ENGINE INDICATING-EGT HARNESS AND JUNCTION BOX, PRE SBE77-0012 | ac | ||
| - | SBE0012-01 | ENGINE INDICATING-EGT HARNESS AND JUNCTION BOX, PRE SBE77-0015 | ad | ||
| - | SBE0015-01 | ENGINE INDICATING-EGT HARNESS AND JUNCTION BOX | ae | ||
| 010 | 2A1609 | • BOX, CABLE TC | aa-ad/02 | 1 | |
| 010A | HAD19824 | • BOX - CABLE,TC, (IAE NO. 2A1609) 00060 (IAE NO. 2A1609) PRE SBE77-0009 | aa/03 | 1 | |
| 010B | 25975-000 | • BOX - CABLE,TC, (IAE NO. 2A3580) 00060 (IAE NO. 2A3580 POST SBE77-0009 PRE SBE77-0012 | ab-ac/01 | 1 | |
| 010C | 2A4337 | • BOX, CABLE TC 77445 Vendor P/N (30040–000) POST SBE77-0012 PRE SBE77-0015 | ad/01 | 1 | |
| 010D | 2A4524 | • WIRE HARNESS ASSY-THERMO 00060 Vendor P/N (30558-000) POST SBE77-0015 | ae/01 | 1 | |
| -012 | MDC18666 | • • COVER 00060 | aa-ad/01 | REF | |
| 013 | 2A2439 | • • • SCREW - VENDOR P/N HDA14449 (VENDOR P/N HDA14449) | aa-ad/01 | 4 | |
| -014 | HDC18665 | • • PLATE - BASE 00060 | aa-ad/01 | REF | |
| -015 | HDB18667 | • • • PLATE - MOUNTING 00060 | aa-ad/01 | REF | |
| 016 | 2A2442 | • • • • NUT - SELF-LOCKING PRE SBE77-0009 | aa/01 | 2 | |
| 016A | AS20624 | • • • • NUT - SELF LOCKING,BIHEX, .190 DIA U1653 ALT 2A3564 POST SBE77-0009 | ab-ad/01 | 2 | |
| 016B | 2A3564 | • • • • NUT - SELF-LOCKING (VENDOR NO. 25483-001) ALT AS20624 (VENDOR NO. 25483-001) POST SBE77-0009 | ab-ad/01 | 2 | |
| 017 | 2A2443 | • • • • NUT - SELF-LOCKING PRE SBE77-0009 | aa/01 | 2 | |
| 017A | AS27832 | • • • • NUT - ASSEMBLED WASHER U1653 ALT 2A3565 POST SBE77-0009 | ab-ad/01 | 2 | |
| 017B | 2A3565 | • • • • NUT - SELF LOCKING (VENDOR NO. 25483-000) ALT AS27832 (VENDOR NO. 25483-000) POST SBE77-0009 | ab-ad/01 | 2 | |
| -018 | MS9226-03 | • • • • WIRE - SAFETY 96906 | aa-ad/01 | 1 | |
| 020 | X | 4W0002 | • NUT - .250 DIA (SEE APPENDIX 5) PRE SBE77-0015 | aa-ad/01 | 2 |
| -025 | HAB18619-1 | • STUD 00060 POST SBE77-0009 | ab-ad/01 | 2 | |
| -030 | HAB18619-1 | • STUD 00060 POST SBE77-0009 | ab-ad/01 | 2 | |
| 040 | 4W0164 | • BOLT - .250 DIA X .625 (SEE APPENDIX 5) PRE SBE77-0015 | aa-ad/01 | 2 | |
| 040A | 4W0107 | • BOLT - 0.190 DIA X 0.750 (SEE APPENDIX 5) POST SBE77-0015 | ae/01 | 2 | |
| 042 | X | 4W0002 | • NUT - .250 DIA (SEE APPENDIX 5) PRE SBE77-0015 | aa-ad/01 | 1 |
| 044 | X | 4W0164 | • BOLT - .250 DIA X .625 (SEE APPENDIX 5) PRE SBE77-0015 | aa-ad/01 | 1 |
| 046 | X | 4W0002 | • NUT - .250 DIA (SEE APPENDIX 5) PRE SBE77-0015 | aa-ad/01 | 1 |
| 048 | 4W0164 | • BOLT - .250 DIA X .625 (SEE APPENDIX 5) | aa-ad/01 | 1 | |
| 055 | 4W0001 | • NUT - .190 DIA (SEE APPENDIX 5) | aa-ad/01 | 1 | |
| 060 | 4W0001 | • NUT - .190 DIA (SEE APPENDIX 5) | aa-ad/01 | 1 | |
| 065 | 4W0001 | • NUT - .190 DIA (SEE APPENDIX 5) | aa-ad/01 | 1 | |
| 070 | 4W0001 | • NUT - .190 DIA (SEE APPENDIX 5) | aa-ad/01 | 1 | |
| 075 | 4W0001 | • NUT - .190 DIA (SEE APPENDIX 5) | aa-ad/01 | 1 | |
| 080 | 4W0001 | • NUT - .190 DIA (SEE APPENDIX 5) | aa-ad/01 | 1 | |
| 085 | 4W0001 | • NUT - .190 DIA (SEE APPENDIX 5) | aa-ad/01 | 1 | |
| 090 | 4W0001 | • NUT - .190 DIA (SEE APPENDIX 5) | aa-ad/01 | 1 | |
| 095 | 4W0001 | • NUT - .190 DIA (SEE APPENDIX 5) | aa-ad/01 | 1 | |
| 150 | 4W1183 | • BOLT - .190 DIA X .500 (SEE APPENDIX 5) | aa-ad/01 | 1 | |
| 155 | 4W1183 | • BOLT - .190 DIA X .500 (SEE APPENDIX 5) | aa-ad/01 | 1 | |
| 160 | 4W1183 | • BOLT - .190 DIA X .500 (SEE APPENDIX 5) | aa-ad/01 | 1 | |
| 165 | 4W1183 | • BOLT - .190 DIA X .500 (SEE APPENDIX 5) | aa-ad/01 | 1 | |
| 170 | 4W2324 | • SCREW - .190 DIA X .500 ALT 593111 (SEE APPENDIX 5) | aa-ad/01 | 1 | |
| -170A | 593111 | • SCREW - MACHINE 77445 ALT 4W2324 | aa-ad/01 | REF | |
| 175 | 4W1183 | • BOLT - .190 DIA X .500 (SEE APPENDIX 5) | aa-ad/01 | 1 | |
| 180 | 4W1183 | • BOLT - .190 DIA X .500 (SEE APPENDIX 5) | aa-ad/01 | 1 | |
| 185 | 4W1183 | • BOLT - .190 DIA X .500 (SEE APPENDIX 5) | aa-ad/01 | 1 | |
| 190 | 4W1183 | • BOLT - .190 DIA X .500 (SEE APPENDIX 5) | aa-ad/01 | 1 | |
| 195 | 4W0001 | • NUT - .190 DIA (SEE APPENDIX 5) | aa-ad/01 | 1 | |
| 200 | 4W0001 | • NUT - .190 DIA (SEE APPENDIX 5) | aa-ad/01 | 1 | |
| 205 | 4W0001 | • NUT - .190 DIA (SEE APPENDIX 5) | aa-ad/01 | 1 | |
| 210 | 4W0001 | • NUT - .190 DIA (SEE APPENDIX 5) | aa-ad/01 | 1 | |
| 215 | 4W0001 | • NUT - .190 DIA (SEE APPENDIX 5) | aa-ad/01 | 1 | |
| 220 | 4W0001 | • NUT - .190 DIA (SEE APPENDIX 5) | aa-ad/01 | 1 | |
| 225 | 4W0103 | • BOLT - .190 DIA X .500 (SEE APPENDIX 5) | aa-ad/01 | 1 | |
| 230 | 4W0103 | • BOLT - .190 DIA X .500 (SEE APPENDIX 5) | aa-ad/01 | 1 | |
| 240 | 318079 | • NUT - PLAIN,HEX 77445 | aa-ad/01 | 8 | |
| 245 | 191776 | • WASHER - LOCK 77445 | aa-ad/01 | 8 | |
| 250 | 318078 | • NUT - PLAIN,HEX 77445 | aa-ad/01 | 8 | |
| 255 | 191775 | • WASHER - LOCK 77445 | aa-ad/01 | 8 | |
| 270 | 4W0001 | • NUT - .190 DIA (SEE APPENDIX 5) | aa-ad/01 | 1 | |
| 272 | 4W0103 | • BOLT - .190 DIA X .500 (SEE APPENDIX 5) | aa-ad/01 | 1 | |
| 276 | ST1428-02 | • CLAMP - LOOP CUSHION K1012 PRE SBE73-0202 | aa-ab/01 | 1 | |
| 280 | 4W0001 | • NUT - .190 DIA (SEE APPENDIX 5) | aa-ad/01 | 1 | |
| 282 | 4W0103 | • BOLT - .190 DIA X .500 (SEE APPENDIX 5) | aa-ad/01 | 1 | |
| 286 | ST1428-02 | • CLAMP - LOOP CUSHION K1012 PRE SBE73-0202 | aa-ab/01 | 1 | |
| 288 | 4W0001 | • NUT - .190 DIA (SEE APPENDIX 5) | aa-ad/01 | 1 | |
| 290 | 4W2324 | • SCREW - .190 DIA X .500 (SEE APPENDIX 5) | aa-ad/01 | 1 | |
| 360 | 2A1854-01 | • BRACKET - LOOP CLAMP A/O PRE SBE73-0202 | aa-ab/01 | 4 | |
| 360A | 2A4042-01 | • BRACKET - LOOP CLAMP A/O POST SBE73-0202 | ac-ad/01 | 4 | |
| 385 | 4W2386 | • SCREW - .250 DIA X .625 | aa-ad/01 | 8 | |
| 390 | 4W0002 | • NUT - .250 DIA | aa-ad/01 | 8 | |
| 420 | 2A1763-01 | • BRACKET PRE SBE73-0202 | aa-ab/01 | 2 | |
| 420A | 2A1763-01 | • BRACKET POST SBE73-0202 | ac-ad/01 | 1 | |
| 430 | 4W2386 | • SCREW - .250 DIA X .625 | aa-ad/01 | 4 | |
| 440 | 4W0002 | • NUT - .250 DIA | aa-ad/01 | 4 | |
| 455 | 379661 | • • WASHER - .216 X .400 X .050 77445 | aa-ad/01 | 1 | |
| 470 | 2A4041-01 | • BRACKET - ASSY OF POST SBE73-0202 | ac-ad/01 | 1 | |
| 510 | 2A4339 | • • HARNESS, WIRING, THERMOCOUPLE 77445 Vendor P/N (30041–000) POST SBE77-0012 PRE SBE77-0015 | ad/01 | 1 | |
| 520 | 2A4340 | • • HARNESS, WIRING, THERMOCOUPLE 77445 POST SBE77-0012 PRE SBE77-0015 | ad/01 | 1 | |
| 530 | 2A4338 | • • BOX, JUNCTION, THERMOCOUPLE 77445 Vendor P/N (30043–000) POST SBE77-0012 PRE SBE77-0015 | ad/01 | 1 | |
| - ITEM NOT ILLUSTRATED, ***** EFFECTIVITY NOT AVAILABLE | |||||
Figure: EGT Harness And Junction Box
EGT Harness And Junction Box

EGT Harness And Junction Box

EGT Harness And Junction Box

EGT Harness And Junction Box

