DMC:V2500-A5-79-21-49-01A-941A-DIssue No:002.00Issue Date:2015-08-01
Export Control
EAR Export Classification: Not subject to the EAR per 15 C.F.R. Chapter 1, Part 734.3(b)(3), except for the following Service Bulletins which are currently published as EAR Export Classification 9E991: SBE70-0992, SBE72-0483, SBE72-0580, SBE72-0588, SBE72-0640, SBE73-0209, SBE80-0024 and SBE80-0025.Copyright
© IAE International Aero Engines AG (2001, 2014 - 2021) The information contained in this document is the property of © IAE International Aero Engines AG and may not be copied or used for any purpose other than that for which it is supplied without the express written authority of © IAE International Aero Engines AG. (This does not preclude use by engine and aircraft operators for normal instructional, maintenance or overhaul purposes.).Applicability
V2500-A5
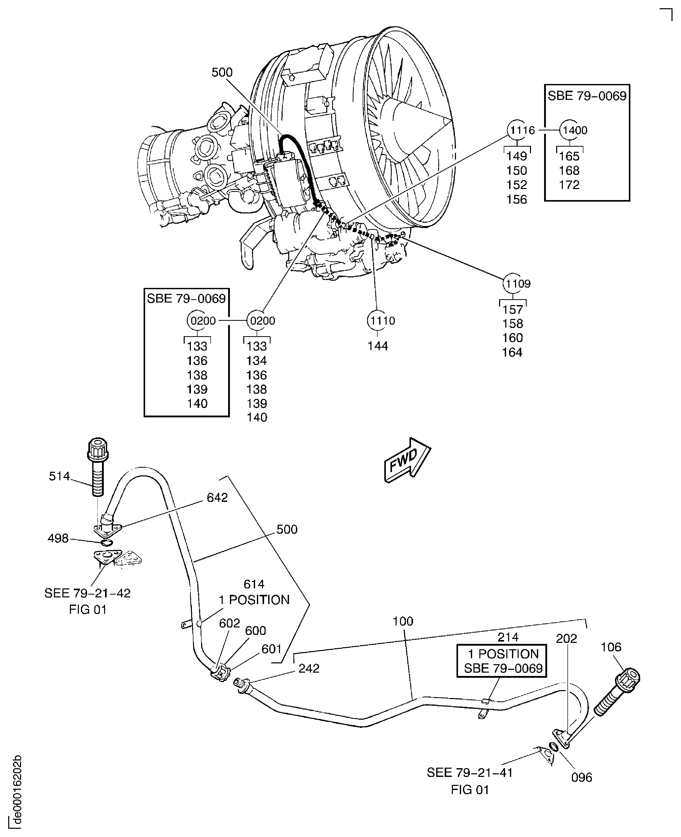
| Fig. Item | Part No. | Description | Effect/Model Applic. | UPA |
|---|---|---|---|---|
| 01 | ||||
| B79214901 | OIL-PRESSURE OIL TUBES-ENGINE, PRE SBE79-0039 | aa | ||
| SBE0039-01 | OIL-PRESSURE OIL TUBES-ENGINE, PRE SBE70-0536 | ab | ||
| SBE0536-01 | OIL-PRESSURE OIL TUBES-ENGINE, PRE SBE79-0069 | ac | ||
| SBE0069-01 | OIL-PRESSURE OIL TUBES-ENGINE | ad | ||
| 096 | MS9966-13 | • PACKING - PREFORMED 96906 PRE SBE79-0039 | aa/01 | 1 |
| 096A | AS43013-214 | • RING - SEALING TOROIDAL, 24.99 MM I/D X 3.53 MM U1653 POST SBE79-0039 | ab-ad/01 | 1 |
| 096B | AS43013-214 | • RING - SEALING TOROIDAL, 24.99 MM I/D X 3.53 MM U1653 | aa-ad/02 | 1 |
| 100 | 5A8796 | • TUBE - ASSY OF PUMP TO ACOC PRE SBE79-0069 | aa-ac/03 | 1 |
| 100A | 6A6181 | • TUBE - ASSY POST SBE79-0069 | ad/03 | 1 |
| 106 | 4W0165 | • BOLT - .250 DIA X .688 Optional Part AS21511 | aa-ad/03 | 3 |
| 133 | 4W0130 | • BOLT - .190 DIA X 2.375 PRE SBE79-0069 | aa-ac/03 | 1 |
| 133A | 4W0125 | • BOLT - .190 DIA X 1.875 POST SBE79-0069 | ad/03 | 1 |
| 134 | 5W1086 | • WASHER PRE SBE79-0069 | aa-ac/03 | 1 |
| 136 | 400WSS14 | • CLIP 83930 PRE SBE79-0069 | aa-ac/03 | 1 |
| 136A | AS62414 | • CLIP - 22.22 MM (0.875) U1653 POST SBE79-0069 | ad/03 | 1 |
| 138 | 5W1033 | • SPACER - (25MM) PRE SBE70-0536 | aa-ab/03 | 1 |
| 138A | UP10482 | • SPACER - 25MM ALT 5W1033 POST SBE70-0536 | ac-ad/03 | 1 |
| -138B | 5W1033 | • SPACER - (25MM) ALT UP10482 POST SBE70-0536 | ac-ad/03 | REF |
| 138C | UP10480 | • SPACER - 15MM POST SBE79-0069 | ad/03 | 1 |
| 139 | 5W1032 | • SPACER - (20MM) PRE SBE70-0536 | aa-ab/03 | 1 |
| 139A | UP10481 | • SPACER - 20MM ALT 5W1032 POST SBE70-0536 | ac-ad/03 | 1 |
| -139B | 5W1032 | • SPACER - (20MM) ALT UP10481 POST SBE70-0536 | ac-ad/03 | REF |
| 140 | 4W0043 | • NUT - .190 DIA PRE SBE79-0069 | aa-ac/03 | 1 |
| 140A | 4W0001 | • NUT - .190 DIA POST SBE79-0069 | ad/03 | 1 |
| 144 | 400WSS14 | • CLIP - LOOP TYPE 83930 PRE SBE79-0069 | aa-ac/03 | 1 |
| 144A | AS62414 | • CLIP - 22.22 MM (0.875) U1653 POST SBE79-0069 | ad/03 | 1 |
| 149 | 4W0103 | • BOLT - .190 DIA X .500 Optional Part AS21408 PRE SBE79-0069 | aa-ac/03 | 1 |
| 150 | 5W1086 | • WASHER PRE SBE79-0069 | aa-ac/03 | 1 |
| 152 | 400WSS14 | • CLIP - LOOP TYPE 83930 PRE SBE79-0069 | aa-ac/03 | 1 |
| 156 | 4W0043 | • NUT - .190 DIA Optional Part AS41104 PRE SBE79-0069 | aa-ac/03 | 1 |
| 157 | AS21407 | • BOLT - BIHEX HD, .190 DIA X .438 U1653 PRE SBE79-0069 | aa-ac/03 | 1 |
| 157A | 4W0103 | • BOLT - .190 DIA X .500 Optional Part AS21408 POST SBE79-0069 | ad/03 | 1 |
| 158 | 5W1086 | • WASHER | aa-ad/03 | 1 |
| 160 | 400WSS12 | • CLIP - LOOP TYPE 83930 PRE SBE79-0069 | aa-ad/03 | 1 |
| 160A | AS62412 | • CLIP - 19.05 MM (0.750) U1653 POST SBE79-0069 | ad/03 | 1 |
| 164 | 4W0001 | • NUT - .190 DIA Optional Part AS20624 | aa-ad/03 | 1 |
| 165 | 4W0102 | • BOLT - .190 DIA X .438 Optional Part AS21407 POST SBE79-0069 | ad/03 | 1 |
| 168 | AS62414 | • CLIP - 22.22 MM (0.875) U1653 POST SBE79-0069 | ad/03 | 1 |
| 172 | 4W0001 | • NUT - .190 DIA Optional Part AS20624 POST SBE79-0069 | ad/03 | 1 |
| 202 | 5A8665 | • • ADAPTOR - STRAIGHT | aa-ad/03 | 1 |
| 214 | UP11167 | • • BRACKET - INTER TUBE SUPPORT POST SBE79-0069 | ad/03 | 1 |
| 242 | AS15816 | • • ADAPTOR - STRAIGHT TUBE U1653 | aa-ad/03 | 1 |
| 498 | AS43013-118 | • RING - SEALING TOROIDAL, 21.89MM I/D X 2.62MM U1653 | aa-ad/03 | 1 |
| 500 | 5A8773 | • TUBE - ASSY | aa-ad/03 | 1 |
| 514 | 4W0170 | • BOLT - .250 DIA X 1.000 Optional Part AS48116 | aa-ad/03 | 3 |
| 600 | AS15784 | • • WIRE - THRUST U1653 | aa-ad/03 | 1 |
| 601 | AS15708 | • • NUT - TUBE COUPLING U1653 | aa-ad/03 | 1 |
| 602 | AS15736 | • • FERRULE - WELDING TUBE U1653 | aa-ad/03 | 1 |
| 614 | 5W1093 | • • LUG - BRAZED | aa-ad/03 | 1 |
| 642 | 5A8667 | • • ADAPTOR - ANGLED | aa-ad/03 | 1 |
| - ITEM NOT ILLUSTRATED, ***** EFFECTIVITY NOT AVAILABLE | ||||
Figure: OIL-PRESSURE OIL TUBES-ENGINE
PRESSURE OIL TUBES ENGINE

