DMC:V2500-A5-79-21-49-11A-941A-DIssue No:002.00Issue Date:2014-08-01
Export Control
EAR Export Classification: Not subject to the EAR per 15 C.F.R. Chapter 1, Part 734.3(b)(3), except for the following Service Bulletins which are currently published as EAR Export Classification 9E991: SBE70-0992, SBE72-0483, SBE72-0580, SBE72-0588, SBE72-0640, SBE73-0209, SBE80-0024 and SBE80-0025.Copyright
© IAE International Aero Engines AG (2001, 2014 - 2021) The information contained in this document is the property of © IAE International Aero Engines AG and may not be copied or used for any purpose other than that for which it is supplied without the express written authority of © IAE International Aero Engines AG. (This does not preclude use by engine and aircraft operators for normal instructional, maintenance or overhaul purposes.).Applicability
V2500-A5
| Fig. Item | Part No. | Description | Effect/Model Applic. | UPA |
|---|---|---|---|---|
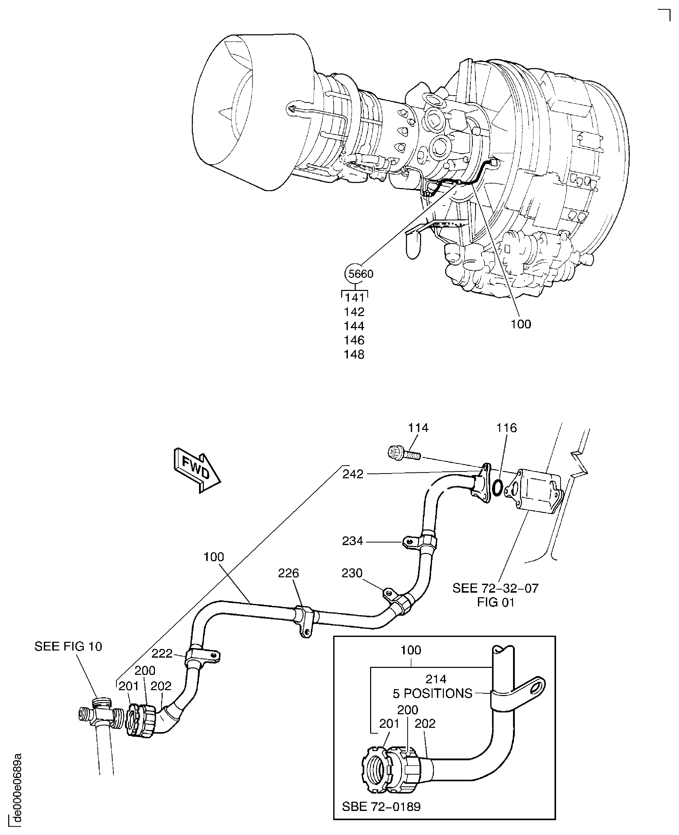
| 11 | ||||
| - | B79214911 | OIL-PRESSURE OIL TUBES-ENGINE, PRE SBE72-0189 | aa | |
| - | SBE0189-01 | OIL-PRESSURE OIL TUBES-ENGINE, PRE SBE79-0088 | ab | |
| - | SBE0088-01 | OIL-PRESSURE OIL TUBES-ENGINE | ac | |
| 100 | 5R8133 | • TUBE - A/O 1,2,3,OIL FEED PRE SBE72-0189 | aa/01 | 1 |
| 100A | 6A5395 | • TUBE - A/O-OIL DISCON 4WAY ADAPTOR TO 12&3BRGS POST SBE72-0189 | ab-ac/01 | 1 |
| 100B | 6A5395 | • TUBE - A/O-OIL DISCON 4WAY ADAPTOR TO 12&3BRGS | aa-ac/02 | 1 |
| 100C | 6A5395 | • TUBE - A/O-OIL DISCON 4WAY ADAPTOR TO 12&3BRGS POST SBE79-0088 | ac/03 | 1 |
| 114 | 4W0166 | • BOLT - .250 DIA X .750 | aa-ac/03 | 3 |
| 116 | AS43013-116 | • RING - SEALING TOROIDAL, 18,72MM I/DIA X 2,62 U1653 | aa-ac/03 | 1 |
| 141 | 4W0120 | • BOLT - .190 DIA X 1.562 PRE SBE72-0189 | aa/01 | 1 |
| 141A | 4W0103 | • BOLT - .190 DIA X .500 POST SBE72-0189 | ab-ac/01 | 1 |
| 141B | 4W0103 | • BOLT - .190 DIA X .500 | aa-ac/02 | 1 |
| 141C | 4W0103 | • BOLT - .190 DIA X .500 POST SBE79-0088 | ac/03 | 1 |
| 142 | 5W1086 | • WASHER PRE SBE72-0189 | aa/01 | 1 |
| 142A | K8831 | • WASHER - .190 DIA X 0.51 THK POST SBE79-0088 | ac/03 | 1 |
| 144 | 400WSS10 | • CLIP 83930 PRE SBE72-0189 | aa/01 | 1 |
| 144A | AS62410 | • CLIP - 15.88 MM (0.625) U1653 POST SBE72-0189 | ab-ac/01 | 1 |
| 144B | AS62410 | • CLIP - 15.88 MM (0.625) U1653 | aa-ac/02 | 1 |
| 144C | AS62410 | • CLIP - 15.88 MM (0.625) U1653 POST SBE79-0088 | ac/03 | 1 |
| 146 | 5W1033 | • SPACER - (25MM) PRE SBE72-0189 | aa/01 | 1 |
| 148 | 4W0043 | • NUT - .190 DIA | aa-ac/03 | 1 |
| 200 | AS15782 | • • WIRE, THRUST U1653 | aa-ac/03 | 1 |
| 201 | AS15706 | • • NUT, TUBE COUPLING U1653 | aa-ac/03 | 1 |
| 202 | 5W8157 | • • FERRULE PRE SBE72-0189 | aa/01 | 1 |
| 202A | AS15732 | • • FERRULE U1653 POST SBE72-0189 | ab-ac/01 | 1 |
| 202B | AS15732 | • • FERRULE U1653 | aa-ac/02 | 1 |
| 202C | AS15732 | • • FERRULE U1653 POST SBE79-0088 | ac/03 | 1 |
| 214 | UP11156 | • • BRACKET - INTER TUBE SUPPORT POST SBE72-0189 | ab-ac/01 | 5 |
| 214A | UP11156 | • • BRACKET - INTER TUBE SUPPORT | aa-ac/02 | 5 |
| 214B | UP11156 | • • BRACKET - INTER TUBE SUPPORT POST SBE79–0088 | ac/03 | 5 |
| 222 | 5W1593 | • • ADAPTOR - CLIP PRE SBE72-0189 | aa/01 | 1 |
| 226 | 5W1593 | • • ADAPTOR - CLIP PRE SBE72-0189 | aa/01 | 1 |
| 230 | 5W1593 | • • ADAPTOR - CLIP PRE SBE72-0189 | aa/01 | 1 |
| 234 | 5W1593 | • • ADAPTOR - CLIP PRE SBE72-0189 | aa/01 | 1 |
| 242 | 5T8240 | • • ADAPTOR - FLANGED PRE SBE72-0189 | aa/01 | 1 |
| 242A | 5T8241 | • • ADAPTOR - FLANGED POST SBE72-0189 | ab-ac/01 | 1 |
| 242B | 5T8241 | • • ADAPTOR - FLANGED | aa-ac/02 | 1 |
| 242C | 5T8241 | • • ADAPTOR - FLANGED POST SBE79-0088 | ac/03 | 1 |
| - ITEM NOT ILLUSTRATED, ***** EFFECTIVITY NOT AVAILABLE | ||||
Figure: Engine Pressure Oil Tubes
Engine Pressure Oil Tubes

