DMC:V2500-A5-79-22-41-01A-941A-DIssue No:004.00Issue Date:2018-05-01
Export Control
EAR Export Classification: Not subject to the EAR per 15 C.F.R. Chapter 1, Part 734.3(b)(3), except for the following Service Bulletins which are currently published as EAR Export Classification 9E991: SBE70-0992, SBE72-0483, SBE72-0580, SBE72-0588, SBE72-0640, SBE73-0209, SBE80-0024 and SBE80-0025.Copyright
© IAE International Aero Engines AG (2001, 2014 - 2021) The information contained in this document is the property of © IAE International Aero Engines AG and may not be copied or used for any purpose other than that for which it is supplied without the express written authority of © IAE International Aero Engines AG. (This does not preclude use by engine and aircraft operators for normal instructional, maintenance or overhaul purposes.).Applicability
V2500-A5
| Fig. Item | Part No. | Description | Effect/Model Applic. | UPA |
|---|---|---|---|---|
| 01 | ||||
| - | B79224101 | OIL - SCAVENGE OIL PUMP, PRE SBE79-0051 | aa | |
| - | SBE0051-01 | OIL - SCAVENGE OIL PUMP, PRE SBE70-0365 | ab | |
| - | SBE0365-01 | OIL - SCAVENGE OIL PUMP, PRE SBE70-0448 | ac | |
| - | SBE0448-01 | OIL - SCAVENGE OIL PUMP, PRE SBE79-0049 | ad | |
| - | SBE0049-01 | OIL - SCAVENGE OIL PUMP, PRE SBE79-0074 | ae | |
| - | SBE0074-01 | OIL - SCAVENGE OIL PUMP, PRE SBE70-0603 | af | |
| - | SBE0603-01 | OIL - SCAVENGE OIL PUMP, PRE SBE79-0077 | ag | |
| - | SBE0077-01 | OIL - SCAVENGE OIL PUMP, PRE SBE79-0093 | ah | |
| - | SBE0093-01 | OIL - SCAVENGE OIL PUMP, PRE SBE70-0992 | ai | |
| - | SBE0992-01 | OIL - SCAVENGE OIL PUMP, PRE SBE79-0101 | aj | |
| - | SBE79-0101 | OIL - SCAVENGE OIL PUMP | ak | |
| -001 | 4A7118 | PUMP - SCAVENGE POST SBE79-0051 PRE SBE79-0049 | ab-ad/01 | 1 |
| -001A | 4A7118 | PUMP - SCAVENGE POST SBE79-0049 PRE SBE79-0074 | ae/01 | 1 |
| -001B | 4A7118 | PUMP - SCAVENGE PRE SBE79-0074 | aa-ae/01 | 1 |
| -001C | 4A7118 | PUMP - SCAVENGE POST SBE79-0049 | ae-ak/02 | 1 |
| -001D | 4A7118 | PUMP - SCAVENGE POST SBE79-0074 PRE SBE70-0603 | af/03 | 1 |
| -001E | 4A7118 | PUMP - SCAVENGE POST SBE70-0603 PRE SBE79-0077 | ag/03 | 1 |
| 001F | 4A7121 | PUMP - OIL, SCAVENGE, ASSEMBLY OF POST SBE79-0077 PRE SBE79-0093 REF SBE79-0105 | ah/03 | 1 |
| 001G | 4A7124 | PUMP - OIL, SCAVENGE, ASSEMBLY OF POST SBE79-0093 PRE SBE79-0101 REF SBE79-0105 | ai-aj/03 | 1 |
| -001H | 4A7124A | PUMP - OIL, SCAVENGE, ASSEMBLY OF A3460 POST SBE79-0101 | ak/03 | 1 |
| 030 | 4W0003 | • NUT - 0.3125 DIA | aa-ak/03 | 4 |
| 032 | MS9321-11 | • WASHER 96906 | aa-ak/03 | 4 |
| 034 | AS3209-157 | • PACKING - PREFORMED U1653 PRE SBE79-0049 | aa-ad/01 | 2 |
| 034A | AS3209-158 | • PACKING - PREFORMED U1653 POST SBE79-0049 | aa-ak/01 | 2 |
| 034B | AS3209-158 | • PACKING - PREFORMED U1653 | aa-ak/02 | 2 |
| 050 | 4B7003 | • COVER - ASSEMBLY OF PRE SBE79-0051 | aa/01 | 2 |
| 050A | 4B7319 | • COVER POST SBE79-0051 PRE SBE79-0077 | ab-ag/01 | 2 |
| 050B | 4B7319 | • COVER PRE SBE79-0077 | ab-ag/02 | 2 |
| 050C | 4B7348 | • COVER - ASSEMBLY OF POST SBE79-0077 | ah-ak/03 | 2 |
| 055 | 4P7026 | • BOLT PRE SBE79-0101 | aa-aj/03 | 6 |
| 055A | 4W1249 | • BOLT - 0.250 DIA X 0.938 POST SBE79-0101 | ak/03 | 6 |
| 058 | 4P7303 | • BOLT | aa-ak/03 | 2 |
| 060 | 4T7907 | • PACKING - PREFORMED | aa-ak/03 | 8 |
| 065 | AS3209-152 | • PACKING - PREFORMED U1653 | aa-ak/03 | 2 |
| -100 | 4P7323 | • • BUSHING POST SBE79-0051 | ab-ak/01 | 1 |
| -100A | 4P7323 | • • BUSHING | aa-ak/02 | 1 |
| -150 | 4P7365 | • GEAR - DRIVEN POST SBE79-0093 | ai-ak/03 | 1 |
| -151 | 4P7365CL01 | • GEAR - DRIVEN POST SBE79-0093 | ai-ak/03 | 1 |
| -152 | 4P7365CL02 | • GEAR - DRIVEN POST SBE79-0093 | ai-ak/03 | 1 |
| -153 | 4P7365CL03 | • GEAR - DRIVEN POST SBE79-0093 | ai-ak/03 | 1 |
| -154 | 4P7365CL04 | • GEAR - DRIVEN POST SBE79-0093 | ai-ak/03 | 1 |
| -155 | 4P7365CL05 | • GEAR - DRIVEN POST SBE79-0093 | ai-ak/03 | 1 |
| -160 | 4B7370 | • GEAR - DRIVE, ASSEMBLY OF POST SBE79-0093 | ai-ak/03 | 1 |
| -162 | 4B7370CL02 | • GEAR - DRIVE, ASSEMBLY OF POST SBE79-0093 | ai-ak/03 | 1 |
| -163 | 4B7370CL03 | • GEAR - DRIVE, ASSEMBLY OF POST SBE79-0093 | ai-ak/03 | 1 |
| -164 | 4B7370CL04 | • GEAR - DRIVE, ASSEMBLY OF POST SBE79-0093 | ai-ak/03 | 1 |
| -165 | 4B7370CL05 | • GEAR - DRIVE, ASSEMBLY OF POST SBE79-0093 | ai-ak/03 | 1 |
| 170 | 4P7010 | • GEAR - DRIVEN | aa-ak/03 | 2 |
| 171 | 4P7010CL01 | • GEAR - DRIVEN POST SBE70-0448 | ad-ak/01 | 2 |
| 171A | 4P7010CL01 | • GEAR - DRIVEN | aa-ak/02 | 2 |
| 172 | 4P7010CL02 | • GEAR - DRIVEN POST SBE70-0448 | ad-ak/01 | 2 |
| 172A | 4P7010CL02 | • GEAR - DRIVEN | aa-ak/02 | 2 |
| 173 | 4P7010CL03 | • GEAR - DRIVEN POST SBE70-0448 | ad-ak/01 | 2 |
| 173A | 4P7010CL03 | • GEAR - DRIVEN | aa-ak/02 | 2 |
| 174 | 4P7010CL04 | • GEAR - DRIVEN POST SBE70-0448 | ad-ak/01 | 2 |
| 174A | 4P7010CL04 | • GEAR - DRIVEN | aa-ak/02 | 2 |
| 175 | 4P7010CL05 | • GEAR - DRIVEN PRE SBE70-0448 | ad-ak/01 | 2 |
| 175A | 4P7010CL05 | • GEAR - DRIVEN | aa-ak/02 | 2 |
| 180 | 4B7009 | • GEAR - DRIVE, ASSEMBLY OF PRE SBE70-0448 | ad-ak/01 | 2 |
| 180A | 4B7009 | • GEAR - DRIVE, ASSEMBLY OF | aa-ak/02 | 2 |
| 180B | 4B7009 | • GEAR - DRIVE, ASSEMBLY OF POST SBE70-0448 | ad-ak/03 | 2 |
| -181 | 4B7009CL01 | • GEAR - DRIVE, ASSEMBLY OF POST SBE70-0448 | ad-ak/03 | 2 |
| -182 | 4B7009CL02 | • GEAR - DRIVE, ASSEMBLY OF POST SBE70-0448 | ad-ak/03 | 2 |
| -183 | 4B7009CL03 | • GEAR - DRIVE, ASSEMBLY OF POST SBE70-0448 | ad-ak/03 | 2 |
| -184 | 4B7009CL04 | • GEAR - DRIVE, ASSEMBLY OF POST SBE70-0448 | ad-ak/03 | 2 |
| 185 | 4P7020 | • • RING - RETAINING PRE SBE70-0448 | aa-ac/01 | 1 |
| 185A | 4P7020 | • • RING - RETAINING | aa-ak/02 | 1 |
| 185B | 4B7009CL05 | • GEAR - DRIVE, ASSEMBLY OF POST SBE70-0448 | ad-ak/03 | 2 |
| -188 | 4P7020 | • • RING - RETAINING POST SBE70-0448 | ad-ak/03 | 1 |
| -197 | 4B7368 | • • SPACER - ASSEMBLY OF POST SBE79-0093 PRE SBE79-0101 | ai-ak/03 | 1 |
| -198 | 4B7368CL01 | • • SPACER - ASSEMBLY OF POST SBE79-0093 PRE SBE79-0101 | ai-ak/03 | 1 |
| -199 | 4B7368CL02 | • • SPACER - ASSEMBLY OF POST SBE79-0093 PRE SBE79-0101 | ai-ak/03 | 1 |
| 200 | 4B7315 | • SPACER - ASSEMBLY OF PRE SBE79-0051 | aa/01 | 4 |
| 200A | 4B7320 | • SPACER PRE SBE79-0077 | aa-ag/01 | 4 |
| 200B | 4B7320 | • SPACER POST SBE79-0051 PRE SBE79-0077 | ab-ag/02 | 4 |
| 200C | 4B7342 | • COVER - ASSEMBLY OF POST SBE79-0077 PRE SBE79-0093 | ah/03 | 2 |
| 200D | 4B7342 | • COVER - ASSEMBLY OF POST SBE79-0093 | ai-ak/03 | 1 |
| 201 | 4B7315CL01 | • SPACER - 39,6125-39.6170 MM, ASSEMBLY OF PRE SBE79-0051 | aa/01 | 4 |
| 201A | 4B7320CL01 | • SPACER POST SBE79-0051 PRE SBE79-0077 | aa-ag/01 | 4 |
| 201B | 4B7320CL01 | • SPACER PRE SBE79-0077 | ab-ag/02 | 4 |
| 201C | 4B7342CL01 | • SPACER - CLASS, ASSEMBLY OF POST SBE79-0077 PRE SBE79-0093 | ah/03 | 2 |
| 201D | 4B7342CL01 | • SPACER - CLASS, ASSEMBLY OF POST SBE79-0093 | ai-ak/03 | 1 |
| 202 | 4B7315CL02 | • SPACER - 39,6180-39.6270 MM, ASSEMBLY OF PRE SBE79-0051 | aa/01 | 4 |
| 202A | 4B7320CL02 | • SPACER POST SBE79-0051 PRE SBE79-0077 | ab-ag/01 | 4 |
| 202B | 4B7320CL02 | • SPACER PRE SBE79-0077 | aa-ag/02 | 4 |
| 202C | 4B7342CL02 | • SPACER - CLASS, ASSEMBLY OF POST SBE79-0077 PRE SBE79-0093 | ah/03 | 2 |
| 202D | 4B7342CL02 | • SPACER - CLASS, ASSEMBLY OF POST SBE79-0093 | ai-ak/03 | 1 |
| 203 | 4B7315CL03 | • SPACER - 39,6280-396375MM, ASSEMBLY OF PRE SBE79-0051 | aa/01 | 4 |
| 207 | MS171462 | • • PIN - SPRING 96906 PRE SBE79-0077 | aa-ag/01 | 1 |
| 207A | MS171462 | • • PIN - SPRING 96906 POST SBE79-0077 | ah-ak/02 | 1 |
| -211 | 4B7343 | • SPACER - ASSEMBLY OF POST SBE79-0077 PRE SBE79-0093 | ah/03 | 2 |
| -211A | 4B7343 | • SPACER - ASSEMBLY OF POST SBE79-0093 | ai-ak/03 | 1 |
| -213 | 4B7343CL01 | • SPACER - CLASS, ASSEMBLY OF POST SBE79-0077 PRE SBE79-0093 | ah/03 | 2 |
| -213A | 4B7343CL01 | • SPACER - CLASS, ASSEMBLY OF POST SBE79-0093 | ai-ak/03 | 1 |
| -215 | 4B7343CL02 | • SPACER - CLASS, ASSEMBLY OF POST SBE79-0077 PRE SBE79-0093 | ah/03 | 2 |
| -215A | 4B7343CL02 | • SPACER - CLASS, ASSEMBLY OF POST SBE79-0093 | ai-ak/03 | 1 |
| -219 | MS171462 | • • PIN - SPRING 96906 POST SBE79-0077 | ah-ak/03 | 1 |
| 220 | 4P7007 | • COUPLING PRE SBE79-0074 | aa-ae/03 | 2 |
| 220A | 4P7341 | • COUPLING POST SBE79-0074 | af-ak/03 | 2 |
| -225 | 4B7369 | • SPACER - ASSEMBLY OF POST SBE79-0093 PRE SBE79-0101 | ai-ak/03 | 1 |
| -226 | 4B7369CL01 | • SPACER - ASSEMBLY OF POST SBE79-0093 PRE SBE79-0101 | ai-ak/03 | 1 |
| -227 | 4B7369CL02 | • SPACER - ASSEMBLY OF POST SBE79-0093 PRE SBE79-0101 | ai-ak/03 | 1 |
| 230 | 4P7094 | • GEAR - DRIVEN PRE SBE79-0093 | aa-ah/01 | 2 |
| 230A | 4P7094 | • GEAR - DRIVEN POST SBE79-0093 | ai-ak/02 | 1 |
| 231 | 4P7094CL01 | • GEAR - DRIVEN PRE SBE79-0093 | aa-ah/01 | 2 |
| 231A | 4P7094CL01 | • GEAR - DRIVEN POST SBE79-0093 | ai-ak/02 | 1 |
| 231B | 4P7094CL01 | • GEAR - DRIVEN POST SBE70-0448 PRE SBE79-0093 | ad-ah/03 | 2 |
| 232 | 4P7094CL02 | • GEAR - DRIVEN PRE SBE79-0093 | aa-ah/01 | 2 |
| 232A | 4P7094CL02 | • GEAR - DRIVEN POST SBE79-0093 | ai-ak/02 | 1 |
| 232B | 4P7094CL02 | • GEAR - DRIVEN POST SBE70-0448 PRE SBE79-0093 | ad-ah/03 | 2 |
| 233 | 4P7094CL03 | • GEAR - DRIVEN PRE SBE79-0093 | aa-ah/01 | 2 |
| 233A | 4P7094CL03 | • GEAR - DRIVEN POST SBE79-0093 | ai-ak/02 | 1 |
| 233B | 4P7094CL03 | • GEAR - DRIVEN POST SBE70-0448 PRE SBE79-0093 | ad-ah/03 | 2 |
| 234 | 4P7094CL04 | • GEAR - DRIVEN PRE SBE79-0093 | aa-ah/01 | 2 |
| 234A | 4P7094CL04 | • GEAR - DRIVEN POST SBE79-0093 | ai-ak/02 | 1 |
| 234B | 4P7094CL04 | • GEAR - DRIVEN POST SBE79-0448 PRE SBE79-0093 | ad-ah/03 | 2 |
| 235 | 4P7094CL05 | • GEAR - DRIVEN PRE SBE79-0093 | aa-ah/01 | 2 |
| 235A | 4P7094CL05 | • GEAR - DRIVEN POST SBE79-0093 | ai-ak/02 | 1 |
| 235B | 4P7094CL05 | • GEAR - DRIVEN POST SBE70-0448 PRE SBE79-0093 | ad-ah/03 | 2 |
| 240 | 4B7093 | • GEAR - DRIVE, ASSEMBLY OF PRE SBE70-0448 | aa-ac/01 | 2 |
| 240A | 4B7093 | • GEAR - DRIVE, ASSEMBLY OF PRE SBE79-0093 | aa-ah/02 | 2 |
| 240B | 4B7093 | • GEAR - DRIVE, ASSEMBLY OF POST SBE70-0448 PRE SBE79-0093 | ad-ah/03 | 2 |
| 240C | 4B7093 | • GEAR - DRIVE, ASSEMBLY OF POST SBE79-0093 | ai-ak/03 | 1 |
| -241 | 4B7093CL01 | • GEAR - DRIVE, ASSEMBLY OF POST SBE70-0448 PRE SBE79-0093 | ad-ah/03 | 2 |
| -241A | 4B7093CL01 | • GEAR - DRIVE, ASSEMBLY OF POST SBE79-0093 | ai-ak/03 | 1 |
| -242 | 4B7093CL02 | • GEAR - DRIVE, ASSEMBLY OF POST SBE70-0448 PRE SBE79-0093 | ad-ah/03 | 2 |
| -242A | 4B7093CL02 | • GEAR - DRIVE, ASSEMBLY OF POST SBE79-0093 | ai-ak/03 | 1 |
| -243 | 4B7093CL03 | • GEAR - DRIVE, ASSEMBLY OF POST SBE70-0448 PRE SBE79-0093 | ad-ah/03 | 2 |
| -243A | 4B7093CL03 | • GEAR - DRIVE, ASSEMBLY OF POST SBE79-0093 | ai-ak/03 | 1 |
| -244 | 4B7093CL04 | • GEAR - DRIVE, ASSEMBLY OF POST SBE70-0448 PRE SBE79-0093 | ad-ah/03 | 2 |
| -244A | 4B7093CL04 | • GEAR - DRIVE, ASSEMBLY OF POST SBE79-0093 | ai-ak/03 | 1 |
| 245 | 4P7020 | • • RING - RETAINING PRE SBE70-0448 | aa-ac/01 | 1 |
| 245A | 4P7020 | • • RING - RETAINING | aa-ak/02 | 1 |
| 245B | 4B7093CL05 | • GEAR - DRIVE, ASSEMBLY OF POST SBE70-0448 PRE SBE79-0093 | ad-ah/03 | 2 |
| 245C | 4B7093CL05 | • GEAR - DRIVE, ASSEMBLY OF POST SBE79-0093 | ai-ak/03 | 1 |
| 248 | 4P7020 | • • RING - RETAINING POST SBE70-0448 | ad-ak/03 | 1 |
| 260 | 4P7007 | • COUPLING PRE SBE79-0074 | aa-ae/03 | 2 |
| 260A | 4P7341 | • COUPLING POST SBE79-0074 | af-ak/03 | 2 |
| -263 | 4B7344 | • SPACER - ASSEMBLY OF POST SBE79-0077 | ah-ak/03 | 2 |
| -264 | 4B7344CL01 | • SPACER - CLASS, ASSEMBLY OF POST SBE79-0077 | ah-ak/03 | 2 |
| -265 | 4B7344CL02 | • SPACER - CLASS, ASSEMBLY OF POST SBE79-0077 | ah-ak/03 | 2 |
| -268 | MS171462 | • • PIN - SPRING 96906 POST SBE79-0077 | ah-ak/03 | 1 |
| 270 | 4B7301 | • SPACER - ASSEMBLY OF PRE SBE79-0051 | aa/01 | 4 |
| 270A | 4B7321 | • SPACER PRE SBE79-0077 | aa-ag/01 | 4 |
| 270B | 4B7321 | • SPACER POST SBE79-0051 PRE SBE79-0077 | ab-ag/03 | 4 |
| 270C | 4B7344 | • SPACER - ASSEMBLY OF POST SBE79-0077 PRE SBE79-0093 | ah-ak/03 | 2 |
| 270D | 4B7344 | • SPACER - ASSEMBLY OF POST SBE79-0093 | ai-ak/03 | 1 |
| 271 | 4B7301CL01 | • SPACER - 39,6125 - 39.6170 MM, ASSEMBLY OF PRE SBE79-0051 | aa/01 | 4 |
| 271A | 4B7321CL01 | • SPACER PRE SBE79-0077 | aa-ag/01 | 4 |
| 271B | 4B7321CL01 | • SPACER POST SBE79-0051 PRE SBE79-0077 | ab-ag/02 | 4 |
| 271C | 4B7344CL01 | • SPACER - CLASS, ASSEMBLY OF POST SBE79-0077 PRE SBE79-0093 | ah/03 | 2 |
| 271D | 4B7344CL01 | • SPACER - CLASS, ASSEMBLY OF POST SBE79-0093 | ai-ak/03 | 1 |
| 272 | 4B7301CL02 | • SPACER - 39,6180 - 39.6270 MM, ASSEMBLY OF PRE SBE79-0051 | aa/01 | 4 |
| 272A | 4B7321CL02 | • SPACER PRE SBE79-0077 | aa-ag/01 | 4 |
| 272B | 4B7321CL02 | • SPACER POST SBE79-0051 PRE SBE79-0077 | ab-ag/02 | 4 |
| 272C | 4B7344CL02 | • SPACER - CLASS, ASSEMBLY OF POST SBE79-0077 PRE SBE79-0093 | ah/03 | 2 |
| 272D | 4B7344CL02 | • SPACER - CLASS, ASSEMBLY OF POST SBE79-0093 | ai-ak/03 | 1 |
| 273 | 4B7301CL03 | • SPACER - 39,6280-39,6375, ASSEMBLY OF PRE SBE79-0051 | aa/01 | 4 |
| 277 | MS171462 | • • PIN - SPRING 96906 PRE SBE79-0077 | aa-ag/01 | 1 |
| 277A | MS171462 | • • PIN - SPRING 96906 POST SBE79-0077 | ah-ak/02 | 1 |
| -285 | 4B7366 | • SPACER - ASSEMBLY OF POST SBE79-0093 | ai-ak/03 | 1 |
| -286 | 4B7366CL01 | • SPACER - ASSEMBLY OF POST SBE79-0093 | ai-ak/03 | 1 |
| -287 | 4B7366CL02 | • SPACER - ASSEMBLY OF POST SBE79-0093 | ai-ak/03 | 1 |
| 290 | 4P7021 | • SPRING - WAVE | aa-ak/03 | 5 |
| 300 | 4P7017 | • GEAR - DRIVE PRE SBE70-0365 | ac-ak/01 | 1 |
| 300A | 4P7316 | • GEAR - DRIVE POST SBE70-0365 | ac-ak/01 | 1 |
| 300B | 4P7316 | • GEAR - DRIVE | aa-ak/02 | 1 |
| 305 | 4W0002 | • NUT - 0.250 DIA | aa-ak/03 | 1 |
| 310 | MS9321-10 | • WASHER - FLAT, 0.500 X 0.276 X 0.062 96906 | aa-ak/03 | 1 |
| 330 | 4B7002 | • COVER - ASSEMBLY OF PRE SBE79-0051 | aa/01 | 1 |
| 330A | 4B7318 | • SPACER PRE SBE79-0077 | aa-ag/01 | 1 |
| 330B | 4B7318 | • SPACER POST SBE79-0051 PRE SBE79-0077 | ab-ag/02 | 1 |
| 330D | 4B7347 | • COVER - ASSEMBLY OF POST SBE79-0077 PRE SBE70-0992 | ah-ak/03 | 1 |
| 330E | 4T0562 | • COVER - ASSEMBLY OF A3460 ALT 4B7347 POST SBE70-0992 | ak-ak/03 | 1 |
| -330C | 4B7347 | • COVER - ASSEMBLY OF ALT 4B7389 POST SBE70-0992 | ak-ak/03 | REF |
| -330F | 4B7389 | • COVER - ASSEMBLY OF ALT 4T0562 POST SBE70-0992 | ak-ak/03 | REF |
| 335 | 4P7026 | • BOLT PRE SBE79-0101 | aa-ak/03 | 6 |
| 335A | 4W1249 | • BOLT - 0.250 DIA X 0.938 POST SBE79-0101 | ak/03 | 6 |
| 340 | 4T7907 | • PACKING - PREFORMED | aa-ak/03 | 6 |
| -370 | 4P7324 | • • BUSHING POST SBE79-0051 | ab-ak/03 | 1 |
| -375 | 4P7323 | • • BUSHING POST SBE79-0051 | ab-ak/03 | 2 |
| 420 | 4B7005 | • GEAR - DRIVE, ASSEMBLY OF PRE SBE70-0448 | aa-ac/03 | 1 |
| 420A | 4B7005 | • GEAR - DRIVE, ASSEMBLY OF POST SBE70-0448 | ad-ak/03 | 1 |
| -421 | 4B7005CL01 | • GEAR - DRIVE POST SBE70-0448 | ad-ak/03 | 1 |
| -422 | 4B7005CL02 | • GEAR - DRIVE POST SBE70-0448 | ad-ak/03 | 1 |
| -423 | 4B7005CL03 | • GEAR - DRIVE POST SBE70-0448 | ad-ak/03 | 1 |
| -424 | 4B7005CL04 | • GEAR - DRIVE POST SBE70-0448 | ad-ak/03 | 1 |
| -425 | 4B7005CL05 | • GEAR - DRIVE POST SBE70-0448 | ad-ak/03 | 1 |
| 428 | 4P7027 | • • BOLT | aa-ak/01 | 1 |
| 480 | 4B7006 | • GEAR - DRIVE, ASSEMBLY OF PRE SBE70-0448 | aa-ac/03 | 2 |
| 480A | 4B7006 | • GEAR - DRIVE, ASSEMBLY OF POST SBE70-0448 | ad-ak/03 | 2 |
| -481 | 4B7006CL01 | • GEAR - DRIVE POST SBE70-0448 | ad-ak/03 | 2 |
| -482 | 4B7006CL02 | • GEAR - DRIVE POST SBE70-0448 | ad-ak/03 | 2 |
| -483 | 4B7006CL03 | • GEAR - DRIVE POST SBE70-0448 | ad-ak/03 | 2 |
| -484 | 4B7006CL04 | • GEAR - DRIVE POST SBE70-0448 | ad-ak/03 | 2 |
| 485 | 4P7020 | • • RING - RETAINING PRE SBE70-0448 | aa-ac/03 | 1 |
| 485A | 4B7006CL05 | • GEAR - DRIVE POST SBE70-0448 | ad-ak/03 | 2 |
| -488 | 4P7020 | • • RING - RETAINING POST SBE70-0448 | ad-ak/03 | 1 |
| -500 | 4B7385 | • SPACER - ASSEMBLY OF POST SBE79-0101 | ak/03 | 1 |
| -501 | 4B7385CL01 | • SPACER - CLASS, ASSEMBLY OF POST SBE79-0101 | ak/03 | 1 |
| -502 | 4B7385CL02 | • SPACER - CLASS, ASSEMBLY OF POST SBE79-0101 | ak/03 | 1 |
| -507 | 4B7384 | • SPACER - ASSEMBLY OF POST SBE79-0101 | ak/03 | 1 |
| -508 | 4B7384CL01 | • SPACER - CLASS, ASSEMBLY OF POST SBE79-0101 | ak/03 | 1 |
| -509 | 4B7384CL02 | • SPACER - CLASS, ASSEMBLY OF POST SBE79-0101 | ak/03 | 1 |
| 530 | 4B7301 | • SPACER - ASSEMBLY OF PRE SBE79-0051 | aa/01 | 2 |
| 530A | 4B7321 | • SPACER PRE SBE79-0077 | aa-ag/01 | 2 |
| 530B | 4B7321 | • SPACER POST SBE79-0051 PRE SBE79-0077 | ab-ag/02 | 2 |
| 530C | 4B7345 | • SPACER - ASSEMBLY OF POST SBE79-0077 PRE SBE79-0093 | ah-ak/03 | 2 |
| 530D | 4B7345 | • SPACER - ASSEMBLY OF POST SBE79-0093 | ai-ak/03 | 1 |
| 531 | 4B7301CL01 | • SPACER - 39,6125 - 39.6170 MM, ASSEMBLY OF PRE SBE79-0051 | aa/01 | 2 |
| 531A | 4B7321CL01 | • SPACER PRE SBE79-0077 | aa-ag/01 | 2 |
| 531B | 4B7321CL01 | • SPACER POST SBE79-0051 PRE SBE79-0077 | ab-ag/02 | 2 |
| 531C | 4B7345CL01 | • SPACER - CLASS, ASSEMBLY OF POST SBE79-0077 PRE SBE79-0093 | ah/03 | 2 |
| 531D | 4B7345CL01 | • SPACER - CLASS, ASSEMBLY OF POST SBE79-0093 | ai-ak/03 | 1 |
| 532 | 4B7301CL02 | • SPACER - 39,6180 - 39.6270 MM, ASSEMBLY OF PRE SBE79-0051 | aa/01 | 2 |
| 532A | 4B7321CL02 | • SPACER PRE SBE79-0077 | aa-ag/01 | 2 |
| 532B | 4B7321CL02 | • SPACER POST SBE79-0051 PRE SBE79-0077 | ab-ag/02 | 2 |
| 532C | 4B7345CL02 | • SPACER - CLASS, ASSEMBLY OF POST SBE79-0077 PRE SBE79-0093 | ah/03 | 2 |
| 532D | 4B7345CL02 | • SPACER - CLASS, ASSEMBLY OF POST SBE79-0093 | ai-ak/03 | 1 |
| 533 | 4B7301CL03 | • SPACER - 39,6280-39,6375, ASSEMBLY OF PRE SBE79-0051 | aa/01 | 2 |
| 537 | MS171462 | • • PIN - SPRING 96906 PRE SBE79-0077 | aa-ag/03 | 1 |
| 537A | MS171462 | • • PIN - SPRING 96906 POST SBE79-0077 | ah-ak/03 | 1 |
| -550 | 4B7367 | • SPACER - ASSEMBLY OF POST SBE79-0093 | ai-ak/03 | 1 |
| -551 | 4B7367CL01 | • SPACER - ASSEMBLY OF POST SBE79-0093 | ai-ak/03 | 1 |
| -552 | 4B7367CL02 | • SPACER - ASSEMBLY OF POST SBE79-0093 | ai-ak/03 | 1 |
| 590 | 4B7302 | • SPACER - ASSEMBLY OF PRE SBE79-0051 | aa/01 | 1 |
| 590A | 4B7322 | • SPACER PRE SBE79-0077 | aa-ag/01 | 1 |
| 590B | 4B7322 | • SPACER POST SBE79-0051 PRE SBE79-0077 | aa-ag/02 | 1 |
| 590C | 4B7346 | • SPACER - ASSEMBLY OF POST SBE79-0077 | ah-ak/03 | 1 |
| 591 | 4B7302CL01 | • SPACER - 35,9885-35.9890 MM, ASSEMBLY OF PRE SBE79-0051 | aa/01 | 1 |
| 591A | 4B7322CL01 | • SPACER PRE SBE79-0077 | aa-ag/01 | 1 |
| 591B | 4B7322CL01 | • SPACER POST SBE79-051 PRE SBE79-0077 | aa-ag/02 | 1 |
| 591C | 4B7346CL01 | • SPACER - CLASS, ASSEMBLY OF POST SBE79-077 | ah-ak/03 | 1 |
| 592 | 4B7302CL02 | • SPACER - 35,990-36.000 MM, ASSEMBLY OF PRE SBE79-0051 | aa/01 | 1 |
| 592A | 4B7322CL02 | • SPACER PRE SBE79-0077 | aa-ag/01 | 1 |
| 592B | 4B7322CL02 | • SPACER POST SBE79-0051 PRE SBE79-0077 | aa-ag/02 | 1 |
| 592C | 4B7346CL02 | • SPACER - CLASS, ASSEMBLY OF POST SBE79-0077 | ah-ak/03 | 1 |
| 593 | 4B7302CL03 | • SPACER - 36,000-36.0075 MM, ASSEMBLY OF PRE SBE79-0051 | aa/01 | 1 |
| -690 | 4B7107 | • CASING - ASSEMBLY OF PRE SBE79-0077 | aa-ag/03 | 1 |
| -690A | 4B7349 | • CASING - ASSEMBLY OF POST SBE79-0077 | ah-ai/03 | 1 |
| 695 | MS21209F4-15L | • • INSERT - WIRE, THREAD, 0.250 DIA 96906 | aa-ai/03 | 29 |
| 740 | 4P7239 | • PLATE - IDENTIFICATION PRE SBE79-0093 | aa-ah/03 | 1 |
| 740A | 4P7372 | • PLATE - IDENTIFICATION POST SBE79-0093 | ai-ak/03 | 1 |
| 745 | MS21318-1 | • SCREW 96906 | aa-ak/03 | 2 |
| 850 | AS3209-120 | • PACKING - PREFORMED U1653 | aa-ak/03 | 2 |
| 852 | 4B0090 | • STRAINER - SCAVENGE, PUMP,ASSEMBLY OF | aa-ai/03 | 1 |
| - ITEM NOT ILLUSTRATED, ***** EFFECTIVITY NOT AVAILABLE | ||||
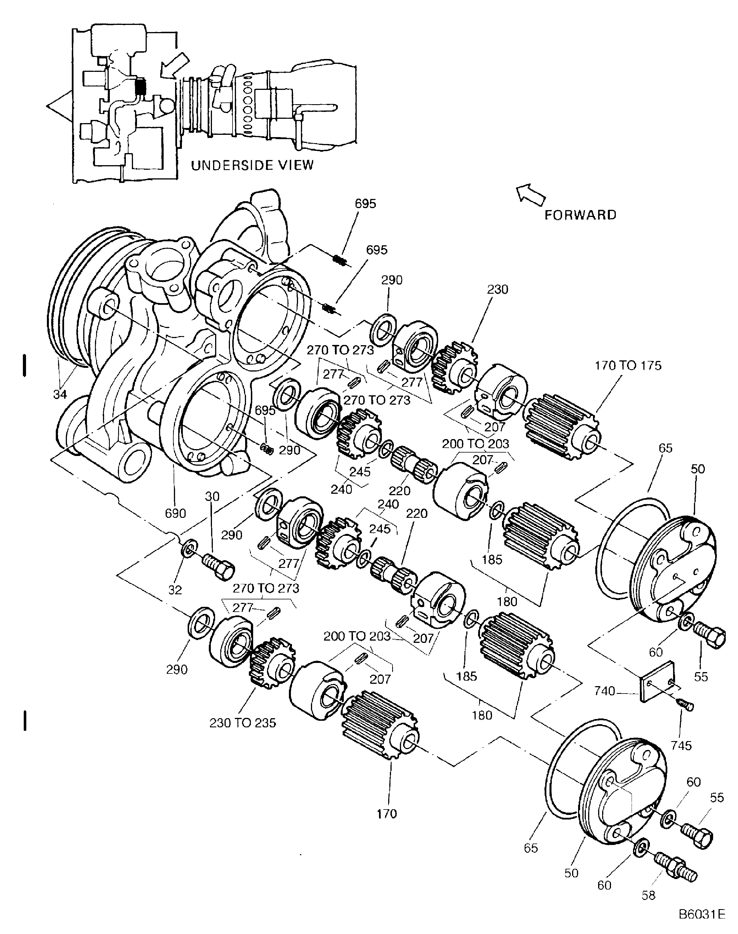
Figure: Oil Scavenge Pump
Oil Scavenge Pump

Oil Scavenge Pump

