DMC:V2500-A5-79-22-49-12A-941A-DIssue No:001.00Issue Date:2014-05-01
Export Control
EAR Export Classification: Not subject to the EAR per 15 C.F.R. Chapter 1, Part 734.3(b)(3), except for the following Service Bulletins which are currently published as EAR Export Classification 9E991: SBE70-0992, SBE72-0483, SBE72-0580, SBE72-0588, SBE72-0640, SBE73-0209, SBE80-0024 and SBE80-0025.Copyright
© IAE International Aero Engines AG (2001, 2014 - 2021) The information contained in this document is the property of © IAE International Aero Engines AG and may not be copied or used for any purpose other than that for which it is supplied without the express written authority of © IAE International Aero Engines AG. (This does not preclude use by engine and aircraft operators for normal instructional, maintenance or overhaul purposes.).Applicability
V2500-A5
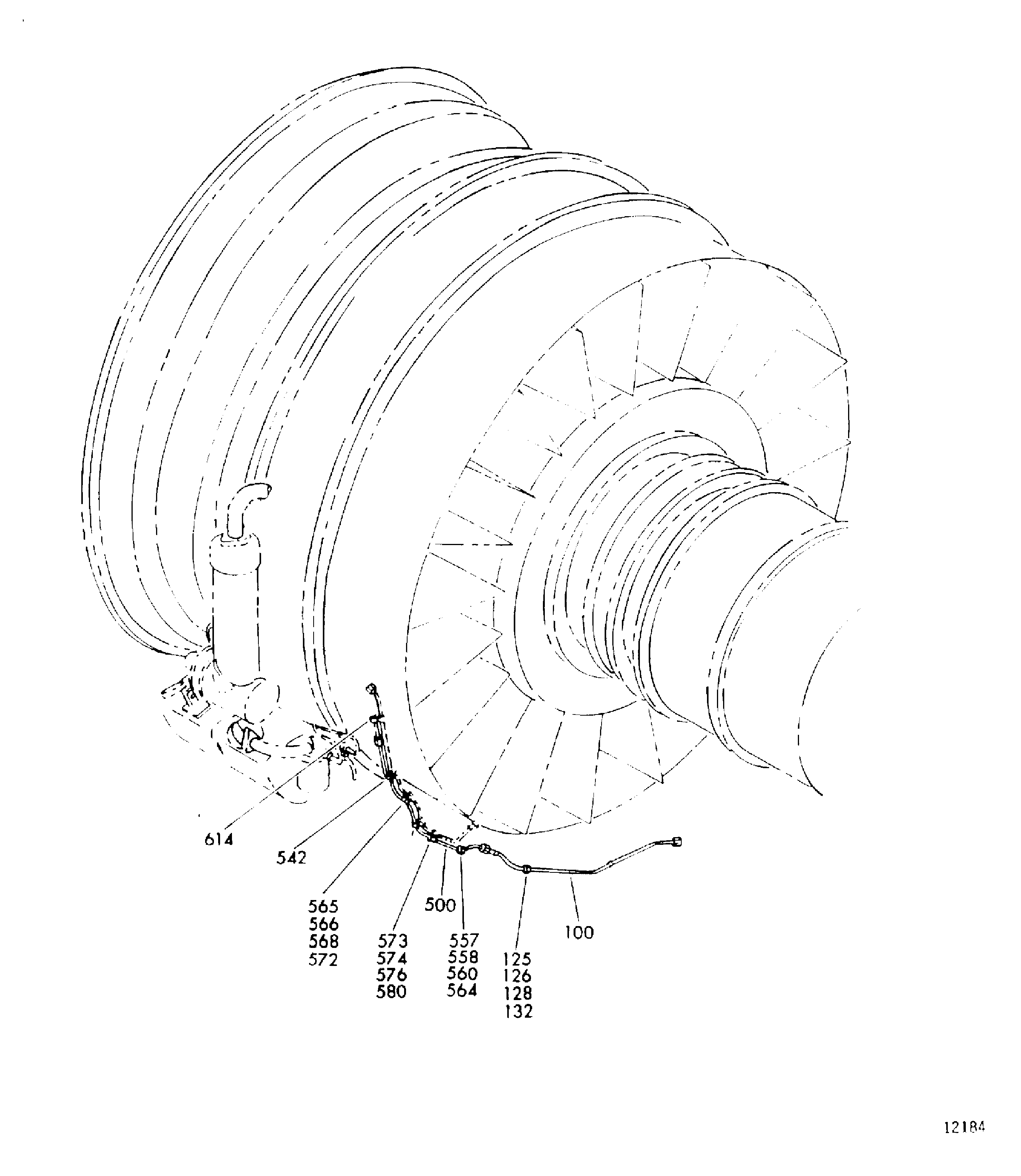
| Fig. Item | Part No. | Description | Effect/Model Applic. | UPA |
|---|---|---|---|---|
| 12 | ||||
| - | B79224912 | OIL-SCAVENGE OIL TUBES-ENGINE, PRE SBE70-0962 | aa | |
| - | SBE0962-01 | OIL-SCAVENGE OIL TUBES-ENGINE, PRE SBE79-0047 | ab | |
| - | SBE0047-01 | OIL-SCAVENGE OIL TUBES-ENGINE, PRE SBE79-0088 | ac | |
| - | SBE0088-01 | OIL-SCAVENGE OIL TUBES-ENGINE | ad | |
| -005 | 745-5019-501 | ARRANGEMENT 51563 PRE SBE70–0962 | aa/01 | REF |
| -005A | 745-5019-503 | ARRANGEMENT 51563 POST SBE70–0962 | ab-ad/01 | REF |
| -005B | 745-5019-505 | ARRANGEMENT 51563 POST SBE79–0047 | ac-ad/01 | REF |
| -005C | 745-5019-505 | ARRANGEMENT 51563 | aa-ad/02 | REF |
| 100 | 740-5793-511 | • TUBE - ASSY OIL PRESSURE 51563 PRE SBE79–0047 | aa-ab/01 | 1 |
| 100A | 745-5793-501 | • TUBE - OIL PRESSURE 51563 PRE SBE79–0088 | aa-ac/01 | 1 |
| 100B | 745-5793-501 | • TUBE - OIL PRESSURE 51563 POST SBE79–0047 PRE SBE79–0088 | aa-ac/02 | 1 |
| 100C | 740-5793-513 | • TUBE - ASSEMBLY 51563 POST SBE79–0088 | ad/03 | 1 |
| 125 | 4W0103 | • BOLT - .190 DIA X .500 PRE SBE79–0047 | aa-ab/01 | 1 |
| 126 | SP154D | • WASHER, FLAT K7766 PRE SBE79–0047 | aa-ab/01 | 1 |
| 128 | 400WSS8 | • CLIP 83930 PRE SBE79–0047 | aa-ab/01 | 1 |
| 132 | 4W0001 | • NUT - .190 DIA PRE SBE79–0047 | aa-ab/01 | 1 |
| 162 | 4W0103 | • BOLT - .190 DIA X .500 (SEE APPENDIX 5) POST SBE79–0088 | ad/03 | 1 |
| 163 | SP154D | • WASHER, FLAT K7766 POST SBE79–0088 | ad/03 | 1 |
| 164 | 400WSS4 | • CLIP 83930 POST SBE79–0088 | ad/03 | 1 |
| 166 | 4W0001 | • NUT - .190 DIA (SEE APPENDIX 5) POST SBE79–0088 | ad/03 | 1 |
| 169 | 400WSS4 | • CLIP 83930 POST SBE79–0088 | ad/03 | 1 |
| 180 | AS21420 | • BOLT, 0.19 DIA X 1.250 U1653 PRE SBE79–0088 | aa-ac/01 | 1 |
| 180A | AS21420 | • BOLT, 0.19 DIA X 1.250 U1653 POST SBE79–0047 PRE SBE79–0088 | ac/02 | 1 |
| 182 | ST1698D50 | • SPACER K4585 PRE SBE79–0088 | aa-ac/01 | 1 |
| 182A | ST1698D50 | • SPACER K4585 POST SBE79–0047 PRE SBE79–0088 | ac/02 | 1 |
| 184 | SP154D | • WASHER, FLAT K7766 PRE SBE79–0088 | aa-ac/01 | 1 |
| 184A | SP154D | • WASHER, FLAT K7766 POST SBE79–0047 PRE SBE79–0088 | ac/02 | 1 |
| 185 | 4W0001 | • NUT - .190 DIA (SEE APPENDIX 5) PRE SBE79–0088 | aa-ac/01 | 1 |
| 185A | 4W0001 | • NUT - .190 DIA (SEE APPENDIX 5) POST SBE79–0047 PRE SBE79–0088 | ac/02 | 1 |
| 186 | 4W0103 | • BOLT - .190 DIA X .500 PRE SBE79–0088 | aa-ac/01 | 1 |
| 186A | 4W0103 | • BOLT - .190 DIA X .500 POST SBE79–0047 PRE SBE79–0088 | ac/02 | 1 |
| 189 | SP154D | • WASHER, FLAT K7766 PRE SBE79–0088 | aa-ac/01 | 1 |
| 189A | SP154D | • WASHER, FLAT K7766 POST SBE79–0047 PRE SBE79–0088 | ac/02 | 1 |
| 190 | 4W0001 | • NUT - .190 DIA (SEE APPENDIX 5) PRE SBE79–0088 | aa-ac/01 | 1 |
| 190A | 4W0001 | • NUT - .190 DIA (SEE APPENDIX 5) POST SBE79–0047 PRE SBE79–0088 | ac/02 | 1 |
| 191 | 4W0106 | • BOLT - .190 DIA X .688 PRE SBE79–0088 | aa-ac/01 | 1 |
| 191A | 4W0106 | • BOLT - .190 DIA X .688 POST SBE79–0047 PRE SBE79–0088 | ac/02 | 1 |
| 193 | 400WSS4 | • CLIP 83930 PRE SBE79–0088 | aa-ac/01 | 1 |
| 193A | 400WSS4 | • CLIP 83930 POST SBE79–0047 PRE SBE79–0088 | ad/02 | 1 |
| 195 | ST1698D47 | • SPACER K4585 PRE SBE79–0088 | aa-ac/01 | 1 |
| 195A | ST1698D47 | • SPACER K4585 POST SBE79–0047 PRE SBE79–0088 | ac/02 | 1 |
| 197 | SP154D | • WASHER, FLAT K7766 PRE SBE79–0088 | aa-ac/01 | 1 |
| 197A | SP154D | • WASHER, FLAT K7766 POST SBE79–0047 PRE SBE79–0088 | ac/02 | 1 |
| 198 | 4W0001 | • NUT - .190 DIA (SEE APPENDIX 5) PRE SBE79–0088 | aa-ac/01 | 1 |
| 198A | 4W0001 | • NUT - .190 DIA (SEE APPENDIX 5) POST SBE79–0047 PRE SBE79–0088 | ac/02 | 1 |
| 500 | 740-5755-513 | • TUBE - ASSY OIL PRESSURE 51563 PRE SBE79–0047 | aa-ab/01 | 1 |
| 500A | 745-5755-501 | • TUBE - OIL PRESSURE ASSEMBLY POST SBE79–0047 | ac-ad/01 | 1 |
| 500B | 745-5755-501 | • TUBE - OIL PRESSURE ASSEMBLY | aa-ad/02 | 1 |
| 557 | 4W0106 | • BOLT - .190 DIA X .688 | aa-ad/03 | 1 |
| 558 | SP154D | • WASHER, FLAT K7766 | aa-ad/03 | 1 |
| 559 | ST1698D47 | • SPACER K4585 | aa-ad/03 | 1 |
| 560 | 400WSS4 | • CLIP 83930 | aa-ad/03 | 1 |
| 564 | 4W0001 | • NUT - .190 DIA | aa-ad/03 | 1 |
| 565 | 4W0106 | • BOLT - .190 DIA X .688 | aa-ad/03 | 1 |
| 566 | SP154D | • WASHER, FLAT K7766 | aa-ad/03 | 1 |
| 567 | ST1698D47 | • SPACER K4585 | aa-ad/03 | 1 |
| 568 | 400WSS4 | • CLIP 83930 | aa-ad/03 | 1 |
| 572 | 4W0001 | • NUT - .190 DIA | aa-ad/03 | 1 |
| 614 | 400WSS4 | • CLIP 83930 | aa-ad/03 | 1 |
| - ITEM NOT ILLUSTRATED, ***** EFFECTIVITY NOT AVAILABLE | ||||
Figure: Engine Scavenge Oil Tubes
Engine Scavenge Oil Tubes

