Export Control
EAR Export Classification: Not subject to the EAR per 15 C.F.R. Chapter 1, Part 734.3(b)(3), except for the following Service Bulletins which are currently published as EAR Export Classification 9E991: SBE70-0992, SBE72-0483, SBE72-0580, SBE72-0588, SBE72-0640, SBE73-0209, SBE80-0024 and SBE80-0025.Copyright
© IAE International Aero Engines AG (2001, 2014 - 2021) The information contained in this document is the property of © IAE International Aero Engines AG and may not be copied or used for any purpose other than that for which it is supplied without the express written authority of © IAE International Aero Engines AG. (This does not preclude use by engine and aircraft operators for normal instructional, maintenance or overhaul purposes.).Applicability
All
Common Information
TASK 71-21-11-300-005 Front Mount Tube - Blend Repair, Repair-005 (VRS1103)
Material of component
PART IDENT | SYMBOL | MATERIAL |
|---|---|---|
Engine Front Mount Tube Assembly | Heat Resisting And Refractory Alloy |
General
NOTE
Preliminary Requirements
Pre-Conditions
NONESupport Equipment
| Name | Manufacturer | Part Number / Identification | Quantity | Remark |
|---|---|---|---|---|
| Chemical Cleaning Equipment | LOCAL | Chemical Cleaning Equipment | ||
| Fluorescent Penetrant Inspection Equipment | LOCAL | Fluorescent Penetrant Inspection Equipment |
Consumables, Materials and Expendables
| Name | Manufacturer | Part Number / Identification | Quantity | Remark |
|---|---|---|---|---|
| CoMat 05-019 WATERPROOF SILICON CARBIDE | LOCAL | CoMat 05-019 | ||
| CoMat 05-020 WATERPROOF SILICON CARBIDE | LOCAL | CoMat 05-020 | ||
| CoMat 05-021 WATERPROOF SILICON CARBIDE | 44197 | CoMat 05-021 |
Spares
NONESafety Requirements
NONEProcedure
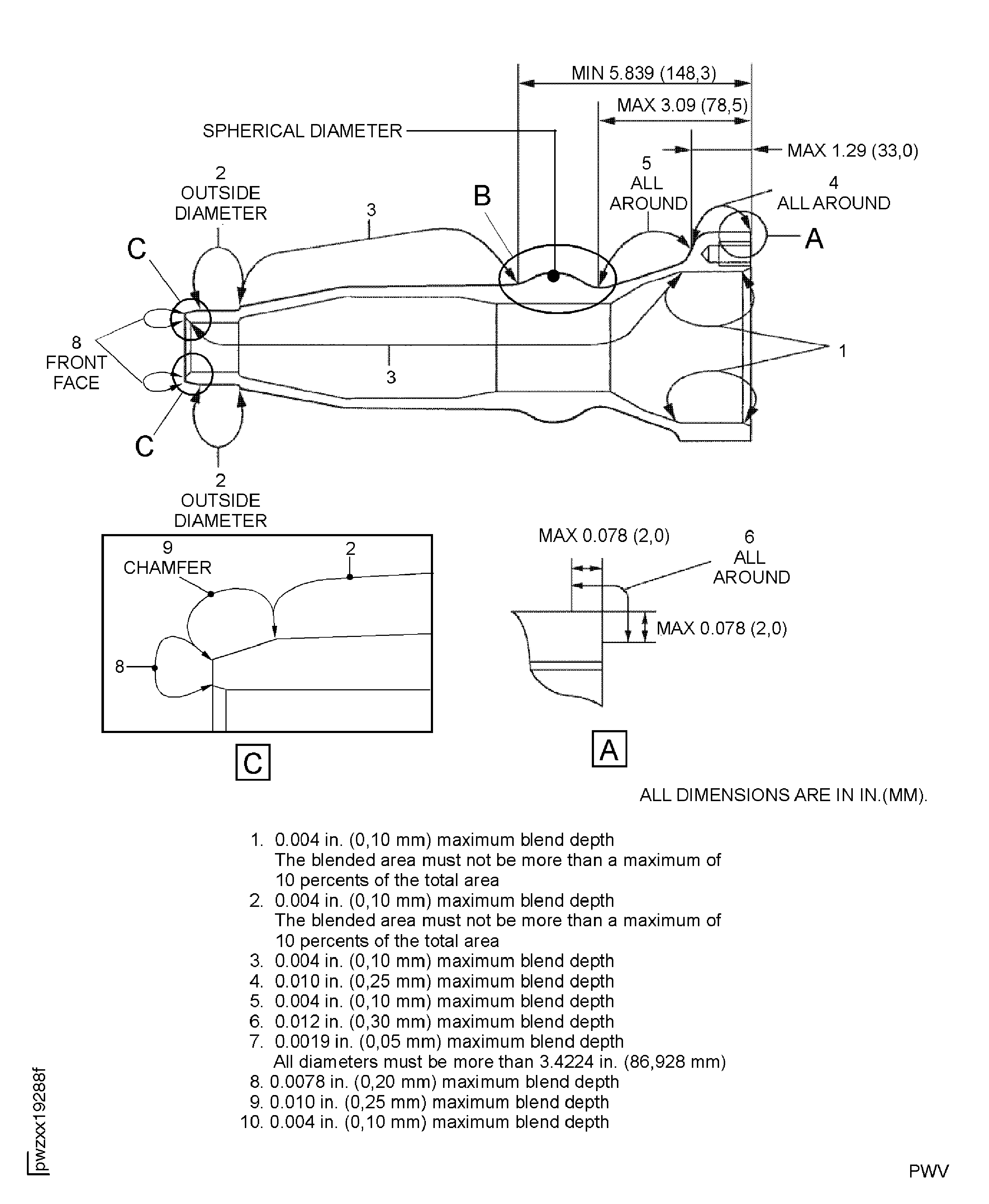
The repaired area except from front face is to be 10 times the depth. The repaired area on front face is to be 20 times the depth.
Surface finish of the repaired area must be the same as the adjacent surface.
Refer to SPM TASK 70-35-03-300-501.
Use abrasive stone or CoMat 05-019 WATERPROOF SILICON CARBIDE and CoMat 05-021 WATERPROOF SILICON CARBIDE and/or fine file.
Scallop, make smooth and/or hand polish to remove the galls, nicks, dents, scratches and/or scores except from location 7 and 10.
The repaired area is to be 50 times the depth.
Surface finish of the repaired area must be the same as the adjacent surface.
Refer to SPM TASK 70-35-03-300-501.
Use abrasive stone or CoMat 05-019 WATERPROOF SILICON CARBIDE and CoMat 05-021 WATERPROOF SILICON CARBIDE and/or fine file.
Make smooth and/or hand polish to remove the nicks, scratches, scores and/or corrosions from location 7 and 10.
SUBTASK 71-21-11-350-051 Remove the Damage of the Engine Front Mount Tube Assembly
Refer to TASK 71-21-11-200-000 (INSPECTION-000).
Visually examine the repaired area for galls, nicks, dents, pits, scratches and burrs.
Visually examine the repaired area.
SUBTASK 71-21-11-220-077 Examine the Engine Front Mount Tube Assembly
Use chemical cleaning equipment.
Refer to SPM TASK 70-11-39-300-503.
Chemically clean.
Use chemical cleaning equipment.
Refer to SPM TASK 70-11-39-300-503.
Swab etch the repaired.
SUBTASK 71-21-11-110-064 Do a Swab Etch
Refer to TASK 71-21-11-200-000 (INSPECTION-000).
Refer to SPM TASK 70-23-05-230-501.
Make sure there are no cracks in the repaired area.
Fluorescent penetrant examine the repaired area.
SUBTASK 71-21-11-230-053 Examine the Engine Front Mount Tube Assembly for Cracks
Refer to Repair, VRS1101 TASK 71-21-11-300-004 (REPAIR-004).
Apply the dry film lubricant to repaired area of the chamfer and the outside diameter, if required.
SUBTASK 71-21-11-380-053 Apply the Dry Film Lubricant to the Engine Front Mount Tube Assembly
Figure: Repair Details and Dimensions
Sheet 1

Figure: Repair Details and Dimensions
Sheet 2

