Export Control
EAR Export Classification: Not subject to the EAR per 15 C.F.R. Chapter 1, Part 734.3(b)(3), except for the following Service Bulletins which are currently published as EAR Export Classification 9E991: SBE70-0992, SBE72-0483, SBE72-0580, SBE72-0588, SBE72-0640, SBE73-0209, SBE80-0024 and SBE80-0025.Copyright
© IAE International Aero Engines AG (2001, 2014 - 2021) The information contained in this document is the property of © IAE International Aero Engines AG and may not be copied or used for any purpose other than that for which it is supplied without the express written authority of © IAE International Aero Engines AG. (This does not preclude use by engine and aircraft operators for normal instructional, maintenance or overhaul purposes.).Applicability
All
Common Information
TASK 72-00-00-200-016 Engine General - Examine (Borescope) The HPT Stage 1 Duct Segments, Inspection-016
General
This TASK gives the procedure for the borescope inspection of the stage 1 HPT duct segments. This TASK recommends the use of a flexible borescope to inspect the stage 1 HPT duct segments. A rigid borescope will not permit you to see sufficient detail to inspect the duct segments to the limits in this TASK.
NOTE
NOTE
Preliminary Requirements
Pre-Conditions
NONESupport Equipment
| Name | Manufacturer | Part Number / Identification | Quantity | Remark |
|---|---|---|---|---|
| Torque wrench: range 36 - 220 lbfin (4.0 - 24.9 Nm) | LOCAL | Torque Wrench 36 - 220 | ||
| Flexible borescope, 6 mm or more with a minimum length of 2.5 m with a forward viewing tip | LOCAL | Flexible borescope, 6 mm or more with a minimum length of 2.5 m with a forward viewing tip | ||
| Cover (eye) | LOCAL | Cover (eye) | ||
| IAE 1P16184 Puller | 0AM53 | IAE 1P16184 | 1 |
Consumables, Materials and Expendables
| Name | Manufacturer | Part Number / Identification | Quantity | Remark |
|---|---|---|---|---|
| CoMat 02-141 LOCKWIRE | LOCAL | CoMat 02-141 | ||
| CoMat 10-031 ANTI-GALLING COMPOUND | 0AM53 | CoMat 10-031 | ||
| CoMat 10-055 ANTIGALLANT | 0AM53 | CoMat 10-055 | ||
| CoMat 10-094 ANTI-SEIZE COMPOUND, PURE Ni-SPECIAL | LOCAL | CoMat 10-094 |
Safety Requirements
NONEProcedure
Remove the lockwire and the bolts HP Turbine (HPT) Rotor And Stator Assembly (72-45-00, 01-160) which hold the plugs.
Put the IAE 1P16184 Puller puller 1 off into the center hole of the plug.
Remove the plug HP Turbine (HPT) Rotor And Stator Assembly (72-45-00, 01-140) from the port with the puller.
Remove the gasket HP Turbine (HPT) Rotor And Stator Assembly (72-45-00, 01-120) from the plug HP Turbine (HPT) Rotor And Stator Assembly (72-45-00, 01-140).
Remove the plug HP Turbine (HPT) Rotor And Stator Assembly (72-45-00, 01-140) from the puller.
Do Step through Step for the other plug HP Turbine (HPT) Rotor And Stator Assembly (72-45-00, 01-140).
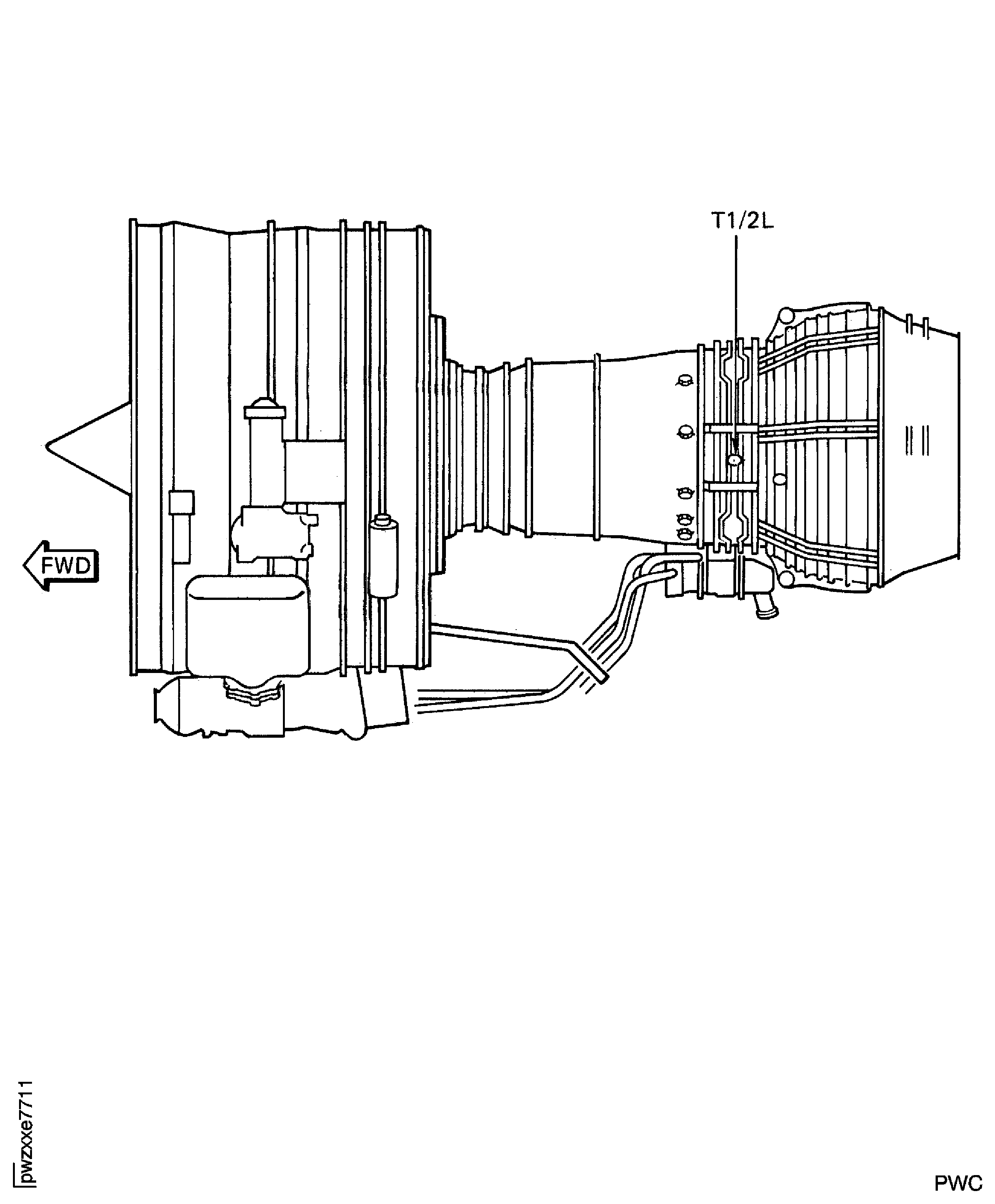
Get access to the stage 1 HPT duct segments through the T1/2L and the T1/2R ports.
NOTE
When the borescope is in approximately 12 in. (0.30 m), withdraw the borescope to make sure there is a minimum of resistance. If there is resistance, remove the borescope and rotate the rotor for better position. If there is little or no resistance, continue the borescope installation.Put a flexible borescope into the T1/2R port. Twist and push the borescope in until you can see the duct segments.
SUBTASK 72-00-00-020-077 Install a Flexible Borescope to Examine the Stage 1 HPT Duct Segments through the T1/2L or T1/2R Ports
Refer to Figure.
Put the gasket HP Turbine (HPT) Rotor And Stator Assembly (72-45-00, 01-120) 1 off in the case recess.
Put the gasket on the plug HP Turbine (HPT) Rotor And Stator Assembly (72-45-00, 01-140) and install it in the case.
Lubricate the threads of the two bolts HP Turbine (HPT) Rotor And Stator Assembly (72-45-00, 01-160) with CoMat 10-031 ANTI-GALLING COMPOUND anti-galling, CoMat 10-055 ANTIGALLANT anti-seize, or CoMat 10-094 ANTI-SEIZE COMPOUND, PURE Ni-SPECIAL.
Install the bolts HP Turbine (HPT) Rotor And Stator Assembly (72-45-00, 01-160).
Safety the bolts with CoMat 02-141 LOCKWIRE.
For the T1/T2 and the T1/2R port proceed as follows:
SUBTASK 72-00-00-420-084 Close the Borescope Inspection Ports after the Borescope Inspection is Completed
Figure: HP Turbine Borescope Locations for Inspection of the Stage 1 HPT Duct Segments (Left Side)
HP Turbine Borescope Locations for Inspection of the Stage 1 HPT Duct Segments (Left Side)

Figure: HP Turbine Borescope Locations for Inspection of the Stage 1 HPT Duct Segments (Right Side)
HP Turbine Borescope Locations for Inspection of the Stage 1 HPT Duct Segments (Right Side)

Figure: HP Turbine Ports for Inspection of the Stage 1 HPT Duct Segments
HP Turbine Ports for Inspection of the Stage 1 HPT Duct Segments

Figure: Stage 1 HPT Duct Segment Inspection Locations
Stage 1 HPT Duct Segment Inspection Locations

Figure: Borescope Ports
Borescope Ports

