Export Control
EAR Export Classification: Not subject to the EAR per 15 C.F.R. Chapter 1, Part 734.3(b)(3), except for the following Service Bulletins which are currently published as EAR Export Classification 9E991: SBE70-0992, SBE72-0483, SBE72-0580, SBE72-0588, SBE72-0640, SBE73-0209, SBE80-0024 and SBE80-0025.Copyright
© IAE International Aero Engines AG (2001, 2014 - 2021) The information contained in this document is the property of © IAE International Aero Engines AG and may not be copied or used for any purpose other than that for which it is supplied without the express written authority of © IAE International Aero Engines AG. (This does not preclude use by engine and aircraft operators for normal instructional, maintenance or overhaul purposes.).Applicability
All
Common Information
TASK 72-31-13-300-003 LPC Fan Blade Front Retaining Ring - Replace The Shank Nuts, Repair-003 (VRS1161)
Material of component
RR | ||
|---|---|---|
DESCRIPTION | SYMBOL | MATERIAL |
Front blade retaining ring | Titanium alloy | |
Shank nut | Corrosion resistant steel |
General
Price and availability - none
The practices and processes referred to in the procedure by the TASK number are in the SPM.
Preliminary Requirements
Pre-Conditions
NONESupport Equipment
| Name | Manufacturer | Part Number / Identification | Quantity | Remark |
|---|---|---|---|---|
| Drilling machine | LOCAL | Drilling machine | Radial | |
| Fluorescent Penetrant Inspection Equipment | LOCAL | Fluorescent penetrant inspection equipment | ||
| IAE 3J12713 Peening tool | 0AM53 | IAE 3J12713 | 1 |
Consumables, Materials and Expendables
NONESpares
| Name | Manufacturer | Part Number / Identification | Quantity | Remark |
|---|---|---|---|---|
| Self locking shank nut | AS27870 | 24 |
Safety Requirements
NONEProcedure
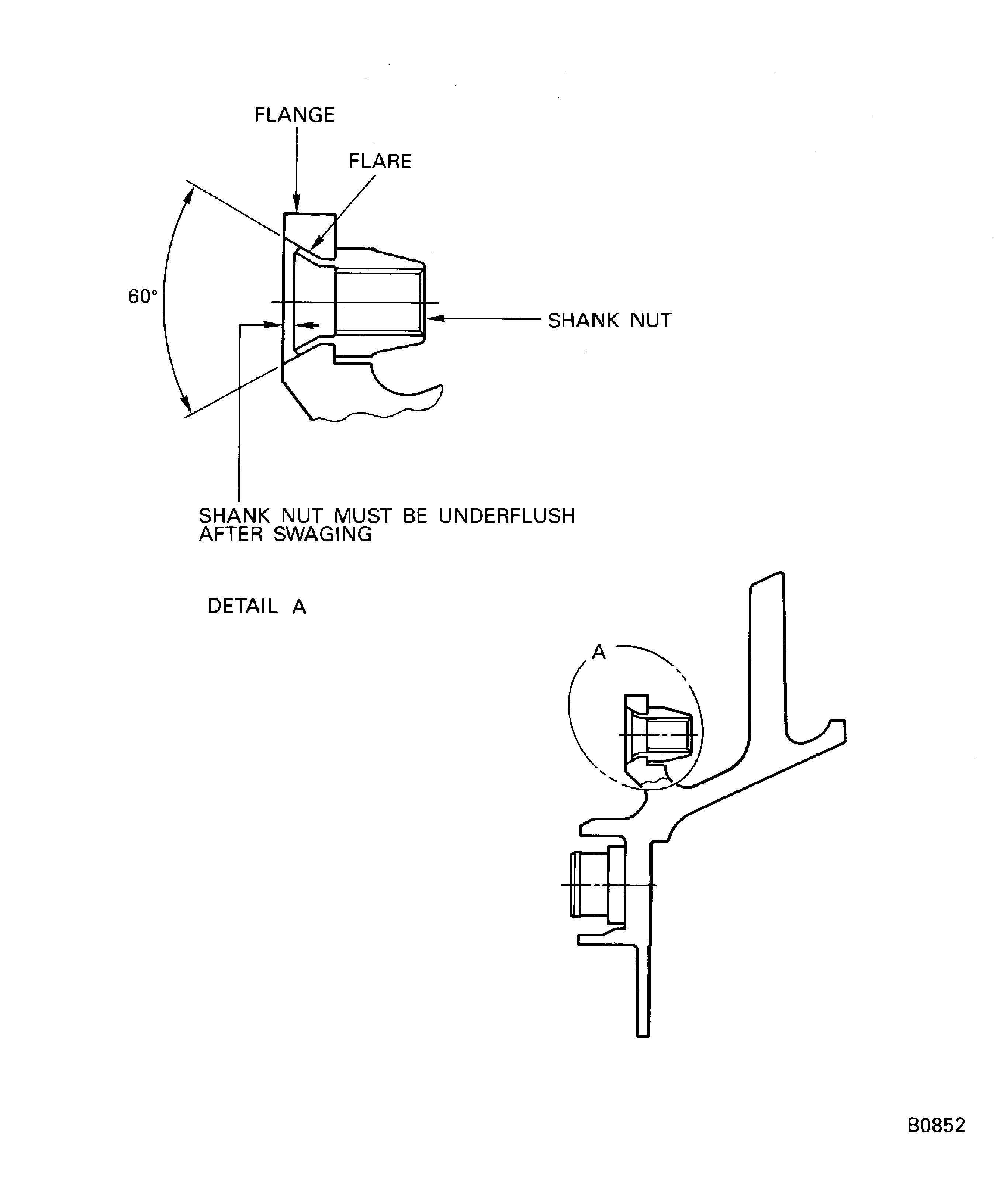
Refer to: Figure
Use a 0.378 in. (9.60 mm) drill.
Care to be taken that the flange bore or face do not become damaged.
Refer to the SPM TASK 70-35-11-300-501.
Remove the damaged shank nut.
SUBTASK 72-31-13-350-054 Remove the Damaged Shank Nuts of the Front Blade Retaining Ring Assembly
Cracks are not permitted.
Refer to the SPM TASK 70-23-05-230-501.
Do a penetrant crack test on the rear snap diameter.
SUBTASK 72-31-13-230-054 Examine the Flange Nut Location Hole of the Front Blade Retaining Ring Assembly
Refer to Figure.
Care to be taken that the flange does not become damaged.
Use IAE IAE 3J12713 Peening tool 1 off.
During swaging, the tool may damage the silver coating inside the shank.
This is permissible and it is not necessary to touch-up if the coating is damaged.
Any loose flakes of silver coating are to be removed.
Refer to the SPM TASK 70-35-11-300-501.
Hold the shank nut in position and make a flare.
SUBTASK 72-31-13-350-055 Fit a New Shank Nut to the Front Blade Retaining Ring Assembly
Refer to Figure.
SUBTASK 72-31-13-220-066 Examine the Shank Nut of the Front Blade Retaining Ring Assembly
Figure: Replace shank nut of the front blade retaining ring assembly
Replace shank nut of the front blade retaining ring assembly

