DMC:V2500-A0-72-32-2101-00A-920A-CIssue No:001.00Issue Date:2013-11-01
Export Control
EAR Export Classification: Not subject to the EAR per 15 C.F.R. Chapter 1, Part 734.3(b)(3), except for the following Service Bulletins which are currently published as EAR Export Classification 9E991: SBE70-0992, SBE72-0483, SBE72-0580, SBE72-0588, SBE72-0640, SBE73-0209, SBE80-0024 and SBE80-0025.Copyright
© IAE International Aero Engines AG (2001, 2014 - 2021) The information contained in this document is the property of © IAE International Aero Engines AG and may not be copied or used for any purpose other than that for which it is supplied without the express written authority of © IAE International Aero Engines AG. (This does not preclude use by engine and aircraft operators for normal instructional, maintenance or overhaul purposes.).Applicability
All
Common Information
TASK 72-32-21-300-004 No. 3 Bearing Housing - Replace The Pin, Repair-004 (VRS3009)
General
Price and availability - refer to IAE
The practices and processes referred to in this procedure by TASK numbers are in the SPM.
Preliminary Requirements
Pre-Conditions
NONEConsumables, Materials and Expendables
NONESpares
| Name | Manufacturer | Part Number / Identification | Quantity | Remark |
|---|---|---|---|---|
| Pin | 1A9666 (use | 2 | ||
| Pin | 2A2205 (use | 2 |
Safety Requirements
NONEProcedure
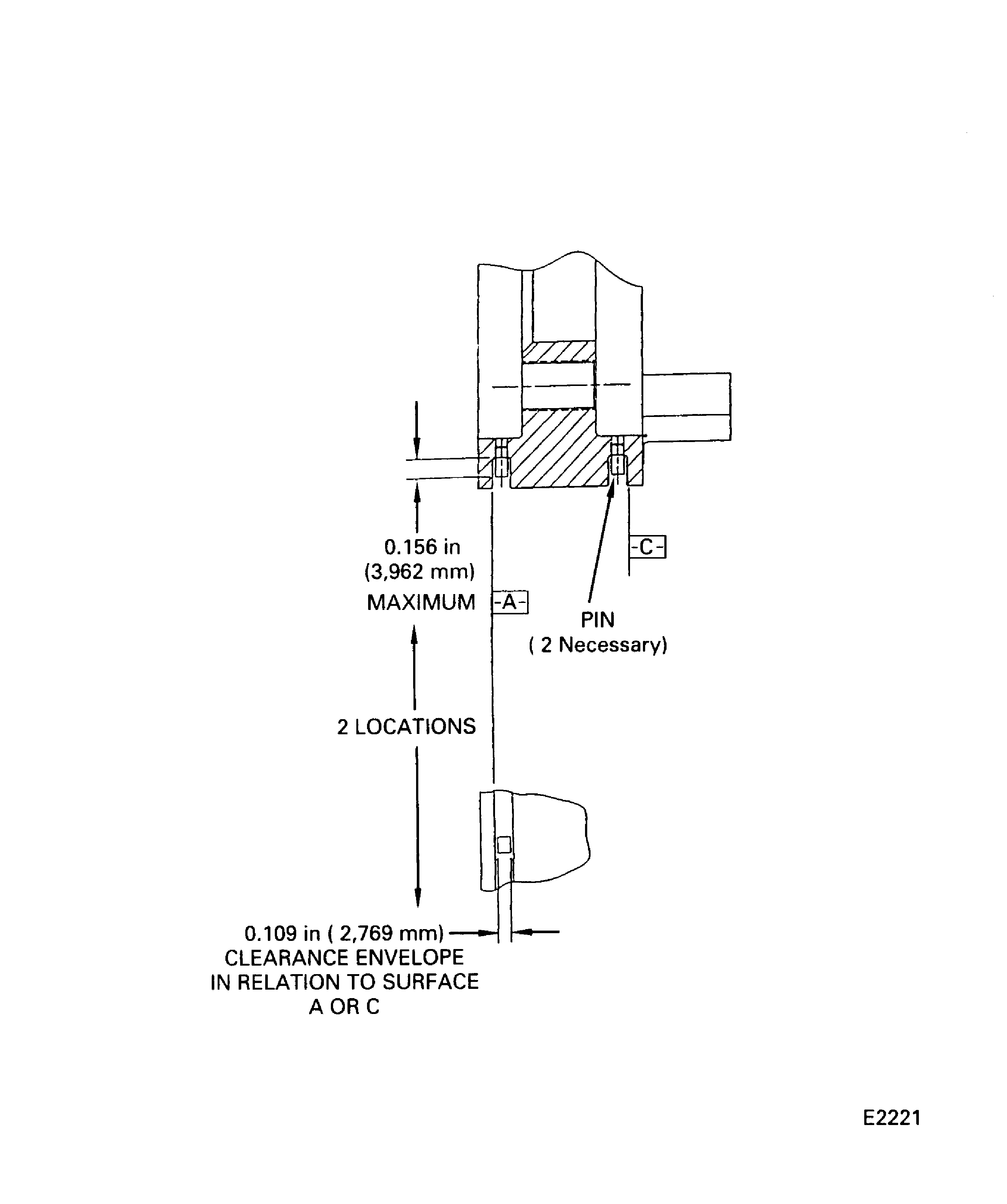
Refer to Figure.
Use a drift to remove the pins from the housing.
SUBTASK 72-32-21-350-055 Remove the Pins from the No. 3 Bearing Housing
Refer to the SPM TASK 70-11-26-300-503.
Clean the holes and the new pins before you install them into the housing.
SUBTASK 72-32-21-110-055 Clean the Holes and the New Pins
Refer to Figure.
Examine the housing to make sure the pins are installed correctly.
SUBTASK 72-32-21-220-080 Examine the Repair
Figure: No. 3 bearing housing pin replacement
No. 3 bearing housing pin replacement

