Export Control
EAR Export Classification: Not subject to the EAR per 15 C.F.R. Chapter 1, Part 734.3(b)(3), except for the following Service Bulletins which are currently published as EAR Export Classification 9E991: SBE70-0992, SBE72-0483, SBE72-0580, SBE72-0588, SBE72-0640, SBE73-0209, SBE80-0024 and SBE80-0025.Copyright
© IAE International Aero Engines AG (2001, 2014 - 2021) The information contained in this document is the property of © IAE International Aero Engines AG and may not be copied or used for any purpose other than that for which it is supplied without the express written authority of © IAE International Aero Engines AG. (This does not preclude use by engine and aircraft operators for normal instructional, maintenance or overhaul purposes.).Applicability
All
Common Information
TASK 72-32-23-300-012 Rotor Center Ring Seal Carrier Assembly - Replace The Surface Protection, Repair-012 (VRS6119)
Effectivity
FIG/ITEM | PART NO. | |
|---|---|---|
01-720 | 6A2238 | Assembly A |
01-720 | 6A3890 | Assembly A |
01-720 | 6A3902 | Assembly A |
01-720 | 6A3916 | Assembly B |
01-720 | 6A4469 | Assembly C |
Material of component
PART IDENT | SYMBOL | MATERIAL |
|---|---|---|
Ring seal carrier | AGY | Hykro (Air Melted) |
Retainer | AGY | Hykro (Air Melted) |
Seal ring | EAK | Modified 12 percent Chromium Steel |
General
This Repair must only be done when the instruction to do so is given in TASK 72-32-23-200-000 (INSPECTION-000).
The surface protection will be replaced after all other repairs to the component have been completed.
Step describes the procedure to apply touch-up paint to the HP Compressor Seal Ring Carrier Assembly.
Step describes the complete application of the surface protection to the HP Compressor Seal Ring Carrier Assembly.
Make sure the coating on the outside diameter is not damaged during this repair.
Make sure the protective coating is not damaged during this repair.
The practices and processes referred to in the procedure by the TASK/SUBTASK numbers are in the SPM.
Price and availability
Refer to International Aero Engines.
Related repairs
HP Compressor Seal Ring Assembly - Replace the Seal Ring, refer to Repair VRS6113, TASK 72-32-23-300-009 (REPAIR-009).
NOTE
NOTE
Preliminary Requirements
Pre-Conditions
NONESupport Equipment
| Name | Manufacturer | Part Number / Identification | Quantity | Remark |
|---|---|---|---|---|
| Chemical cleaning equipment | LOCAL | Chemical cleaning equipment | ||
| Paint brush | LOCAL | Paint brush | ||
| Penetrant Crack Test Equipment | LOCAL | Penetrant crack test equipment | ||
| Abrasive blast equipment | LOCAL | Abrasive blast equipment | ||
| Paint spray equipment | LOCAL | Paint spray equipment | ||
| Conductivity meter | LOCAL | Conductivity meter |
Consumables, Materials and Expendables
| Name | Manufacturer | Part Number / Identification | Quantity | Remark |
|---|---|---|---|---|
| CoMat 01-005 SOLVENT CLEANER | 72190 | CoMat 01-005 | ||
| CoMat 02-001 ADHESIVE TAPE (MASKING) | LOCAL | CoMat 02-001 | ||
| CoMat 02-005 ADHESIVE TAPE (MASKING) | LOCAL | CoMat 02-005 | ||
| CoMat 02-019 TAPE, ADHESIVE PAPER HEAT RESISTING MASKING | 94960 | CoMat 02-019 | ||
| CoMat 05-003 ABRASIVE MEDIUM ALUMINUM OXIDE, 120/220 GRADE | LOCAL | CoMat 05-003 | ||
| CoMat 05-020 WATERPROOF SILICON CARBIDE | LOCAL | CoMat 05-020 | ||
| CoMat 05-021 WATERPROOF SILICON CARBIDE | 44197 | CoMat 05-021 | ||
| CoMat 06-073 INK, METAL MARKING | 88303 | CoMat 06-073 | ||
| CoMat 07-024 AEROLAC METAL PROTECTIVE VARNISH, CLEAR | LOCAL | CoMat 07-024 | ||
| CoMat 07-035 CORROSION RESISTANT COATING | LOCAL | CoMat 07-035 | ||
| CoMat 07-037 CORROSION RESISTANT TOUCH-UP COATING | LOCAL | CoMat 07-037 | ||
| CoMat 07-038 AIR DRYING ENAMEL | K3504 | CoMat 07-038 |
Spares
NONESafety Requirements
NONEProcedure
Refer to the SPM TASK 70-11-03-300-503.
Chemically clean the ring seal carrier assembly.
SUBTASK 72-32-23-110-057 Clean the Assembly
Refer to the SPM TASK 70-11-14-300-503.
Use a paint brush and CoMat 01-005 SOLVENT CLEANER.
Chemically clean the area(s) for repair.
SUBTASK 72-32-23-110-070 Clean the Repair Area(s)
Refer to the SPM TASK 70-38-21-380-501, SUBTASK 70-38-21-380-010.
Use CoMat 07-037 CORROSION RESISTANT TOUCH-UP COATING or CoMat 07-038 AIR DRYING ENAMEL, applied with a paint brush.
Touch-up the damaged coating.
SUBTASK 72-32-23-380-057 Touch-up the Damaged Coating
Refer to the SPM TASK 70-09-00-400-501, SUBTASK 70-09-00-400-002.
Use CoMat 06-073 INK, METAL MARKING and CoMat 07-024 AEROLAC METAL PROTECTIVE VARNISH, CLEAR, applied with a paint brush.
Mark on the part number if it has been removed during touch-up repair.
Re-identify the assembly part number (as necessary).
SUBTASK 72-32-23-350-082 Identify the Part
Refer to the SPM TASK 70-11-03-300-503.
Chemically clean the seal ring carrier assembly.
SUBTASK 72-32-23-110-071 Clean the Assembly
Refer to Repair VRS6113, TASK 72-32-23-300-009 (REPAIR-009).
Discard the retainer.
NOTE
Do not discard the seal ring.
Remove the retainer and seal ring.
SUBTASK 72-32-23-320-054 Remove the Retainer and Seal Ring
Refer to TASK 72-32-23-100-000 (CLEANING-000).
Remove the paint from the seal ring carrier.
SUBTASK 72-32-23-110-072 Remove the Paint
Refer to TASK 72-32-23-200-000 (INSPECTION-000).
Use penetrant crack test equipment.
Penetrant crack test the seal ring carrier and seal ring.
SUBTASK 72-32-23-230-068 Do a Crack Test
Refer to the SPM TASK 70-11-03-300-503.
Chemically clean the seal ring carrier and seal ring.
SUBTASK 72-32-23-110-073 Chemically Clean
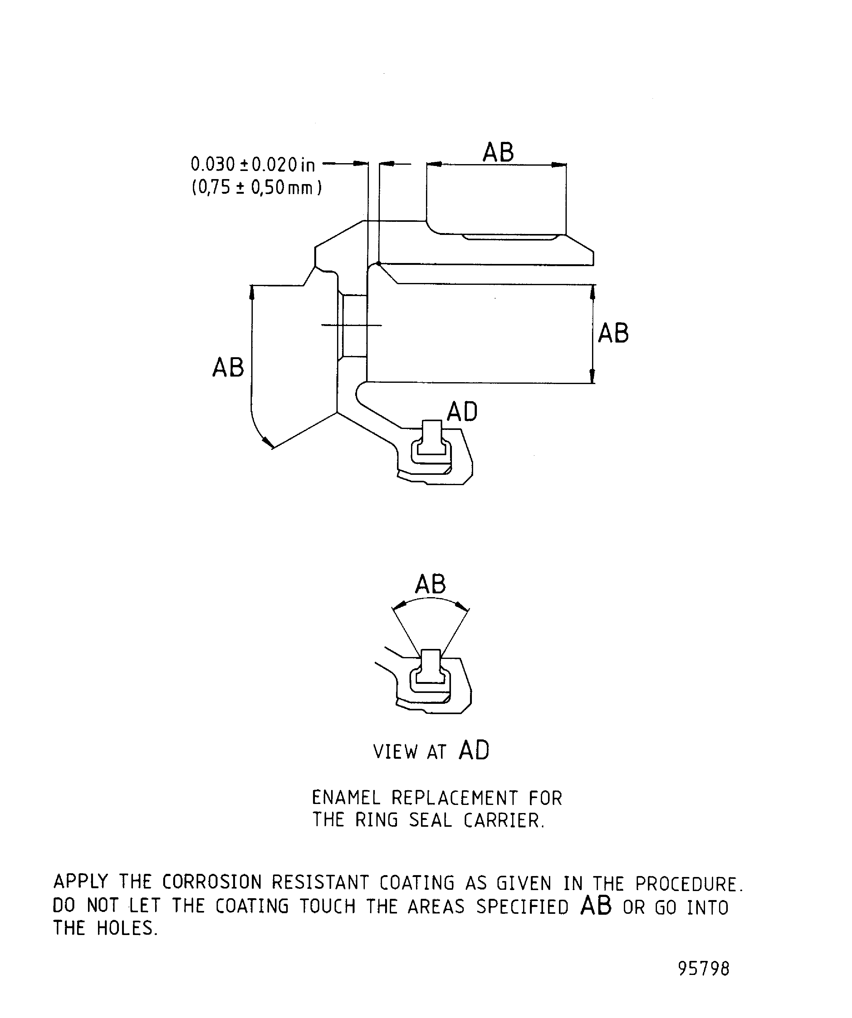
Refer to Figure.
Refer to the SPM TASK 70-12-02-120-501.
Abrasive blast the areas to be painted.
SUBTASK 72-32-23-120-052-A00 Abrasive Blast, Assembly A
Refer to Figure.
Refer to the SPM TASK 70-12-02-120-501.
Abrasive blast the area to be painted.
SUBTASK 72-32-23-120-052-B00 Abrasive Blast, Assembly B
Refer to Figure.
Refer to the SPM TASK 70-12-02-120-501.
Abrasive blast the area to be painted.
SUBTASK 72-32-23-120-052-C00 Abrasive Blast, Assembly C
Refer to Figure.
Refer to TASK 70-38-21-380-501, SUBTASK 70-38-21-380-007 (type B coating).
NOTE
Remove the masking tape before you stove the corrosion resistant coating.
Apply the surface protection.
SUBTASK 72-32-23-380-054-A00 Apply the Surface Protection, Assembly A
Refer to Figure.
Refer to the SPM TASK 70-38-21-380-501, SUBTASK 70-38-21-380-007 (type B coating).
NOTE
Remove the masking tape before you stove the corrosion resistant coating.
Apply the surface protection.
SUBTASK 72-32-23-380-054-B00 Apply the Surface Protection, Assembly B
Refer to Figure.
Refer to the SPM TASK 70-38-21-380-501, SUBTASK 70-38-21-380-007 (type B coating).
NOTE
Remove the masking tape before you stove the corrosion resistant coating.
Apply the surface protection.
SUBTASK 72-32-23-380-054-C00 Apply the Surface Protection, Assembly C
Refer to the SPM TASK 70-38-21-380-501, SUBTASK 70-38-21-220-001 (type B coating).
Examine the surface protection.
Use a Conductivity meter.
Do a conductivity check.
SUBTASK 72-32-23-220-062 Examine the Surface Protection
Refer to VRS6113, TASK 72-32-23-300-009, (REPAIR-009).
NOTE
Install a new or the initial seal ring as necessary.
Assemble the seal ring carrier, seal ring and retainer.
SUBTASK 72-32-23-320-055 Install the Seal Ring and Retainer

CAUTION
DO NOT DAMAGE THE SURFACE PROTECTION.Use CoMat 06-073 INK, METAL MARKING and CoMat 07-024 AEROLAC METAL PROTECTIVE VARNISH, CLEAR clear, applied with a paint brush.
Mark on the part number adjacent to the existing markings which are under the surface protection.
Refer to the SPM TASK 70-09-00-400-501, SUBTASK 70-09-00-400-002.
Re-identify the assembly part number.
SUBTASK 72-32-23-350-058 Identify the Repair and the Part
Figure: Repair details and dimensions - Assembly A
Repair details and dimensions - Assembly A

Figure: Repair details and dimensions - Assembly B
Repair details and dimensions - Assembly B

Figure: Repair details and dimensions - Assembly C
Repair details and dimensions - Assembly C

