Export Control
EAR Export Classification: Not subject to the EAR per 15 C.F.R. Chapter 1, Part 734.3(b)(3), except for the following Service Bulletins which are currently published as EAR Export Classification 9E991: SBE70-0992, SBE72-0483, SBE72-0580, SBE72-0588, SBE72-0640, SBE73-0209, SBE80-0024 and SBE80-0025.Copyright
© IAE International Aero Engines AG (2001, 2014 - 2021) The information contained in this document is the property of © IAE International Aero Engines AG and may not be copied or used for any purpose other than that for which it is supplied without the express written authority of © IAE International Aero Engines AG. (This does not preclude use by engine and aircraft operators for normal instructional, maintenance or overhaul purposes.).Applicability
All
Common Information
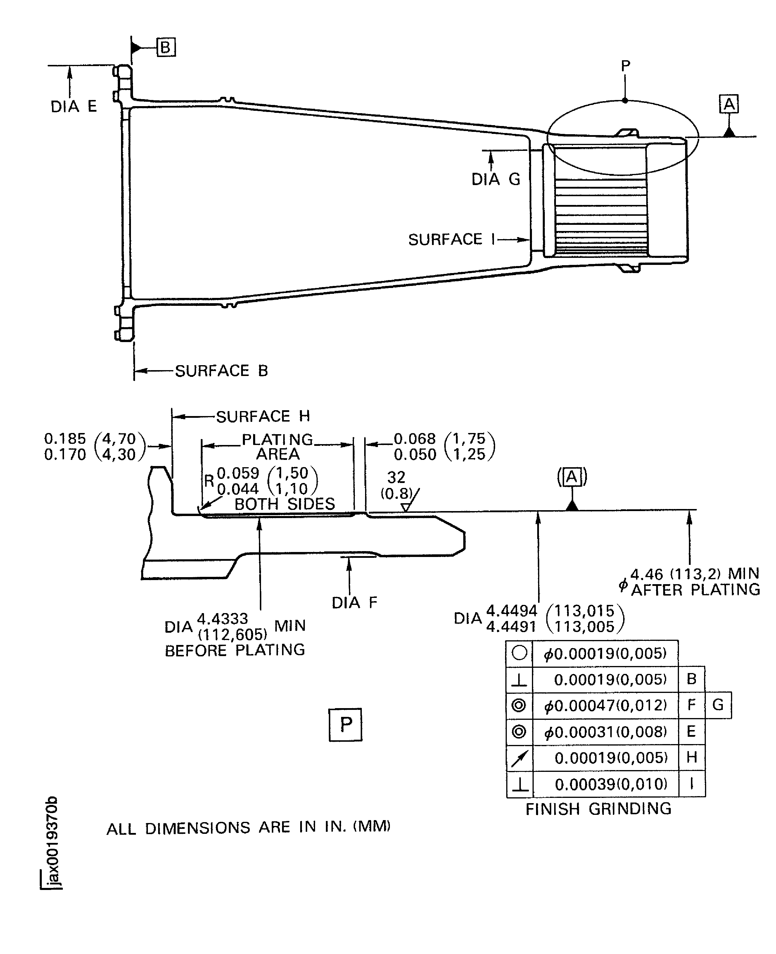
TASK 72-32-51-300-011 LP Stub Shaft - Apply Chromium Plating to The Stub Shaft Assembly, Repair-011 (VRS1291)
General
Price and availability - none
NOTE
Preliminary Requirements
Pre-Conditions
NONESupport Equipment
| Name | Manufacturer | Part Number / Identification | Quantity | Remark |
|---|---|---|---|---|
| Vibrating marking pencil | LOCAL | Vibrating marking pencil | ||
| Chromium plate equipment | LOCAL | Chromium plate equipment | ||
| Magnetic particle inspection equipment | LOCAL | Magnetic particle inspection equipment | ||
| Grinding machine | LOCAL | Grinding machine | ||
| IAE 3J12733Fixture | 0AM53 | IAE 3J12733 | 1 |
Consumables, Materials and Expendables
NONESpares
NONESafety Requirements
NONEProcedure
Use IAE 3J12733Fixture 1 off.
All previous plating must be removed, but keep metal removal to a minimum.
Grind off the diameter A and/or diameter K to the specified dimensions (before plating).
SUBTASK 72-32-51-330-051 Remove Faulty Chromium Plating
Refer to the SPM TASK 70-33-02-100-501.
Heat treat the part for one hour at 374 to 410 deg F (190 to 210 deg C).
SUBTASK 72-32-51-370-051 Stress Relieve the Stub Shaft Assembly after Plate Stripping
Refer to TASK 72-32-51-200-000 (INSPECTION-000).
No cracks are permitted.
Magnetic particle examine the repaired area.
SUBTASK 72-32-51-230-055 Examine the Stub Shaft Assembly for Cracks
Refer to the SPM TASK 70-33-02-300-503.
Clean the part.
Refer to the SPM TASK 70-38-24-380-501.
Mask all the surface except plating area.
SUBTASK 72-32-51-330-052 Prepare the Stub Shaft Assembly for Plating
Refer to the SPM TASK 70-33-02-300-503.
Alkali clean the part.
SUBTASK 72-32-51-380-055 Alkali Clean the Stub Shaft
Refer to the SPM TASK 70-33-02-300-503.
Soak the part in a standard chromium plating solution for sufficient time to achieve the diameter A and/or K to the specified dimensions (after plating).
Refer to the SPM TASK 70-33-02-300-503.
Treatment after plating.
SUBTASK 72-32-51-330-053 Chromium Plate the Stub Shaft Assembly
Refer to TASK 72-32-51-200-000 (INSPECTION-000).
Visually examine the chromium partical for the following: Pits, Visible cracks, Burning and Excessive build up of corner.
Refer to TASK 72-32-51-200-000 (INSPECTION-000).
Dimensionally check the plated area for diameter A and/or K (after plating).
SUBTASK 72-32-51-220-099 Examine the Stub Shaft Assembly after Plating
Refer to the SPM TASK 70-33-02-300-503.
Use IAE 3J12733Fixture 1 off.
Grind the diameter A and/or K to the specified dimensions (finish grinding).
SUBTASK 72-32-51-320-054 Grind the Stub Shaft Assembly after Plating
Refer to TASK 72-32-51-200-000 (INSPECTION-000).
Visually examine the ground area for pits and cracks.
SUBTASK 72-32-51-230-056 Examine the Stub Shaft Assembly after Grinding
Refer to the SPM TASK 70-09-00-400-501.
If this is the first repair on diameter A to this scheme, then vibro-engrave /A adjacent to the scheme number.
If this is the first repair on diameter K to this scheme, then vibro-engrave /K adjacent to the scheme number.
Write VRS1291, adjacent to part number.
SUBTASK 72-32-51-230-057 Mark Repair Number on the Stub Shaft Assembly
Figure: Apply chromium plating - stub shaft assembly
Apply chromium plating - stub shaft assembly

Figure: Apply chromium plating - stub shaft assembly
Apply chromium plating - stub shaft assembly

