Export Control
EAR Export Classification: Not subject to the EAR per 15 C.F.R. Chapter 1, Part 734.3(b)(3), except for the following Service Bulletins which are currently published as EAR Export Classification 9E991: SBE70-0992, SBE72-0483, SBE72-0580, SBE72-0588, SBE72-0640, SBE73-0209, SBE80-0024 and SBE80-0025.Copyright
© IAE International Aero Engines AG (2001, 2014 - 2021) The information contained in this document is the property of © IAE International Aero Engines AG and may not be copied or used for any purpose other than that for which it is supplied without the express written authority of © IAE International Aero Engines AG. (This does not preclude use by engine and aircraft operators for normal instructional, maintenance or overhaul purposes.).Applicability
All
Common Information
TASK 72-32-71-300-017 LPC Bleed Valve Support Ring - Repair Surface Damage By Blending, Repair-017 (VRS1746)
General
Price and availability - none
The practices and processes referred to in the procedure by the TASK numbers are in the SPM.
NOTE
Preliminary Requirements
Pre-Conditions
NONESupport Equipment
| Name | Manufacturer | Part Number / Identification | Quantity | Remark |
|---|---|---|---|---|
| Fluorescent Penetrant Inspection Equipment | LOCAL | Fluorescent penetrant inspection equipment | ||
| Magnifying glass, 10x | LOCAL | Magnifying glass, 10x |
Consumables, Materials and Expendables
| Name | Manufacturer | Part Number / Identification | Quantity | Remark |
|---|---|---|---|---|
| CoMat 05-020 WATERPROOF SILICON CARBIDE | LOCAL | CoMat 05-020 | ||
| CoMat 05-021 WATERPROOF SILICON CARBIDE | 44197 | CoMat 05-021 | ||
| CoMat 01-275 CHROMATE CONVERSION COATING FOR ALUMINIUM | LOCAL | CoMat 01-275 |
Spares
NONESafety Requirements
NONEProcedure
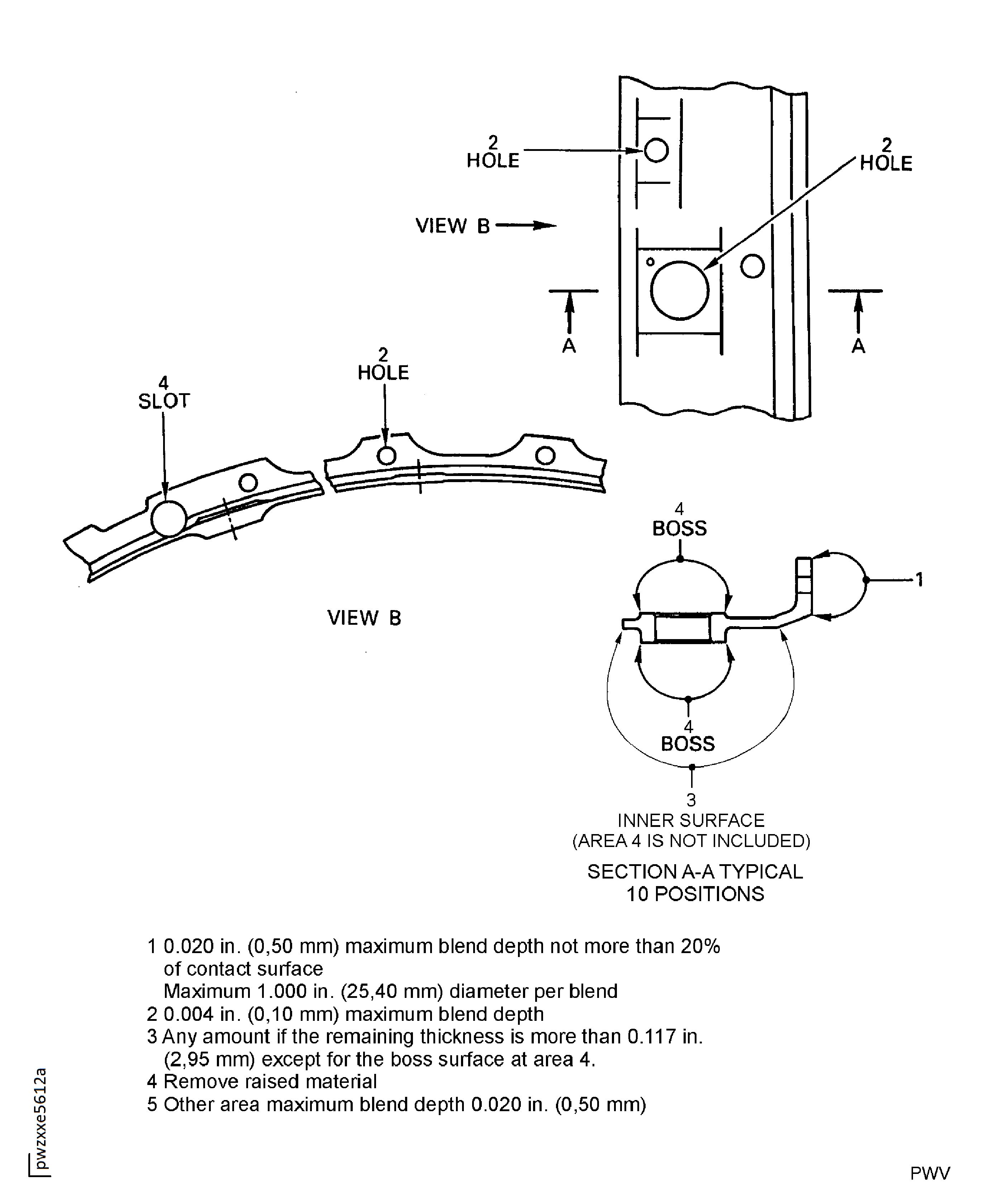
Surface finish of the repair must be the same as the adjacent area.
Refer to Figure.
Refer to SPM TASK 70-35-03-300-501.
Use abrasive stones or papers and/or fine file.
Scallop, make smooth and/or hand polish to remove nicks, scratches and burrs.
SUBTASK 72-32-71-350-071 Repair the Damage to the Support Ring Assembly
Refer to TASK 72-32-71-200-000 (INSPECTION-000).
Visually examine the repaired area.
SUBTASK 72-32-71-220-133 Examine the Support Ring Assembly
Refer to SPM TASK 70-23-05-230-501.
Fluorescent penetrant examine the repaired area.
SUBTASK 72-32-71-230-077 Examine the Support Ring Assembly for Cracks
Refer to SPM TASK 70-11-26-300-503.
Remove the grease from the repaired area.
SUBTASK 72-32-71-110-058 Remove the Grease from the Support Ring Assembly
Use CoMat 01-275 CHROMATE CONVERSION COATING FOR ALUMINIUM for aluminum.
Refer to SPM TASK 70-38-02-300-503.
Apply a chromate conversion coating to the repaired area.
SUBTASK 72-32-71-330-053 Apply Surface Protection to the Support Ring Assembly
Figure: Support Ring Assembly - Blend Limits
Support Ring Assembly - Blend Limits

