Export Control
EAR Export Classification: Not subject to the EAR per 15 C.F.R. Chapter 1, Part 734.3(b)(3), except for the following Service Bulletins which are currently published as EAR Export Classification 9E991: SBE70-0992, SBE72-0483, SBE72-0580, SBE72-0588, SBE72-0640, SBE73-0209, SBE80-0024 and SBE80-0025.Copyright
© IAE International Aero Engines AG (2001, 2014 - 2021) The information contained in this document is the property of © IAE International Aero Engines AG and may not be copied or used for any purpose other than that for which it is supplied without the express written authority of © IAE International Aero Engines AG. (This does not preclude use by engine and aircraft operators for normal instructional, maintenance or overhaul purposes.).Applicability
All
Common Information
TASK 72-32-72-300-008 LPC Bleed Valve Ring - Repair The Worn Pin Holes By Bush, Repair-008 (VRS1360)
General
Price and availability - none
The practice and processes referred to in the procedure by TASK/SUBTASK numbers are in the SPM.
NOTE
Preliminary Requirements
Pre-Conditions
NONESupport Equipment
| Name | Manufacturer | Part Number / Identification | Quantity | Remark |
|---|---|---|---|---|
| Standard workshop equipment | LOCAL | Standard workshop equipment | ||
| Horizontal boring mill | LOCAL | Horizontal boring mill | ||
| Rotary table | LOCAL | Rotary table | ||
| Penetrant Crack Test Equipment | LOCAL | Penetrant crack test equipment | ||
| Dial bore gage | LOCAL | Dial bore gage | ||
| Oven | LOCAL | Oven | ||
| Vibrating marking pencil | LOCAL | Vibrating marking pencil | ||
| Dial set indicator | LOCAL | Dial set indicator | ||
| External micrometer | LOCAL | External micrometer | ||
| IAE 3J12852 Machining fixture | 0AM53 | IAE 3J12852 | 1 | |
| IAE 3J12853 Pin hole location gage | 0AM53 | IAE 3J12853 | 1 |
Consumables, Materials and Expendables
NONESafety Requirements
NONEProcedure
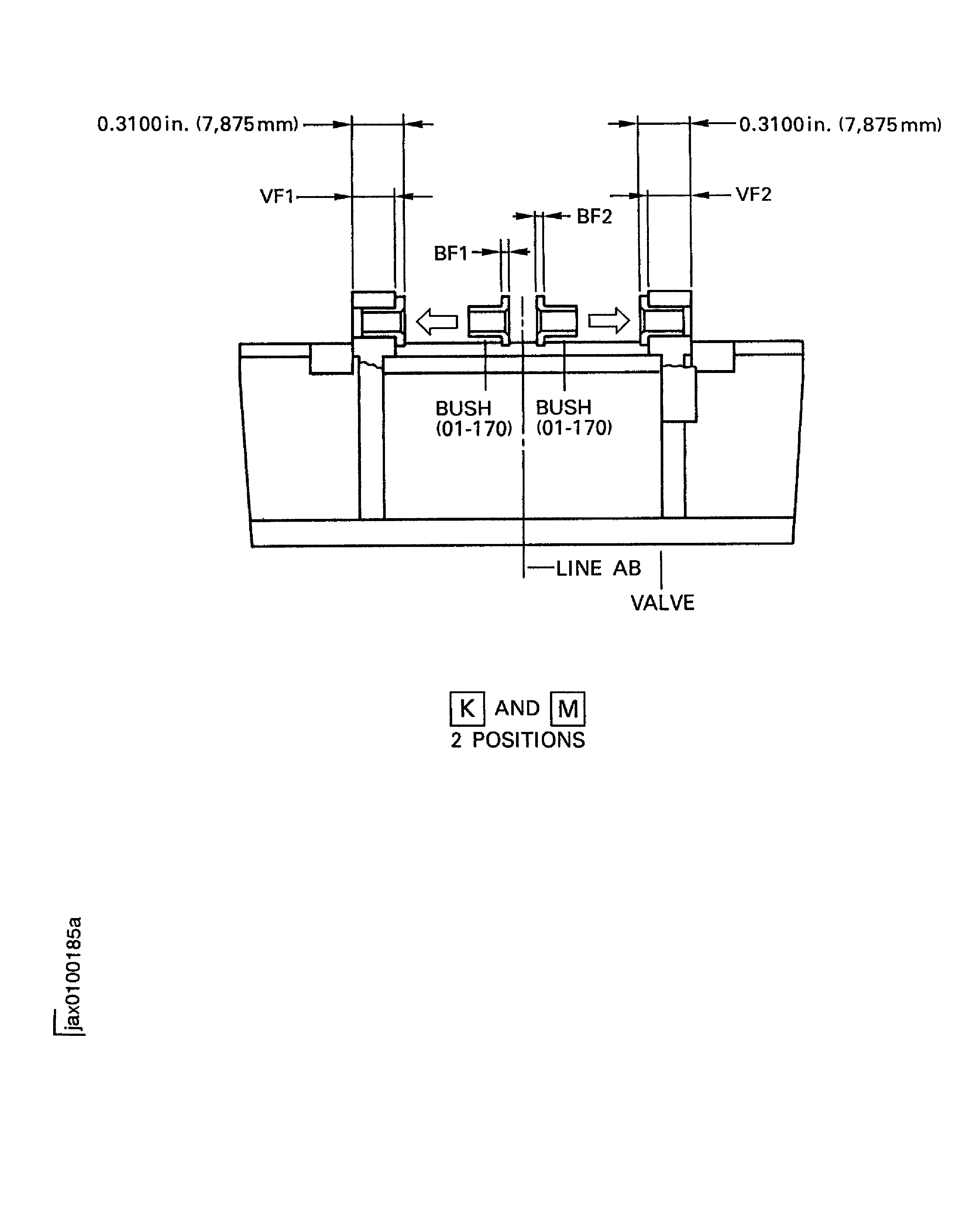
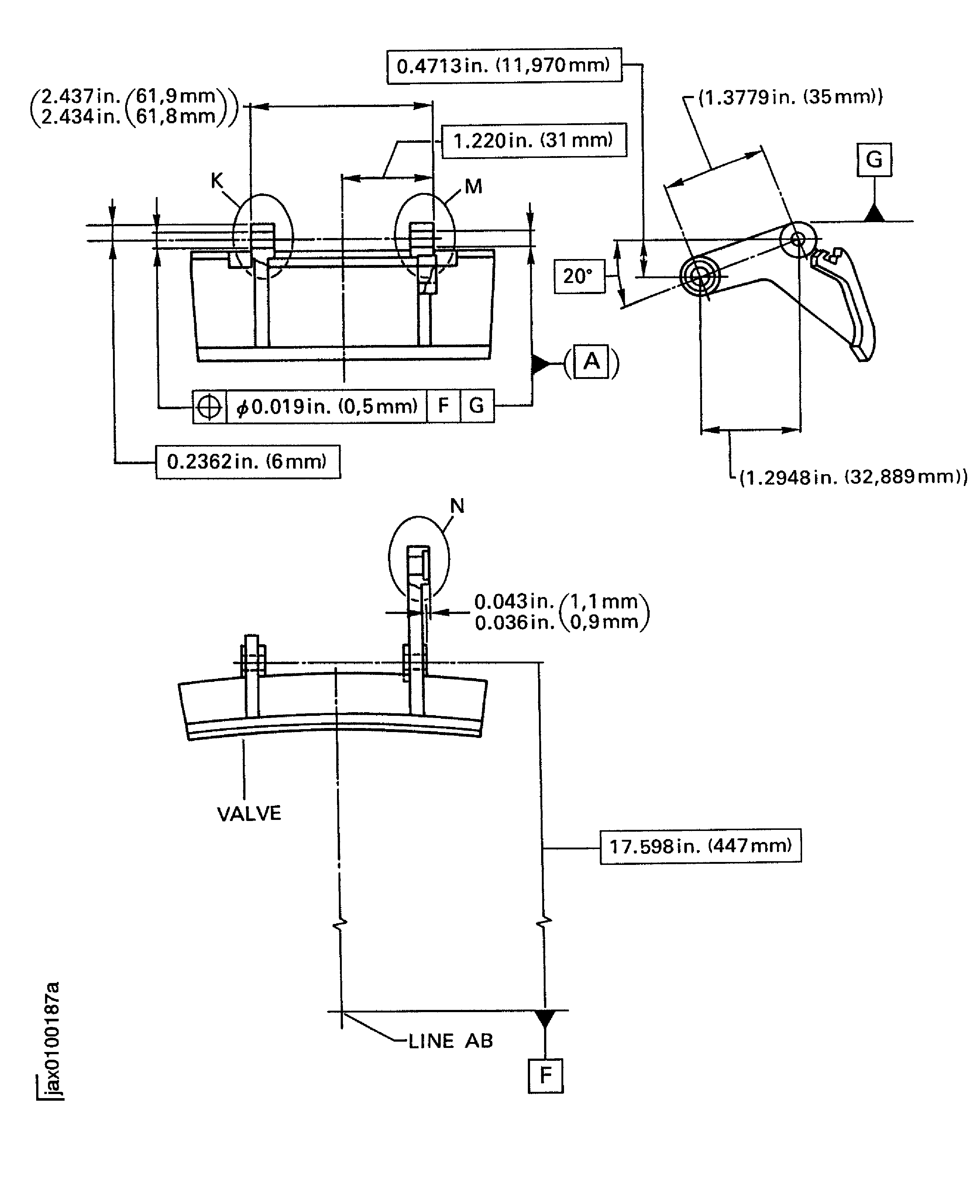
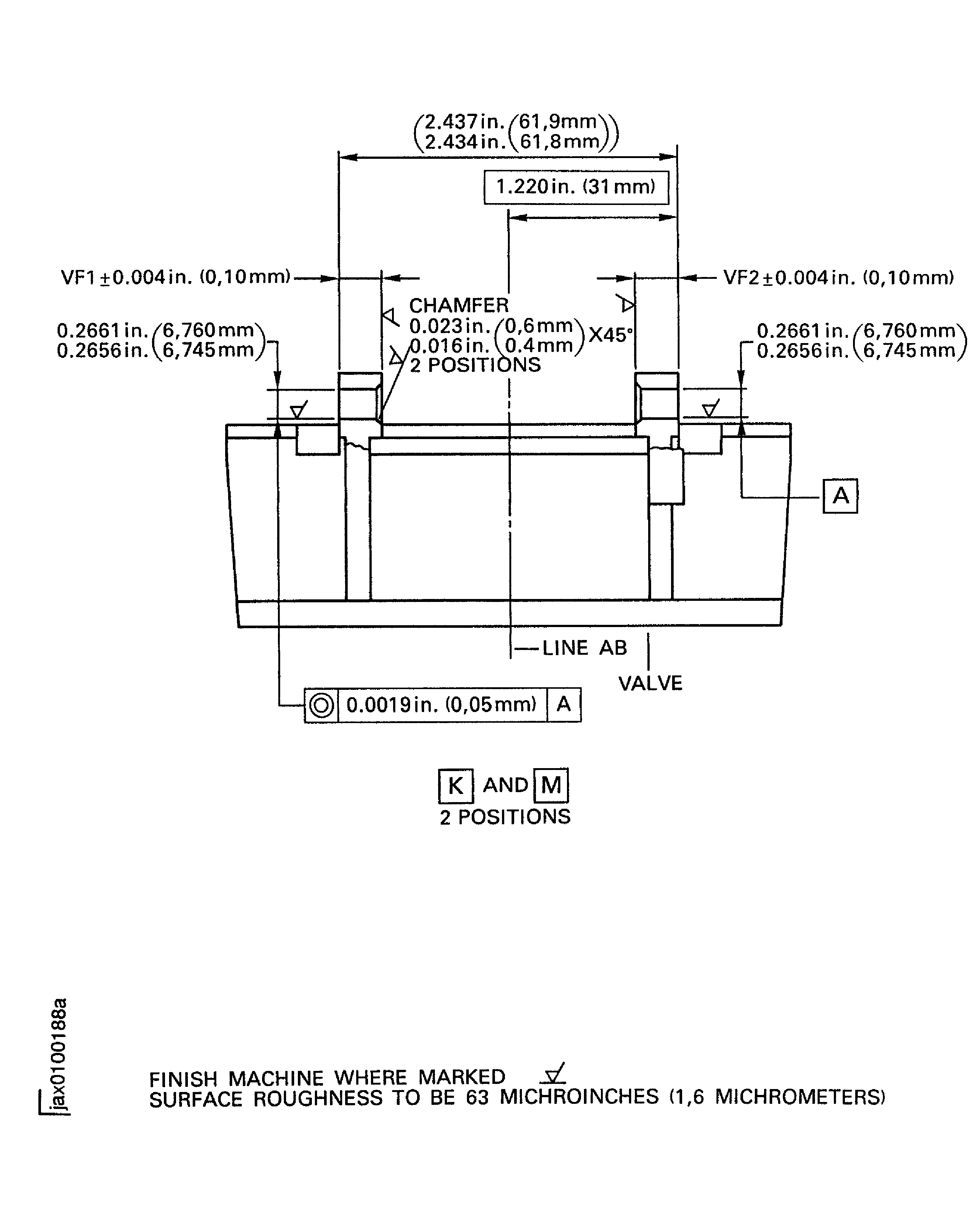
Refer to Figure.
SUBTASK 72-32-72-220-088 Examine the Valve Pin Hole Bush
Use Rotary table and Horizontal boring mill.
Set a rotary table on to the horizontal boring machine.
Use IAE 3J12852 Machining fixture 1 off.
Put machining fixture on to the boring machine.
Use Dial set indicator.
Set machining fixture by surface B and C given in the figure.
SUBTASK 72-32-72-320-051 Machine the Worn Pin Hole(s) on the Valve
Use External micrometer.
Use dial bore gage.
Measure the dimensions of the pin hole and thickness on the valve.
SUBTASK 72-32-72-220-089 Examine the Machined Valve
Refer to the SPM TASK 70-23-02-230-501.
No cracks are permitted.
Do a penetrant crack test on the machined area.
SUBTASK 72-32-72-230-060 Examine the Machined Pin Hole and Face of the Valve for Cracks
Refer to the SPM TASK 70-38-02-300-503, SUBTASK 70-38-02-300-002.
Apply the chromate conversion coating to the machined pin hole and face of the valve.
SUBTASK 72-32-72-380-057 Apply the Chromate Conversion Coating to the Valve
Use an Oven.
Heat the valve at 320 to 392 deg F (160 to 200 deg C) for 30 minutes.
Use 5A1799 (01-160) bush and/or 5A1800 (01-170) bush.
Use Standard workshop equipment with heat protective grooves.
Install the bush(es) to the valve.
SUBTASK 72-32-72-350-059 Install the Bush(es) (01-160 and/or 01-170) to the Valve
Refer to the SPM TASK 70-09-00-400-501, SUBTASK 70-09-00-400-001.
Make a mark VRS1360 adjacent to the part number.
Refer to the SPM TASK 70-38-02-300-503.
Apply the chromate conversion coating to the marked letter.
SUBTASK 72-32-72-350-060 Identify the Repair
Figure: Repair details and dimensions
Repair details and dimensions

Figure: Repair details and dimensions (Machining fixture)
Repair details and dimensions (Machining fixture)

Figure: Repair details and dimensions
Repair details and dimensions

Figure: Repair details and dimensions
Repair details and dimensions

Figure: Repair details and dimensions
Repair details and dimensions

Figure: Repair details and dimensions
Repair details and dimensions

Figure: Repair details and dimensions
Repair details and dimensions

