Export Control
EAR Export Classification: Not subject to the EAR per 15 C.F.R. Chapter 1, Part 734.3(b)(3), except for the following Service Bulletins which are currently published as EAR Export Classification 9E991: SBE70-0992, SBE72-0483, SBE72-0580, SBE72-0588, SBE72-0640, SBE73-0209, SBE80-0024 and SBE80-0025.Copyright
© IAE International Aero Engines AG (2001, 2014 - 2021) The information contained in this document is the property of © IAE International Aero Engines AG and may not be copied or used for any purpose other than that for which it is supplied without the express written authority of © IAE International Aero Engines AG. (This does not preclude use by engine and aircraft operators for normal instructional, maintenance or overhaul purposes.).Applicability
All
Common Information
TASK 72-32-73-300-003 LPC Bleed Valve Synchronizing Ring - Repair The Worn Pin Hole By Bush, Repair-003 (VRS1361)
General
Price and availability - none
The practices and processes referred to in the procedure by the TASK numbers are in the SPM.
NOTE
Preliminary Requirements
Pre-Conditions
NONESupport Equipment
| Name | Manufacturer | Part Number / Identification | Quantity | Remark |
|---|---|---|---|---|
| Standard workshop equipment | LOCAL | Standard workshop equipment | ||
| Horizontal boring machine | LOCAL | Horizontal boring machine | ||
| Rotary table | LOCAL | Rotary table | ||
| Penetrant Crack Test Equipment | LOCAL | Penetrant crack test equipment | ||
| Dial bore gage | LOCAL | Dial bore gage | ||
| Vibrating marking pencil | LOCAL | Vibrating marking pencil | ||
| IAE 3J12790 Machining fixture | 0AM53 | IAE 3J12790 | 1 |
Consumables, Materials and Expendables
NONESpares
NONESafety Requirements
NONEProcedure
Use Rotary table and Horizontal boring machine.
Set a rotary table onto the horizontal boring machine.
Use IAE 3J12790 Machining fixture 1 off.
Put the machining fixture onto the boring machine.
SUBTASK 72-32-73-320-051 Machine the Worn Pin Hole(s)
Use Dial bore gage.
Measure the dimension of the machined pin hole(s).
SUBTASK 72-32-73-220-064 Examine the Machined Pin Hole(s)
Refer to the SPM TASK 70-23-02-230-501.
Use penetrant crack test equipment.
Do a penetrant crack test on the machined pin hole(s).
SUBTASK 72-32-73-230-052 Examine the Machined Pin Hole(s) of the Synchronize Ring Assembly for Cracks
Refer to the SPM TASK 70-38-02-300-503, SUBTASK 70-38-02-300-002.
Apply the chromate conversion coating to the machined pin hole(s).
SUBTASK 72-32-73-380-052 Apply the Chromate Conversion Coating to the Synchronize Ring Assembly
Refer to the SPM TASK 70-09-00-400-501, SUBTASK 70-09-00-400-001.
Make a mark adjacent to the part number.
SUBTASK 72-32-73-350-054 Identify the Repair
Figure: Set the synchronize ring onto machining fixture
Set the synchronize ring onto machining fixture

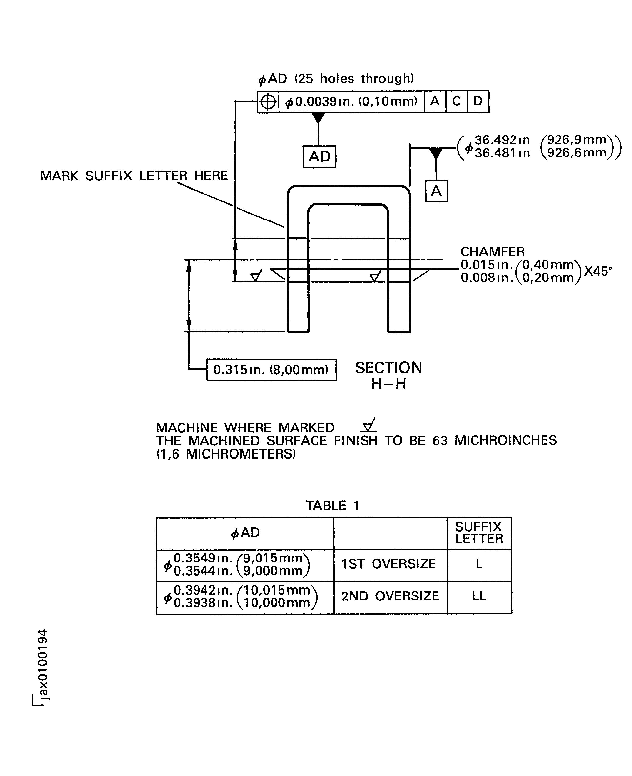
Figure: Repair details and dimensions
Repair details and dimensions

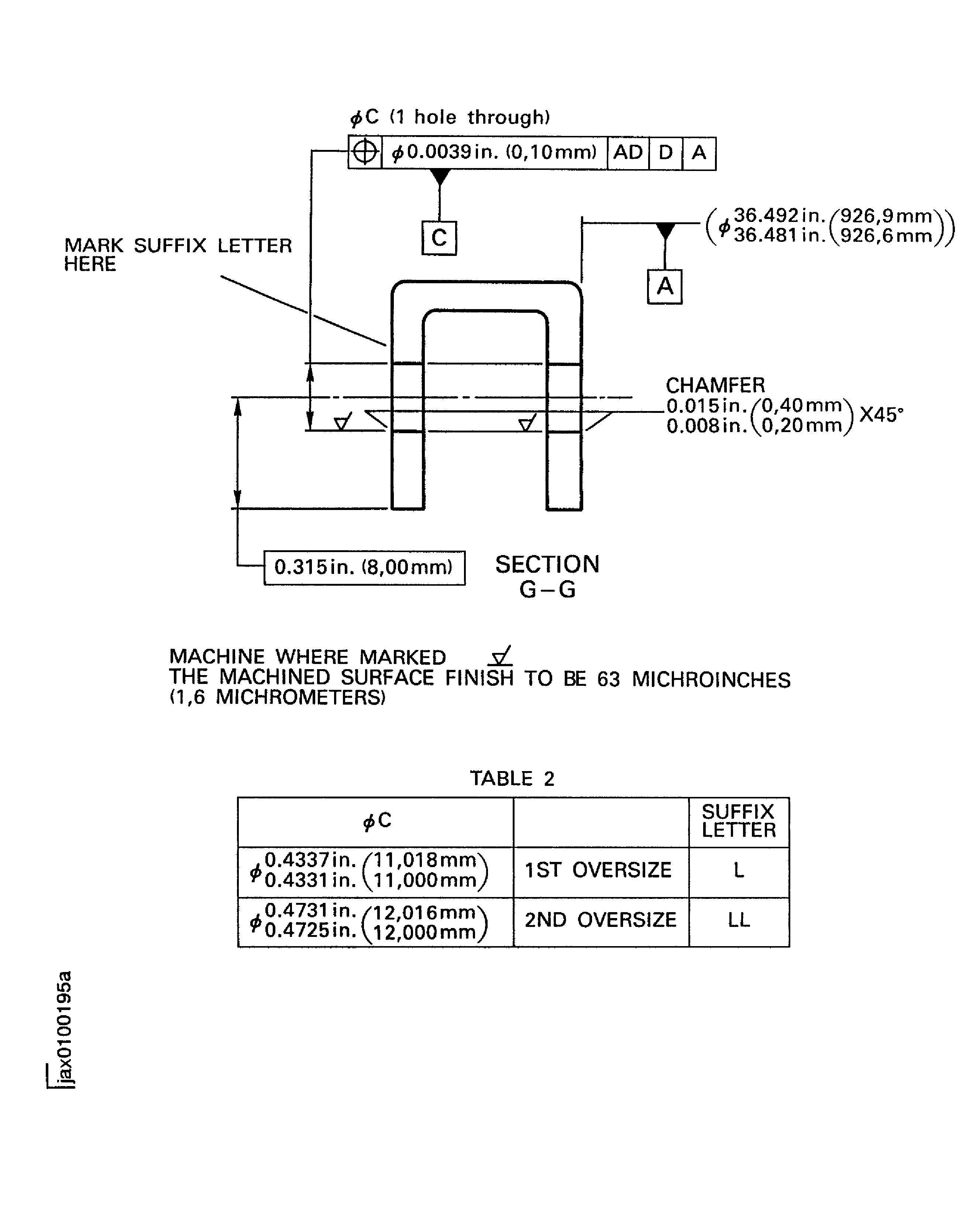
Figure: Repair details and dimensions
Repair details and dimensions

Figure: Repair details and dimensions
Repair details and dimensions

Figure: Repair details and dimensions
Repair details and dimensions

