Export Control
EAR Export Classification: Not subject to the EAR per 15 C.F.R. Chapter 1, Part 734.3(b)(3), except for the following Service Bulletins which are currently published as EAR Export Classification 9E991: SBE70-0992, SBE72-0483, SBE72-0580, SBE72-0588, SBE72-0640, SBE73-0209, SBE80-0024 and SBE80-0025.Copyright
© IAE International Aero Engines AG (2001, 2014 - 2021) The information contained in this document is the property of © IAE International Aero Engines AG and may not be copied or used for any purpose other than that for which it is supplied without the express written authority of © IAE International Aero Engines AG. (This does not preclude use by engine and aircraft operators for normal instructional, maintenance or overhaul purposes.).Applicability
All
Common Information
TASK 72-32-83-300-014 LPC Stage 2 Stator - Replace The Abradable Seal, Repair-014 (VRS1400)
Material of component
PART IDENT | SYMBOL | MATERIAL |
|---|---|---|
LPC stage 2 vane | Vane: Titanium alloy Inner ring: Aluminum alloy |
General
Price and availability - none
NOTE
NOTE
Preliminary Requirements
Pre-Conditions
NONESupport Equipment
| Name | Manufacturer | Part Number / Identification | Quantity | Remark |
|---|---|---|---|---|
| Dry blast cabinet | LOCAL | Dry blast cabinet | ||
| Hardness tester (durometer) | LOCAL | Hardness tester (durometer) | ||
| Injector | LOCAL | Injector | (air pressure type) | |
| IAE 3J12136 Molding fixture | 0AM53 | IAE 3J12136 | 1 | (Alternative to IAE 3J12721) |
| IAE 3J12721 Molding fixture | 0AM53 | IAE 3J12721 | 1 | (Alternative to IAE 3J12136) |
| IAE 3J12775 Bond test fixture | 0AM53 | IAE 3J12775 | 1 | |
| IAE 3J12785 Inspection stand | 0AM53 | IAE 3J12785 | 1 |
Consumables, Materials and Expendables
| Name | Manufacturer | Part Number / Identification | Quantity | Remark |
|---|---|---|---|---|
| CoMat 02-005 ADHESIVE TAPE (MASKING) | LOCAL | CoMat 02-005 | ||
| CoMat 02-099 LINT-FREE CLOTH | LOCAL | CoMat 02-099 | ||
| CoMat 05-050 SILICON CARBIDE GRIT | 1E1X8 | CoMat 05-050 | ||
| CoMat 08-032 PRIMER | LOCAL | CoMat 08-032 | ||
| CoMat 08-037 DELETED | LOCAL | CoMat 08-037 | ||
| CoMat 08-038 SILICONE RUBBER COMPOUND | 64101 | CoMat 08-038 |
Spares
NONESafety Requirements
NONEProcedure
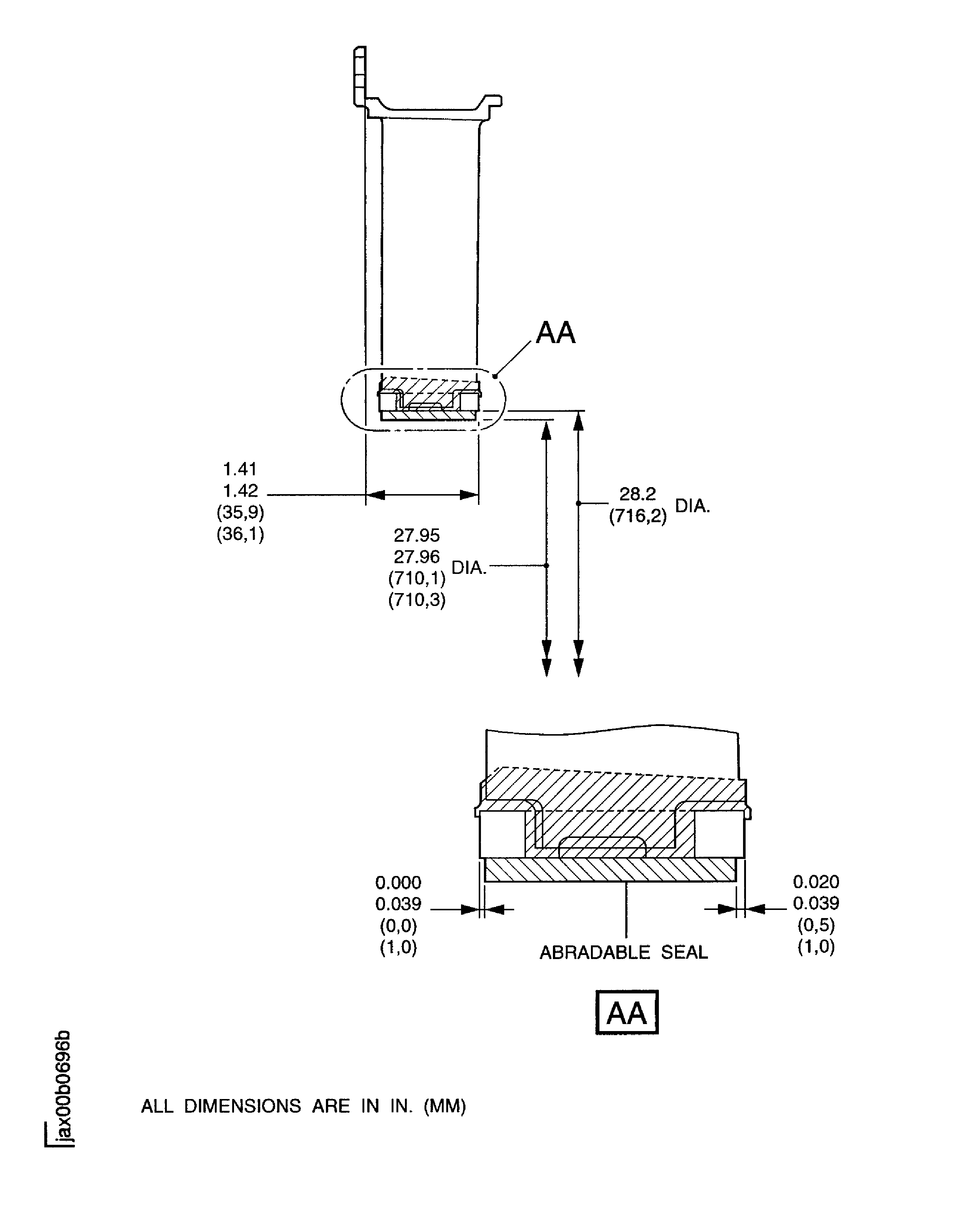
Refer to Figure.
SUBTASK 72-32-83-360-062 Remove the Damaged Abradable Seal
Refer to Figure.
Refer to the SPM TASK 70-36-06-360-501.
Wipe blasted surface.
SUBTASK 72-32-83-120-053 Clean the Surfaces which are to be Applied the Silicone Rubber Compound
Refer to the SPM TASK 70-36-06-360-501.
NOTE
The primed surface must have a faintly visible pink coloration. If there is no visible coloration, the primer film may not be continuous. If the color is quite bright, streaky bright or chalky, the primer is too thick.Keep the primer in small container for single usage only. The remaining primer must not be used.Immediately after air dry, apply a very thin coat (thickness 0.0001 in. (0.003 mm)) of primer to mold surface using unsized cheese cloth.
Refer to the SPM TASK 70-36-06-360-501.
Cure the primed surface.
SUBTASK 72-32-83-360-063 Apply Primer to the Surfaces after Cleaning
Refer to the SPM TASK 70-36-06-360-501.
NOTE
Silicone rubber compound has a shelf life of six months from date of shipment.Compound as received has been kept at temperature not higher than 90 deg F (32 deg C).Shelf life extension is based on both viscosity and storage temperature.NOTE
Resin and catalyst in each kit are chemically matched. Do not mix with components of other kits.Mix silicone rubber compound using the mixer with a drill press between 70 and 80 deg F (21 and 27 deg C) for 20 to 30 minutes.
SUBTASK 72-32-83-360-064 Mix the Silicone Rubber Compound
Use IAE 3J12136 Molding fixture 1 off or IAE 3J12721 Molding fixture 1 off.
Clean the molding fixture.
SUBTASK 72-32-83-360-065 Mold the Silicone Rubber Compound
Refer to the SPM TASK 70-36-06-360-501.
Cure the compound.
Refer to the SPM TASK 70-36-06-360-501.
Cure the compound.
SUBTASK 72-32-83-360-066 Cure the Silicone Rubber Compound
Refer to the SPM TASK 70-36-06-360-501.
Refer to TASK 72-32-83-200-000 (INSPECTION-000).
Visually examine the repaired area.
SUBTASK 72-32-83-220-097 Examine the Repaired Area
Refer to Figure.
Use IAE 3J12775 Bond test fixture 1 off and IAE 3J12785 Inspection stand 1 off.
No signs of bulging or air leakage are permitted.
NOTE
Bond test shall be done after curing (bake) of rubber on the following conditions.Inspection gas: Air or nitrogen gas.Gas pressure: 200 psi (1380 kpa).Inspection position: Refer to Figure vary the pattern as necessary to inspect partial repaired areas.Probe angle: Approximately 45 degrees.Do a bond test to the repaired area.
SUBTASK 72-32-83-220-098 Do a Bond Test to the Repaired Area
Figure: Repair Details and Dimensions
Repair Details and Dimensions

Figure: Repair Details and Dimensions
Repair Details and Dimensions

Figure: Repair Details and Dimensions
Repair Details and Dimensions

