Export Control
EAR Export Classification: Not subject to the EAR per 15 C.F.R. Chapter 1, Part 734.3(b)(3), except for the following Service Bulletins which are currently published as EAR Export Classification 9E991: SBE70-0992, SBE72-0483, SBE72-0580, SBE72-0588, SBE72-0640, SBE73-0209, SBE80-0024 and SBE80-0025.Copyright
© IAE International Aero Engines AG (2001, 2014 - 2021) The information contained in this document is the property of © IAE International Aero Engines AG and may not be copied or used for any purpose other than that for which it is supplied without the express written authority of © IAE International Aero Engines AG. (This does not preclude use by engine and aircraft operators for normal instructional, maintenance or overhaul purposes.).Applicability
All
Common Information
TASK 72-32-83-300-003 LPC Rear Case - Blend Repair, Repair-003 (VRS1396)
Material of component
DESCRIPTION | SYMBOL | MATERIAL |
|---|---|---|
LPC rear case assembly | 2.3Cu-1.6Mg-1.1Fe-1.0Ni-0.18Si-0.07Ti Aluminum |
General
Price and availability - none
The practices and processes referred to in the procedure by the TASK numbers are in the SPM.
NOTE
Preliminary Requirements
Pre-Conditions
NONESupport Equipment
NONEConsumables, Materials and Expendables
| Name | Manufacturer | Part Number / Identification | Quantity | Remark |
|---|---|---|---|---|
| CoMat 01-459 AQUEOUS WIPE CLEANER | 71410 | CoMat 01-459 | ||
| CoMat 02-099 LINT-FREE CLOTH | LOCAL | CoMat 02-099 | ||
| CoMat 07-028 CHROMATE CONVERSION COATING FOR ALUMINUM | LOCAL | CoMat 07-028 | ||
| CoMat 05-020 WATERPROOF SILICON CARBIDE | LOCAL | CoMat 05-020 | ||
| CoMat 05-021 WATERPROOF SILICON CARBIDE | 44197 | CoMat 05-021 | ||
| CoMat 06-064 FLUORESCENT PENETRANT (WATER WASHABLE MEDIUM SENSITIVITY) | LOCAL | CoMat 06-064 |
Spares
NONESafety Requirements
NONEProcedure
Refer to Figure.
Refer to the SPM TASK 70-35-03-300-501.
The width of the repaired area is to be minimum 30 times the depth.
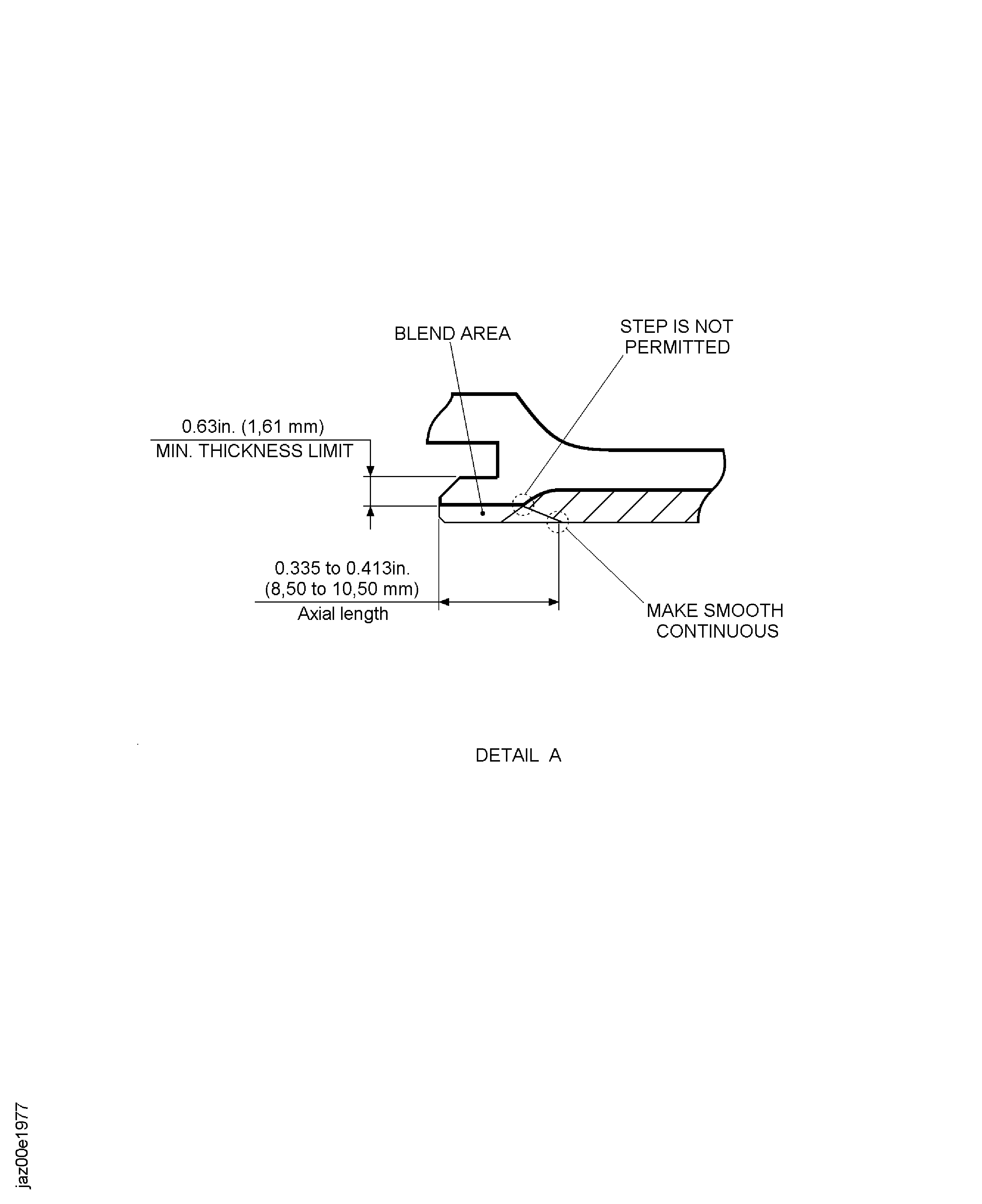
Blend limit per Figure.
If abradable seal is removed with parent material for smooth blending, blend the abradable seal in accordance with Figure.
If the damage can not be removed in accordance with the blend limit, Figure, reject the LPC rear case assembly.
Blend the damaged surface.
SUBTASK 72-32-83-350-053 Blend the Damaged Surface of the LPC Rear Case Assembly (01-650)
Refer to TASK 72-32-83-200-000 (INSPECTION-000).
Visually examine the repaired area.
SUBTASK 72-32-83-220-241 Examine the LPC Rear Case Assembly (01-650)
Refer to the SPM TASK 70-23-05-230-501.
No crack are permitted.
Fluorescent penetrant examine the repaired area.
SUBTASK 72-32-83-230-104 Examine the LPC Rear Case Assembly (01-650) for Cracks
Refer to the SPM TASK 70-11-26-300-503.
Degrease the blended surface with a cloth.
SUBTASK 72-32-83-380-051 Surface treat the Blended Surface of the LPC Rear Case Assembly (01-650)
Figure: Repair Details and Dimensions
Sheet 1

Figure: Repair Details and Dimensions
Sheet 2

