Export Control
EAR Export Classification: Not subject to the EAR per 15 C.F.R. Chapter 1, Part 734.3(b)(3), except for the following Service Bulletins which are currently published as EAR Export Classification 9E991: SBE70-0992, SBE72-0483, SBE72-0580, SBE72-0588, SBE72-0640, SBE73-0209, SBE80-0024 and SBE80-0025.Copyright
© IAE International Aero Engines AG (2001, 2014 - 2021) The information contained in this document is the property of © IAE International Aero Engines AG and may not be copied or used for any purpose other than that for which it is supplied without the express written authority of © IAE International Aero Engines AG. (This does not preclude use by engine and aircraft operators for normal instructional, maintenance or overhaul purposes.).Applicability
All
Common Information
TASK 72-32-83-300-056 LPC Rear Case - Replace The Nut, Repair-056 (VRS1374)
General
Price and availibility - none
The practices and processes referred to in the procedure by TASK numbers are in the SPM.
NOTE
NOTE
Preliminary Requirements
Pre-Conditions
NONESupport Equipment
| Name | Manufacturer | Part Number / Identification | Quantity | Remark |
|---|---|---|---|---|
| Fluorescent Penetrant Inspection Equipment | LOCAL | Fluorescent penetrant inspection equipment | ||
| Drilling machine | LOCAL | Drilling machine | ||
| Vibrating marking pencil | LOCAL | Vibrating marking pencil | ||
| Standard workshop equipment | LOCAL | Standard workshop equipment | ||
| Spatula | LOCAL | Spatula | ||
| Arbor Press | LOCAL | Arbor press | ||
| Drive tool | LOCAL | RPN10DS | 1 |
Consumables, Materials and Expendables
| Name | Manufacturer | Part Number / Identification | Quantity | Remark |
|---|---|---|---|---|
| CoMat 01-124 ISOPROPYL ALCOHOL | LOCAL | CoMat 01-124 | ||
| CoMat 02-099 LINT-FREE CLOTH | LOCAL | CoMat 02-099 | ||
| CoMat 05-016 GARNET PAPER, 80-GRIT | LOCAL | CoMat 05-016 | ||
| CoMat 05-017 GARNET PAPER, 60 GRIT | LOCAL | CoMat 05-017 | ||
| CoMat 06-063 FLUORESCENT PENETRANT (POST-EMULSIFIED MEDIUM SENSITIVITY) | LOCAL | CoMat 06-063 | ||
| CoMat 06-064 FLUORESCENT PENETRANT (WATER WASHABLE MEDIUM SENSITIVITY) | LOCAL | CoMat 06-064 | ||
| CoMat 08-109 RESIN, EPOXY ADHESIVE | LOCAL | CoMat 08-109 | ||
| CoMat 08-110 HARDENER, EPOXY ADHESIVE | LOCAL | CoMat 08-110 |
Spares
| Name | Manufacturer | Part Number / Identification | Quantity | Remark |
|---|---|---|---|---|
| Nut | RPNF250-28SM | 8 |
Safety Requirements
NONEProcedure
Refer to the SPM TASK 70-23-05-230-501.
Use penetrant crack test equipment.
Refer to TASK 72-32-83-200-000.
Do a penetrant crack test on the nut location hole.
SUBTASK 72-32-83-230-103 Examine the Nut Hole of the LPC Rear Case Assembly for Cracks
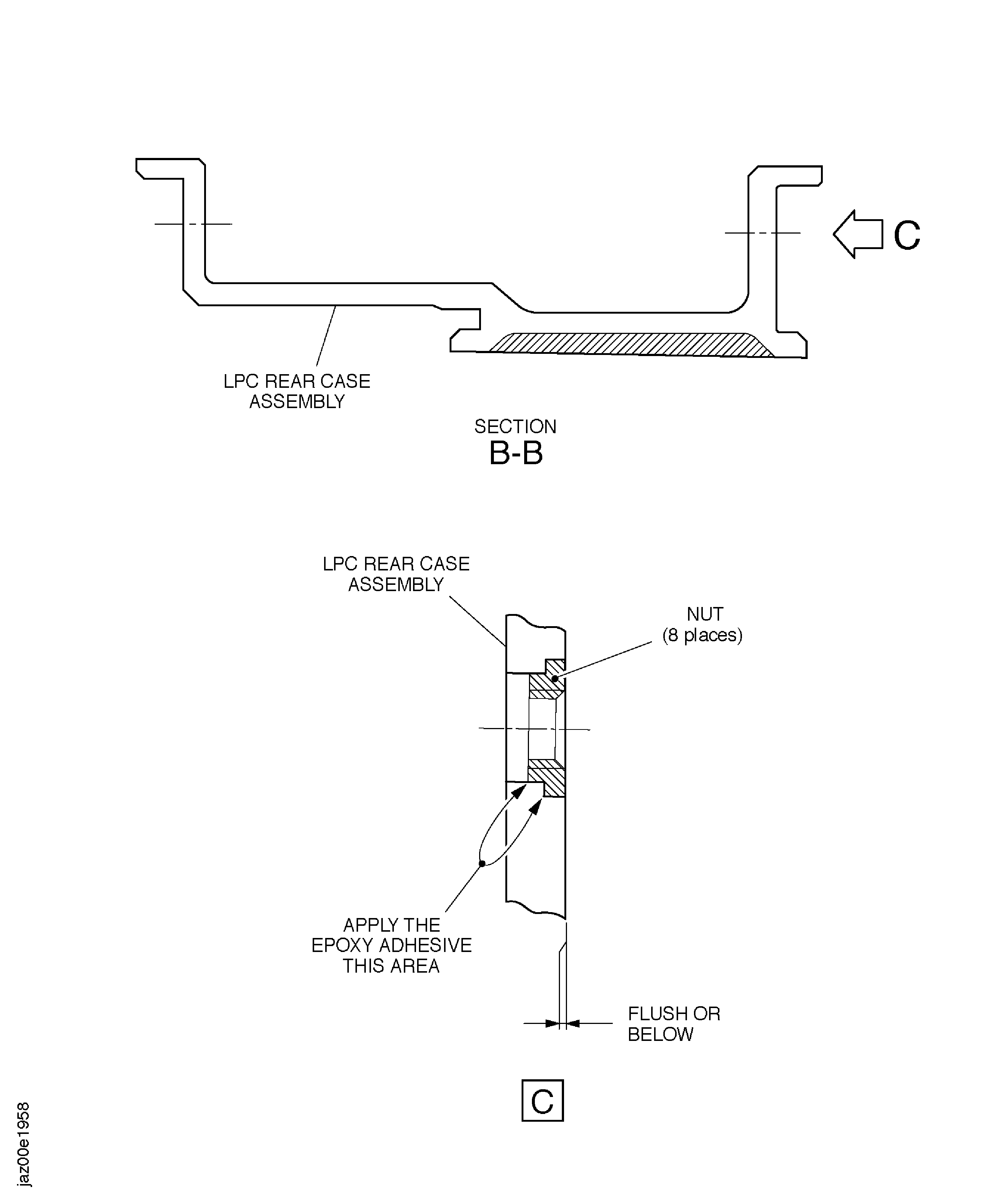
The adhesive is made up from two parts: CoMat 08-109 RESIN, EPOXY ADHESIVE 100 parts by weight. CoMat 08-110 HARDENER, EPOXY ADHESIVE 40 parts by weight. Fully mix the two parts. The pot life of the adhesive is one hour at 68 deg F (20 deg C).
SUBTASK 72-32-83-360-141 Apply and Cure the Epoxy Paste Adhesive
Refer to the SPM TASK 70-09-00-400-501.
Use vibrating marking pencil.
Write VRS1374, adjacent to the part number on the LPC rear case assembly.
Refer to the SPM TASK 70-38-02-300-503.
Apply chromate conversion coating to the marked VRS number.
SUBTASK 72-32-83-350-131 Mark the VRS Number on the LPC Rear Case Assembly
Figure: Repair Details and Dimensions
Sheet 1

Figure: Repair Details and Dimensions
Sheet 2

