Export Control
EAR Export Classification: Not subject to the EAR per 15 C.F.R. Chapter 1, Part 734.3(b)(3), except for the following Service Bulletins which are currently published as EAR Export Classification 9E991: SBE70-0992, SBE72-0483, SBE72-0580, SBE72-0588, SBE72-0640, SBE73-0209, SBE80-0024 and SBE80-0025.Copyright
© IAE International Aero Engines AG (2001, 2014 - 2021) The information contained in this document is the property of © IAE International Aero Engines AG and may not be copied or used for any purpose other than that for which it is supplied without the express written authority of © IAE International Aero Engines AG. (This does not preclude use by engine and aircraft operators for normal instructional, maintenance or overhaul purposes.).Applicability
All
Common Information
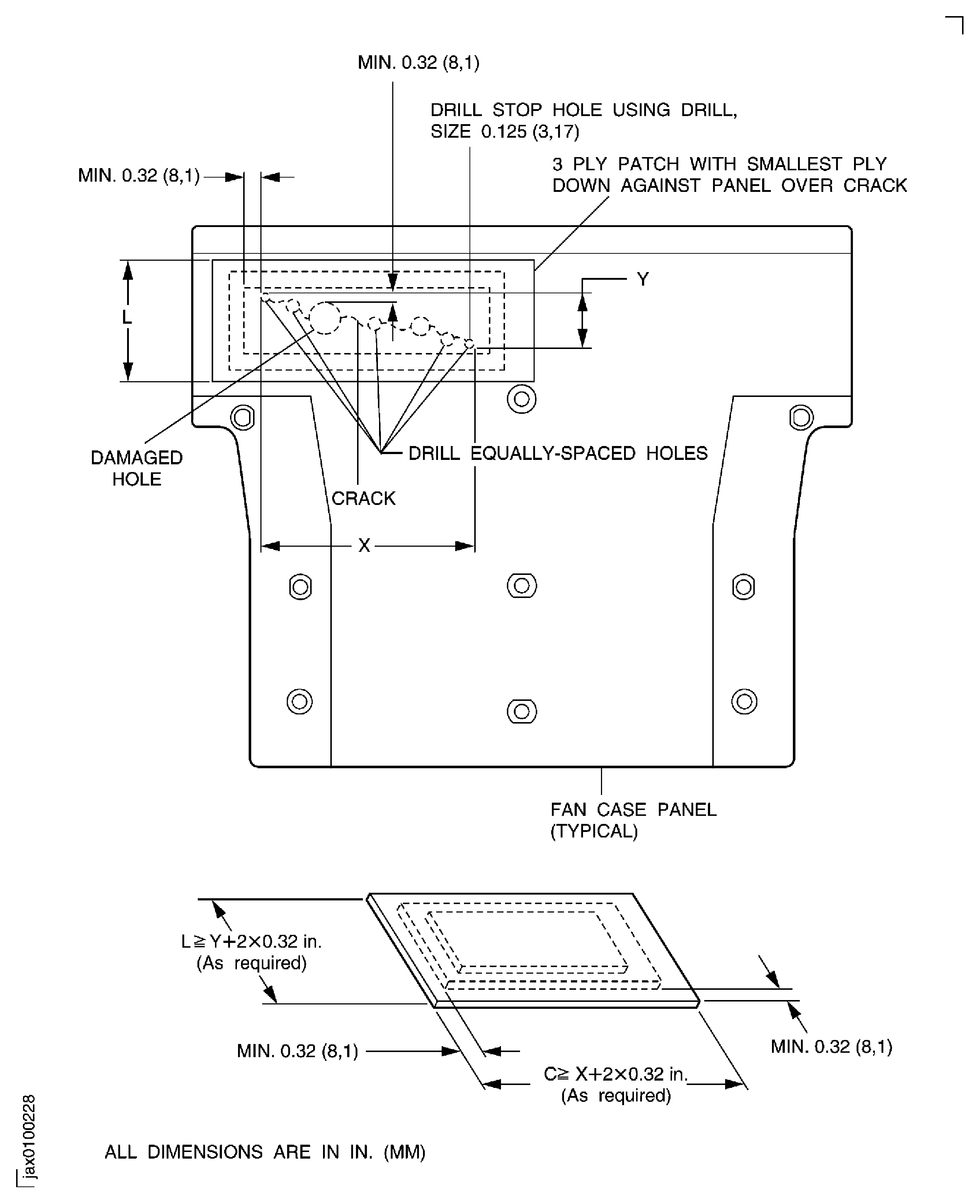
TASK 72-32-87-300-003 Fan Case Rear Liner Panel - Patch Repair The Damaged Hole And/or Crack In The Panel, Repair-003 (VRS1809)
Effectivity
FIG/ITEM | PART NO. |
|---|---|
02-100 | 5A2149 |
02-100 | 5A0258 |
02-100 | 5A0842 |
02-100 | 5A1379 |
02-100 | 5A1743 |
02-100 | 5A0809 |
02-100 | 5A1622 |
02-100 | 5A1089 |
02-100 | 5A1617 |
02-100 | 5A1119 |
02-100 | 5A1680 |
02-100 | 5A1737 |
02-150 | 5A2149 |
02-150 | 5A0258 |
02-150 | 5A0842 |
02-150 | 5A1379 |
02-150 | 5A1743 |
02-150 | 5A0809 |
02-150 | 5A1622 |
02-150 | 5A1089 |
02-150 | 5A1617 |
02-150 | 5A1120 |
02-150 | 5A1680 |
02-150 | 5A1737 |
02-150 | 5A1393 |
02-150 | 5A1725 |
02-150 | 5A1740 |
02-200 | 5A2150 |
02-200 | 5A0259 |
02-200 | 5A0843 |
02-200 | 5A1380 |
02-200 | 5A1744 |
02-200 | 5A0814 |
02-200 | 5A1623 |
02-200 | 5A1090 |
02-200 | 5A1620 |
02-200 | 5A1122 |
02-200 | 5A1681 |
02-200 | 5A1738 |
02-200 | 5A1395 |
02-200 | 5A1726 |
02-200 | 5A1741 |
02-250 | 5A2151 |
02-250 | 5A0844 |
02-250 | 5A1381 |
02-250 | 5A0817 |
02-250 | 5A1091 |
02-250 | 5A1621 |
02-250 | 5A1398 |
02-250 | 5A1727 |
02-250 | 5A1742 |
02-250 | 5A1625 |
02-290 | 5A0815 |
02-290 | 5A1626 |
02-300 | 5A2152 |
02-300 | 5A0260 |
02-300 | 5A0845 |
02-300 | 5A1382 |
02-300 | 5A1745 |
02-300 | 5A0818 |
02-300 | 5A1624 |
02-300 | 5A1091 |
02-300 | 5A1621 |
02-300 | 5A1125 |
02-300 | 5A1682 |
02-300 | 5A1739 |
02-350 | 5A2149 |
02-350 | 5A0258 |
02-350 | 5A0842 |
02-350 | 5A1379 |
02-350 | 5A1743 |
02-350 | 5A0809 |
02-350 | 5A1622 |
02-350 | 5A1089 |
02-350 | 5A1617 |
02-350 | 5A1121 |
02-350 | 5A1680 |
02-350 | 5A1737 |
02-350 | 5A1394 |
02-350 | 5A1725 |
02-350 | 5A1740 |
02-400 | 5A2150 |
02-400 | 5A0259 |
02-400 | 5A0843 |
02-400 | 5A1380 |
02-400 | 5A1744 |
02-400 | 5A0814 |
02-400 | 5A1623 |
02-400 | 5A1090 |
02-400 | 5A1620 |
02-400 | 5A1123 |
02-400 | 5A1681 |
02-400 | 5A1738 |
02-400 | 5A1396 |
02-400 | 5A1726 |
02-400 | 5A1741 |
02-450 | 5A2150 |
02-450 | 5A0259 |
02-450 | 5A0843 |
02-450 | 5A1380 |
02-450 | 5A1744 |
02-450 | 5A0814 |
02-450 | 5A1623 |
02-450 | 5A1090 |
02-450 | 5A1620 |
02-450 | 5A1124 |
02-450 | 5A1681 |
02-450 | 5A1738 |
02-450 | 5A1397 |
02-450 | 5A1726 |
02-450 | 5A1741 |
02-500 | 5A2152 |
02-500 | 5A0260 |
02-500 | 5A0845 |
02-500 | 5A1382 |
02-500 | 5A1745 |
02-500 | 5A0818 |
02-500 | 5A1624 |
02-500 | 5A1091 |
02-500 | 5A1621 |
02-500 | 5A1126 |
02-500 | 5A1682 |
02-500 | 5A1739 |
02-500 | 5A1440 |
02-500 | 5A1727 |
02-500 | 5A1742 |
02-550 | 5A2152 |
02-550 | 5A0260 |
02-550 | 5A0845 |
02-550 | 5A1382 |
02-550 | 5A1745 |
02-550 | 5A0818 |
02-550 | 5A1624 |
02-550 | 5A1091 |
02-550 | 5A1621 |
02-550 | 5A1143 |
02-550 | 5A1682 |
02-550 | 5A1739 |
02-550 | 5A1400 |
02-550 | 5A1727 |
02-550 | 5A1742 |
03-100 | 5A1086 |
03-100 | 5A0807 |
03-100 | 5A1627 |
03-100 | 5A1615 |
03-150 | 5A1086 |
03-150 | 5A0807 |
03-150 | 5A1627 |
03-150 | 5A1615 |
03-200 | 5A1086 |
03-200 | 5A0807 |
03-200 | 5A1627 |
03-200 | 5A1615 |
03-250 | 5A1086 |
03-250 | 5A0807 |
03-250 | 5A1627 |
03-250 | 5A1615 |
03-300 | 5A1086 |
03-300 | 5A0807 |
03-300 | 5A1627 |
03-300 | 5A1615 |
03-350 | 5A1086 |
03-350 | 5A0807 |
03-350 | 5A1627 |
03-350 | 5A1615 |
03-400 | 5A1086 |
03-400 | 5A0807 |
03-400 | 5A1627 |
03-400 | 5A1615 |
03-450 | 5A1086 |
03-450 | 5A0807 |
03-450 | 5A1627 |
03-450 | 5A1615 |
03-500 | 5A1086 |
03-500 | 5A0807 |
03-500 | 5A1627 |
03-500 | 5A1615 |
03-550 | 5A1086 |
03-550 | 5A0807 |
03-550 | 5A1627 |
03-550 | 5A1615 |
General
Price and availability - none
The practices and processes referred to in the procedure by the TASK number are in the SPM.
NOTE
Preliminary Requirements
Pre-Conditions
NONESupport Equipment
| Name | Manufacturer | Part Number / Identification | Quantity | Remark |
|---|---|---|---|---|
| Hand drill | LOCAL | Hand drill | ||
| Oven | LOCAL | Oven | ||
| Mass weighing scale | LOCAL | Mass weighing scale |
Consumables, Materials and Expendables
| Name | Manufacturer | Part Number / Identification | Quantity | Remark |
|---|---|---|---|---|
| CoMat 01-201 DISTILLED, DEIONIZED, DEMINERALIZED, OR REVERSE OSMOSIS (RO) WATER | LOCAL | CoMat 01-201 | ||
| CoMat 01-348 CLEANING SOLVENT | 17534 | CoMat 01-348 | ||
| CoMat 02-018 BRUSH, PAINT | LOCAL | CoMat 02-018 | ||
| CoMat 05-016 GARNET PAPER, 80-GRIT | LOCAL | CoMat 05-016 | ||
| CoMat 05-017 GARNET PAPER, 60 GRIT | LOCAL | CoMat 05-017 | ||
| CoMat 08-047 HARDENER | 0LCV8 | CoMat 08-047 | ||
| CoMat 08-048 RESIN | LOCAL | CoMat 08-048 | ||
| CoMat 08-049 FIBREGLASS CLOTH | K6835 | CoMat 08-049 |
Spares
NONESafety Requirements
NONEProcedure
Refer to Figure.
SUBTASK 72-32-87-323-051 Drill Holes on the Crack
Refer to Figure.
SUBTASK 72-32-87-110-053 Clean the Damaged Area on the Fan Case Liner Panel
Refer to Figure.
SUBTASK 72-32-87-350-051 Prepare the Bond Patches
Measure 100 parts of the CoMat 08-048 RESIN by weight.
Measure 10 to 12 parts of the CoMat 08-047 HARDENER by weight.
NOTE
When mixed the life of the resin mixture is approximately one hour at room temperature.NOTE
It is recommended that the quantity of mixture that you make each time is approximately 3.5 oz (100 gm).Put 3.5 oz (100 gm) of CoMat 08-048 RESIN into a container.
Add between 0.35 and 0.42 oz (10 and 12 gm) of CoMat 08-047 HARDENER and mix them with a spatula.
SUBTASK 72-32-87-350-052 Prepare the Resin Mixture

WARNING
DO NOT GET RESIN MIXTURE ON YOUR SKIN OR IN YOUR EYES. PUT ON PROTECTIVE CLOTHING, GLOVES, GOGGLES AND A FACE MASK. USE THE RESIN IN A WELL VENTILATED AREA; DO NOT BREATHE THE GAS. IF YOU GET THE RESIN ON YOUR SKIN OR IN YOUR EYES GET MEDICAL AID IMMEDIATELY.Refer to Figure.
SUBTASK 72-32-87-350-053 Apply the Resin Mixture onto the Repair Area and the Three Bond Patches
Refer to Figure.
SUBTASK 72-32-87-350-054 Install the Bond Patches on the Repair Area of the Fan Case Liner Panel
Refer to Figure.
SUBTASK 72-32-87-210-051 Examine the Repaired Area
Refer to the SPM TASK 70-09-00-400-501.
Use the ink method.
Make a mark, VRS1809, adjacent to the part number.
SUBTASK 72-32-87-350-055 Identify the Repair
Figure: Fan case liner panel - crack repair
Fan case liner panel - crack repair

