Export Control
EAR Export Classification: Not subject to the EAR per 15 C.F.R. Chapter 1, Part 734.3(b)(3), except for the following Service Bulletins which are currently published as EAR Export Classification 9E991: SBE70-0992, SBE72-0483, SBE72-0580, SBE72-0588, SBE72-0640, SBE73-0209, SBE80-0024 and SBE80-0025.Copyright
© IAE International Aero Engines AG (2001, 2014 - 2021) The information contained in this document is the property of © IAE International Aero Engines AG and may not be copied or used for any purpose other than that for which it is supplied without the express written authority of © IAE International Aero Engines AG. (This does not preclude use by engine and aircraft operators for normal instructional, maintenance or overhaul purposes.).Applicability
All
Common Information
TASK 72-32-88-300-001 Fan Exit Guide Vane - Repair The Surface Damage, Repair-001 (VRS1422)
Effectivity
FIG/ITEM | PART NO. |
|---|---|
06-100 | 5A0037 |
06-100 | 5A0041 |
06-100 | 5A0283 |
06-100 | 5A1363 |
06-300 | 5A0037 |
06-300 | 5A0041 |
06-300 | 5A0283 |
06-300 | 5A0319 |
06-300 | 5A0321 |
06-300 | 5A1363 |
06-500 | 5A0037 |
06-500 | 5A0041 |
06-500 | 5A0283 |
06-500 | 5A0319 |
06-500 | 5A0321 |
06-500 | 5A1363 |
06-700 | 5A0037 |
06-700 | 5A0041 |
06-700 | 5A0283 |
06-700 | 5A0319 |
06-700 | 5A0321 |
06-700 | 5A1363 |
07-100 | 5A0037 |
07-100 | 5A0041 |
07-100 | 5A0283 |
07-100 | 5A1363 |
07-300 | 5A0037 |
07-300 | 5A0041 |
07-300 | 5A0283 |
07-300 | 5A1363 |
07-500 | 5A0037 |
07-500 | 5A0041 |
07-500 | 5A0283 |
07-500 | 5A1363 |
07-700 | 5A0037 |
07-700 | 5A0041 |
07-700 | 5A0283 |
07-700 | 5A1363 |
08-100 | 5A0037 |
08-100 | 5A0041 |
08-100 | 5A0283 |
08-100 | 5A1363 |
08-300 | 5A0037 |
08-300 | 5A0041 |
08-300 | 5A0283 |
08-300 | 5A1363 |
08-500 | 5A0037 |
08-500 | 5A0041 |
08-500 | 5A0283 |
08-500 | 5A1363 |
08-700 | 5A0037 |
08-700 | 5A0041 |
08-700 | 5A0283 |
08-700 | 5A1363 |
09-100 | 5A0037 |
09-100 | 5A0041 |
09-100 | 5A0283 |
09-100 | 5A1363 |
09-300 | 5A0037 |
09-300 | 5A0041 |
09-300 | 5A0283 |
09-300 | 5A1363 |
09-500 | 5A0037 |
09-500 | 5A0041 |
09-500 | 5A0283 |
09-500 | 5A1363 |
09-700 | 5A0037 |
09-700 | 5A0041 |
09-700 | 5A0283 |
09-700 | 5A1363 |
10-100 | 5A0037 |
10-100 | 5A0041 |
10-100 | 5A0283 |
10-100 | 5A1363 |
10-300 | 5A0037 |
10-300 | 5A0041 |
10-300 | 5A0283 |
10-300 | 5A0320 |
10-300 | 5A0322 |
10-300 | 5A1363 |
10-500 | 5A0037 |
10-500 | 5A0041 |
10-500 | 5A0283 |
10-500 | 5A0320 |
10-500 | 5A0322 |
10-500 | 5A1363 |
10-700 | 5A0037 |
10-700 | 5A0041 |
10-700 | 5A0283 |
10-700 | 5A0320 |
10-700 | 5A0322 |
10-700 | 5A1363 |
General
Price and availability - none
The practices and processes referred to in the procedure by the TASK numbers are in the SPM.
NOTE
Preliminary Requirements
Pre-Conditions
NONESupport Equipment
| Name | Manufacturer | Part Number / Identification | Quantity | Remark |
|---|---|---|---|---|
| Cleaning equipment | LOCAL | Cleaning equipment |
Consumables, Materials and Expendables
| Name | Manufacturer | Part Number / Identification | Quantity | Remark |
|---|---|---|---|---|
| CoMat 05-020 WATERPROOF SILICON CARBIDE | LOCAL | CoMat 05-020 | ||
| CoMat 05-021 WATERPROOF SILICON CARBIDE | 44197 | CoMat 05-021 | ||
| CoMat 01-275 CHROMATE CONVERSION COATING FOR ALUMINIUM | LOCAL | CoMat 01-275 |
Spares
NONESafety Requirements
NONEProcedure
Any polish marks must be in radial direction from the vane ID to OD.
The surface finish of the repair area must be the same as the adjacent area.
Refer to the SPM TASK 70-35-03-300-501.
Use abrasive stones or papers and/or fine files.
Scallop, make smooth and/or hand polish to remove nicks, scratches and/or damage.
Remove the minimum amount of material necessary to give correct radius.
Refer to the SPM TASK 70-35-03-300-501.
Hand polish the vane leading and/or trailing edge radius and the vane profile to make a smooth shape.
SUBTASK 72-32-88-350-051 Remove the Damage from the Outlet Guide Vane
Follow inspection procedure as given in TASK 72-32-88-200-000 (INSPECTION-000).
Visually examine the repaired area for nicks, scratches and/or damage, using 10X magnifying glass.
Visually examine the repaired area.
SUBTASK 72-32-88-220-051 Examine the Outlet Guide Vane
Make sure there are no cracks in the repaired area.
Refer to SPM TASK 70-23-05-230-501.
Fluorescent penetrant examine the repaired area.
SUBTASK 72-32-88-230-051 Examine the Outlet Guide Vanes for Cracks
Use a clean cloth which is moist with degreasing fluid and make clean the repaired area.
Refer to SPM TASK 70-11-26-300-503.
Remove the grease.
SUBTASK 72-32-88-110-051 Remove the Grease from the Outlet Guide Vane
Refer to SPM TASK 70-38-02-300-503.
Apply the chemical conversion coating with a brush to the repaired area.
SUBTASK 72-32-88-380-051Apply the Surface Protection to the Outlet Guide Vane
Figure: Outlet guide vane - blend limits
Outlet guide vane - blend limits

Figure: Outlet guide vane - blend limit
Outlet guide vane - blend limit

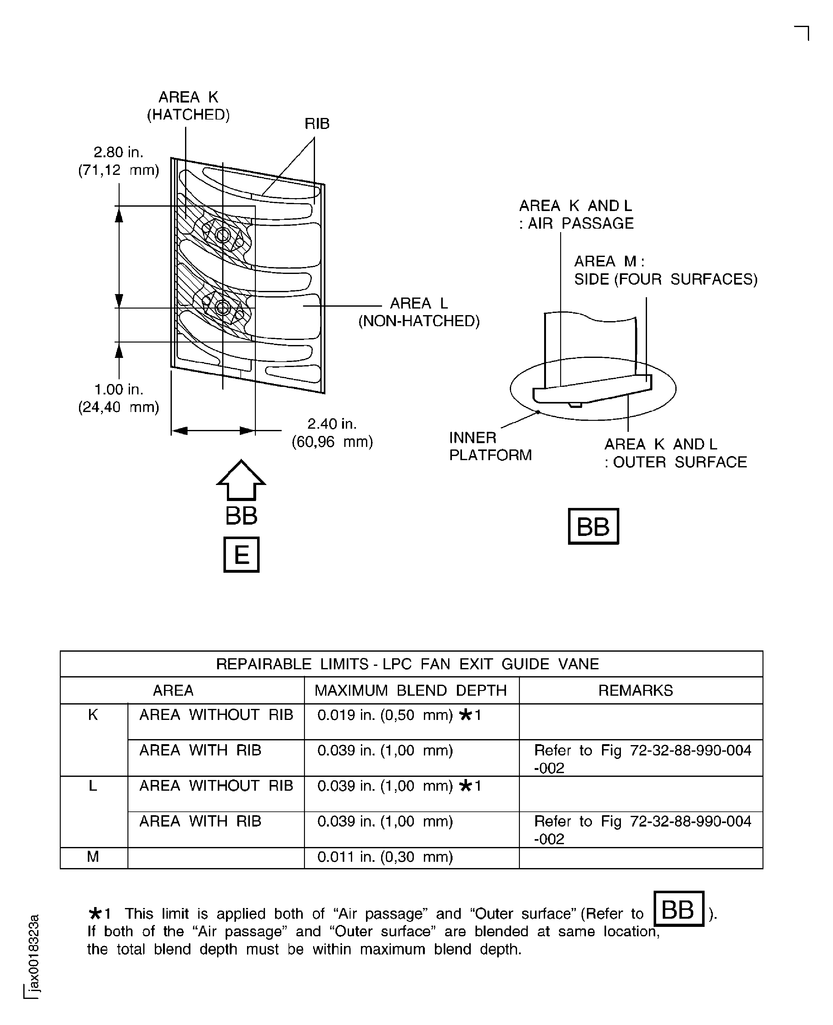
Figure: Fan exit guide vane - blend limits
Sheet 1

Figure: Fan exit guide vane - blend limits
Sheet 2

Figure: Fan exit guide vane - blend limits
Fan exit guide vane - blend limits

