DMC:V2500-A0-72-32-8900-01A-610A-CIssue No:001.00Issue Date:2013-11-01
Export Control
EAR Export Classification: Not subject to the EAR per 15 C.F.R. Chapter 1, Part 734.3(b)(3), except for the following Service Bulletins which are currently published as EAR Export Classification 9E991: SBE70-0992, SBE72-0483, SBE72-0580, SBE72-0588, SBE72-0640, SBE73-0209, SBE80-0024 and SBE80-0025.Copyright
© IAE International Aero Engines AG (2001, 2014 - 2021) The information contained in this document is the property of © IAE International Aero Engines AG and may not be copied or used for any purpose other than that for which it is supplied without the express written authority of © IAE International Aero Engines AG. (This does not preclude use by engine and aircraft operators for normal instructional, maintenance or overhaul purposes.).Applicability
All
Common Information
TASK 72-32-89-300-004 Fan Case Outer Acoustic Transition Liner Panel - Repair Of Vibration Insulation, Repair-004 (VRS1429)
Material of component
RR | ||
|---|---|---|
DESCRIPTION | SYMBOL | MATERIAL |
Doubler | Aluminum alloy | |
Plate | Aluminum alloy | |
Honeycomb | Aluminum alloy |
General
Price and availability
Refer to IAE for any of the followings:
Tools
Engine parts
Repair of spares
This Repair Scheme gives the procedure for bonding vibration isolation.
The practices and processes referred to in the procedure by the TASK number are in the SPM.
NOTE
Special tools are identified in the procedure by the tool primary number.
Preliminary Requirements
Pre-Conditions
NONESupport Equipment
| Name | Manufacturer | Part Number / Identification | Quantity | Remark |
|---|---|---|---|---|
| IAE 3J13051 Spatula former | 0AM53 | IAE 3J13051 | 1 |
Consumables, Materials and Expendables
| Name | Manufacturer | Part Number / Identification | Quantity | Remark |
|---|---|---|---|---|
| CoMat 01-076 METHYL ETHYL KETONE | LOCAL | CoMat 01-076 | ||
| CoMat 05-016 GARNET PAPER, 80-GRIT | LOCAL | CoMat 05-016 | ||
| CoMat 08-013 COLD CURING SILICONE COMPOUND | LOCAL | CoMat 08-013 |
Spares
NONESafety Requirements
NONEProcedure
Use knife, spatula or trowel. Use CoMat 05-016 GARNET PAPER, 80-GRIT.
Remove defective insulation rubber.
SUBTASK 72-32-89-350-052 Prepare Areas of Damage
Refer to the SPM TASK 70-36-02-360-501.
Put silicone compound in place.
Use IAE 3J13051 Spatula former 1 off.
Shape vibration insulation.
SUBTASK 72-32-89-360-053 Apply Silicone Compound
Refer to TASK 72-32-89-200-000.
Do a visual inspection.
SUBTASK 72-32-89-220-058 Examine the Repaired Area
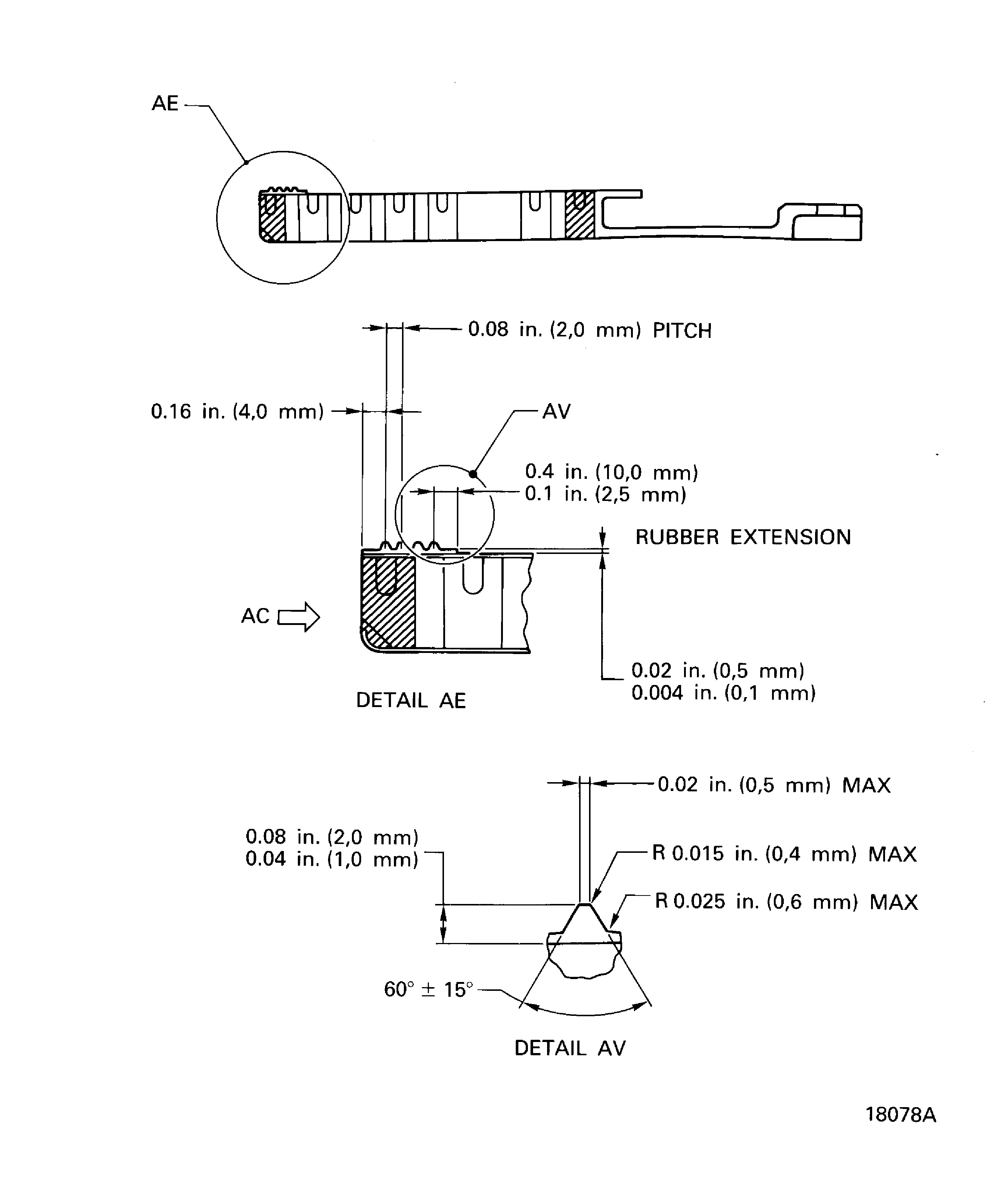
Figure: Vibraction insulation
Vibraction insulation

Figure: Vibration insulation
Vibration insulation

